Firearms and Ammunition Patent Grants

Weekly firearms and ammunition patent grants.

May 19, 2026

US12631431 - Fuse assembly and method for assembling the same

A fuse assembly that includes a low energy exploding foil initiator (LEEFI) located in a housing thereof. The LEEFI is supported in the housing by a sleeve made of a compliant material that protects the LEEFI by dampening shocks and vibrations applied to the housing. At least a portion of the LEEFI is press-fit into the sleeve such that an interference fit exists between an outer cylindrical wall of the LEEFI casing and in inner wall of the housing. The sleeve includes a latch assembly at one end having a plurality of tabs that are circumferentially spaced-apart from one another. Each of the plurality of tabs includes a cantilever beam having a head, the head including a bottom surface pressed against a top surface of the external annular flange of the LEEFI casing.

fuse exploding initiator military
May 19, 2026

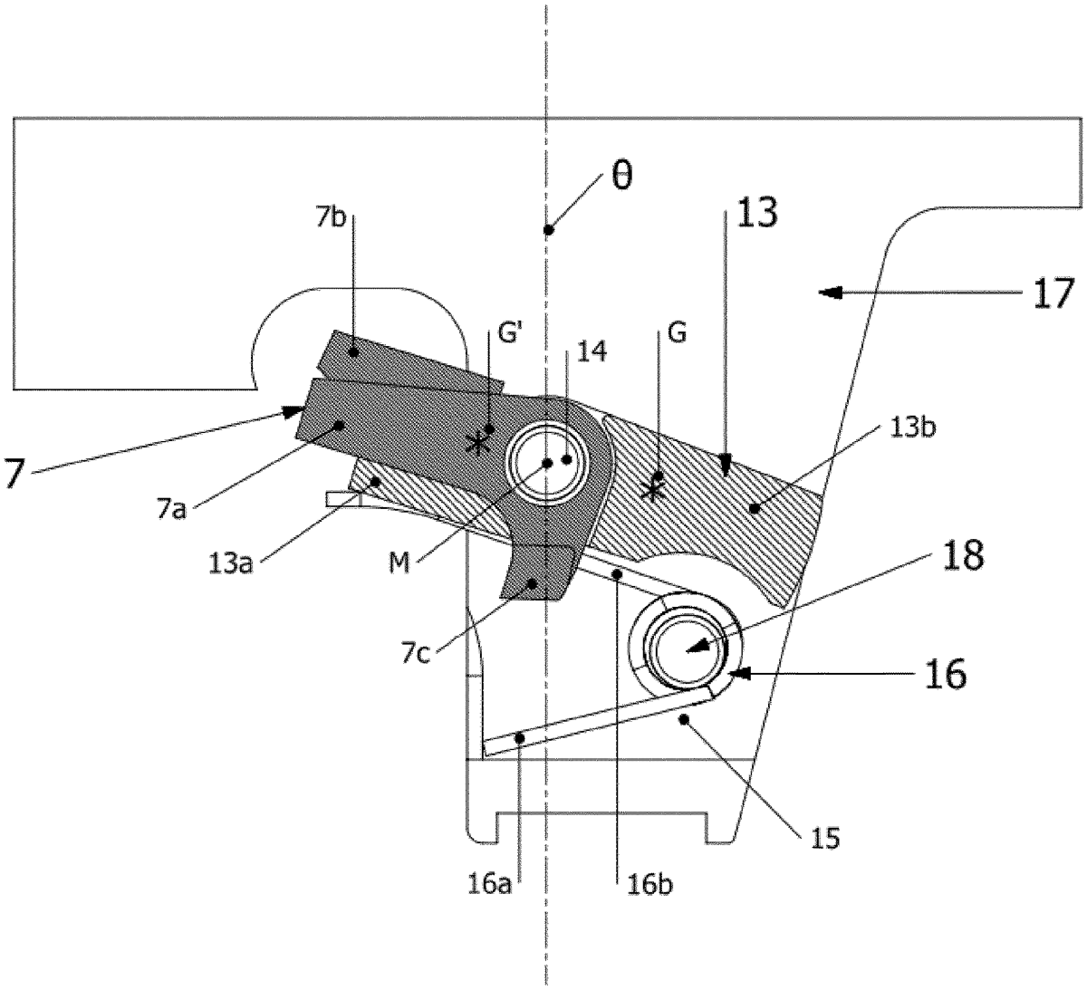
US12631432 - Deployable flap for high-g maneuvers

A tail for a projectile includes a body having a longitudinal axis. A steering assembly is secured to the body. The steering assembly includes a flap movable from a first position in which the flap does not extend radially beyond the body to a second position in which the flap extends radially beyond the body and at an angle relative to the longitudinal axis, and a flap release mechanism. A projectile including a tail according to the present disclosure is also provided.

projectile flap steering mechanism
May 19, 2026

US12631433 - Rotational alignment system

Techniques are provided for rotational alignment of platform sections. An aeronautical platform implementing the techniques according to an embodiment includes a first section; a second section comprising a threaded interface; and a threaded retainer disposed around an end of the first section, that is be coupled to the second section. The threaded retainer is configured to rotate about a longitudinal axis of the first section while rotationally advancing into the threaded interface of the second section. The platform also includes a plurality of alignment pins disposed on the end of the first section and a plurality of alignment holes disposed on the second section. Each of the alignment pins is configured to engage with a corresponding one of the alignment holes to maintain alignment of the first section to the second section as the threaded retainer rotationally advances into the threaded interface.

May 19, 2026

US12631435 - Unmanned apparatus for neutralizing explosive threats located above and below water

An explosive ordnance disposal (EOD) apparatus enables a human operator to deliver an EOD neutralization tool via an unmanned vehicle to a target attached to a ferrous or non-ferrous surface, position the tool to the target, fix the neutralization tool in place, and activate the neutralization tool, all remotely so that the human operator is not in danger. The unmanned vehicle disengages from the remainder of the EOD apparatus prior to neutralizing the target so that the unmanned vehicle is not damaged or destroyed. The EOD apparatus includes a flexible web interface that positions a tool holder ring containing the EOD neutralization tool onto the target before finally fixing the EOD neutralization tool into place against a ferrous or non-ferrous surface.

explosive ordnance disposal unmanned
May 19, 2026

US12631868 - Film through scope camera mount system

Systems and methods are described which provide a film through scope camera mount including a housing that includes a beam splitter, first and second mirrors, and a sensor. The camera mount system may receive an input optical signal from a first direction; split the input optical signal using the beam splitter such that a first portion of the input optical signal may be communicated out of the camera mount system in a second direction and a second portion of the input optical signal may be reflected lateral to the first direction; reflect the reflected signal vertically using the first mirror; reflect the vertically reflected signal in a second lateral direction using the second mirror; and receive the signal reflected by the second mirror in the sensor, which may comprise a visible light sensor and/or an infrared sensor.

camera mount scope optics
May 19, 2026

US12632431 - Electronic threat assessment system

A system for assessing threats includes a method of detecting a physical location of the system, establish a connection to at least one database, scanning a proximate area, prioritizing a plurality of identified objects, comparing data for at least one of the identified object to data from the at least one database, and outputting at least one notification.

May 19, 2026

US12633016 - Enhanced picture-in-picture

A wide field-of-view (FOV) image ( 121 ) is generated based on obtained optical data for display. A first magnified image ( 131 ) from a first region of the wide FOV that includes a center of a reticle ( 122 a ) is generated. A display of the first magnified image overlapping a first portion of the wide FOV image is initiated. An indication to adjust the first magnified image is received. A second magnified image ( 152 ) from a second region of the wide FOV image that is offset from the center of the reticle is generated. Display of the second magnified image overlapping a second portion of the wide FOV image is initiated.

May 19, 2026

US12633719 - Laser beam device with coupling of an illuminating laser beam into an effective laser beam

The invention relates to a laser beam device for generating an effective laser beam and an illuminating laser beam, having a coupling element for coupling the illuminating laser beam into a beam path of the effective laser beam. The laser beam device is characterized in that the coupling element has a first sub-region and a second sub-region that is different from the first sub-region, and the effective laser beam, the illuminating laser beam and the coupling element are arranged relative to one another such that the effective laser beam is directed onto the first sub-region and the illuminating laser beam is directed onto the second sub-region, the first sub-region being transparent to the effective laser beam and the second sub-region being designed to reflect the illuminating laser beam in parallel with the effective laser beam.

May 12, 2026

US12623780 - Drone adapter for dropping spoon-based devices

A system and method allowing spoon-based devices to be carried and dropped by a drone. The preferred embodiments are adapted for use with a drone having a retracting drop shaft release mechanism. First and second adapter portions are provided. These clamp around the body of a spoon-based device and hold the spoon-based device. The lower regions of the first and second adapter portions are joined by a pivot joint. The upper regions each include an engagement feature such as an upstanding tang portion. These first and second tang portions are engaged to the drone's release unit.

May 12, 2026

US12623781 - Payload container for unmanned aircraft and associated systems and methods

A payload container includes a nose cone electronics hub assembly, a collar assembly, a canister assembly, and a grid fin system. The nose cone electronics hub assembly has a nose cone housing electronic components in support of flight and detonator systems. The collar assembly includes a collar coupling the nose cone electronics hub and canister together. A canister of the canister assembly houses separate parts when in a shipping configuration that can be attached to an exterior of the payload container in a deployment configuration. A fin assembly facilitates vertical descent of the payload container when dropped from an unmanned aircraft.

unmanned aircraft munition fragmentation
May 12, 2026

US12624498 - Metalized fabric that dissipates and scatters infrared light and methods or making and using the same

A metalized fabric and method for metallization of fabric. The fabric is formed using two threads with different affinities for metallization, but which threads are not metalized prior to forming into the fabric. The threads will typically be woven using an unbalanced weave to provide one side of the fabric with a resultant greater amount of metallization than the other but this is not required. Once the resultant fabric is metalized, it will typically be more suitable for consistent color dying than fabric which was formed from both metalized and unmetallized threads.

May 12, 2026

US12624577 - Lockable gun mount

A lockable gun mount features a stock receiver, a trigger block, and a barrel lock. The stock receiver includes a base, sidewalls, a receiving aperture, and one or more fasteners. The trigger block includes a trigger rod and a wall member. The barrel lock includes a wall member, a hinged door coupled to the wall member, and a locking mechanism configured to secure the hinged door to the wall member. In some examples, the barrel lock further includes a biometric sensor. A cumulative force between the stock receiver, the trigger receiver, and the barrel lock prevents the gun from being removed from the lockable gun mount when secured to a wall or flat surface.

gun mount accessory
May 12, 2026

US12624612 - Inflatable down hole bag

An inflatable down hole bag for insertion into a blast hole, comprising: a sealed inflatable body; a first substance within the sealed inflatable body; a plurality of tablets separated from the first substance within the sealed inflatable body; and a release for allowing the first substance to contact the tablets; wherein the tablets comprise a second substance, and wherein contact between the first substance and the second substance causes an inflation fluid producing reaction within the sealed inflatable body, thereby inflating the inflatable body, wherein the tablets are configured to fragment after contact with the first substance.

inflatable downhole explosive material
May 12, 2026

US12624618 - Detonation module

A detonation module for a perforation tool includes an end that may receive and couple to a ballistic transfer unit of the perforation tool, a detonator, a switch circuit electrically coupled to the detonator, an electrical contact electrically coupled to the switch circuit, and an electrically conductive, compressive member that may couple to the ballistic transfer unit of the perforation tool and form a compressive electrical connection between the electrical contact and the ballistic transfer unit. The electrical contact is disposed between the detonator and the electrically conductive, compressive member.

detonation perforation ballistic military
May 12, 2026

US12624769 - Adjustable constant pressure device

An adjustable constant pressure device including a connector, a sealing shaft, and a constant pressure assembly, and a mobile mechanism. The connector includes an axially extended assembly channel. The sealing shaft and the constant pressure assembly are disposed in the assembly channel. The sealing shaft includes a sealing channel and an air outlet communicating with the sealing channel. The constant pressure assembly includes one end axially oriented to the air outlet, and the end is sealed. The constant pressure assembly includes a constant pressure channel. When an air pressure in the constant pressure channel is higher than that in the sealing channel, the constant pressure assembly moves along the assembly channel to seal the air outlet. When the air pressure in the constant pressure channel is lower than that in the sealing channel, the constant pressure assembly moves along the assembly channel to open the air outlet.

May 12, 2026

US12624908 - Break-barrel firearm

The present invention concerns a firearm comprising at least one frame; and a barrel group comprising at least one barrel, the barrel group being mounted in a tilting manner with respect to the frame, wherein the frame houses at least one closing device configured to act between the frame and the barrel group so as to selectively prevent the frame of the barrel group from tilting with respect to the frame, and is characterized in that the closing device comprises at least one pair of clamping elements with longitudinal development independent of each other, the clamping elements being slidably housed inside the frame, each along its own longitudinal development axis; and at least one pair of buffers each coupled to a respective clamping element so as to exert an axial thrust force on the respective clamping element substantially in parallel to and/or substantially along the respective longitudinal development axis.

firearm break-barrel mechanism
May 12, 2026

US12624909 - Firearm buffer systems

A buffer system for a firearm includes a buffer body with an internal passage, a guide rod at least partially disposed in the internal passage such that the guide rod includes a slot, a buffer bumper, an end cap, a magnet attached to the guide rod, and at least one spring. The buffer bumper and the end cap are disposed near a rear end of the guide rod. The magnet creates a force acting on the buffer body.

firearm buffer mechanism
May 12, 2026

US12624910 - Reduced weapon system blowback

A reloading firearm featuring a mechanism to reduce the blowback of toxic propellant gasses towards the warfighter. The reloading assembly acts in plural segments to increase the firing chamber-closed dwell time, while limiting adverse impact to the overall nominal rate of fire. Greater dwell time corresponds with reduced exposure of the warfighter to propellant gasses. Moreover, increasing the dwell time without otherwise altering the firing cycle has the additional effect of delaying the breech opening after the cartridge is fired. This delay in breech opening permits gas pressure at the muzzle, which may be elevated and/or constrained by flash and/or sound suppression, to dissipate before the breech is opened. Accordingly, when the breech opens later in the firing cycle, there is a reduced pressure gradient across the combination of barrel and firing chamber, which reduces a driving force of propellant gasses towards the warfighter via the open breech.

firearm blowback reloading mechanism
May 12, 2026

US12624911 - Firearm receiver assembly with ammunition belt feeding capability and firearm comprising same

A firearm receiver assembly comprises a receiver body, a top cover, and an ammunition advancing mechanism mounted on the top cover. The top cover is pivotably attached at a mounting portion thereof to a mounting portion of a receiver body for enabling the top cover to be pivotable about a top cover pivot axis between an open position and a closed position with respect to the receiver body. The top cover pivot axis extends parallel to a bore axis of the receiver body.

firearm receiver ammunition mechanism
May 12, 2026

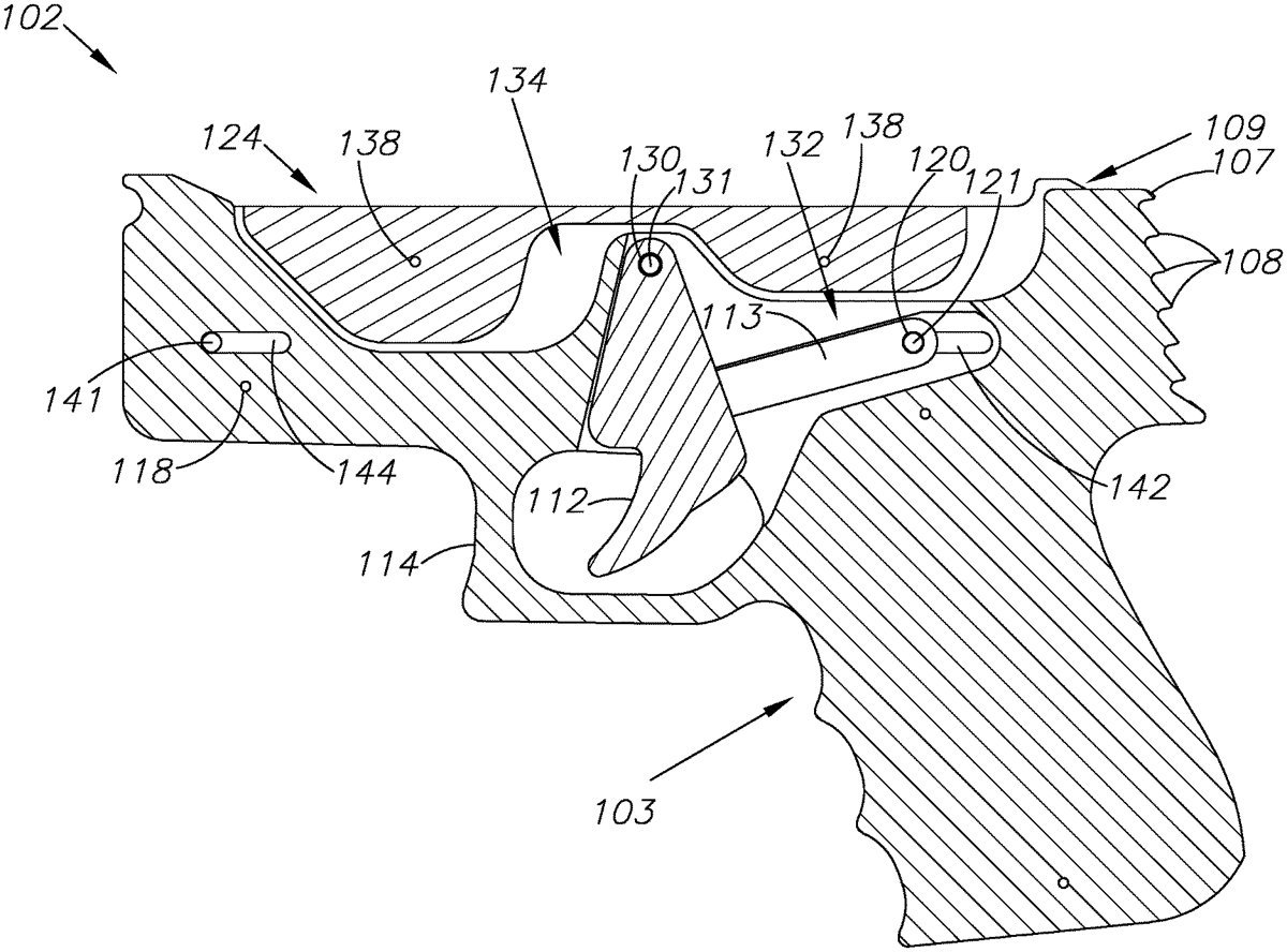
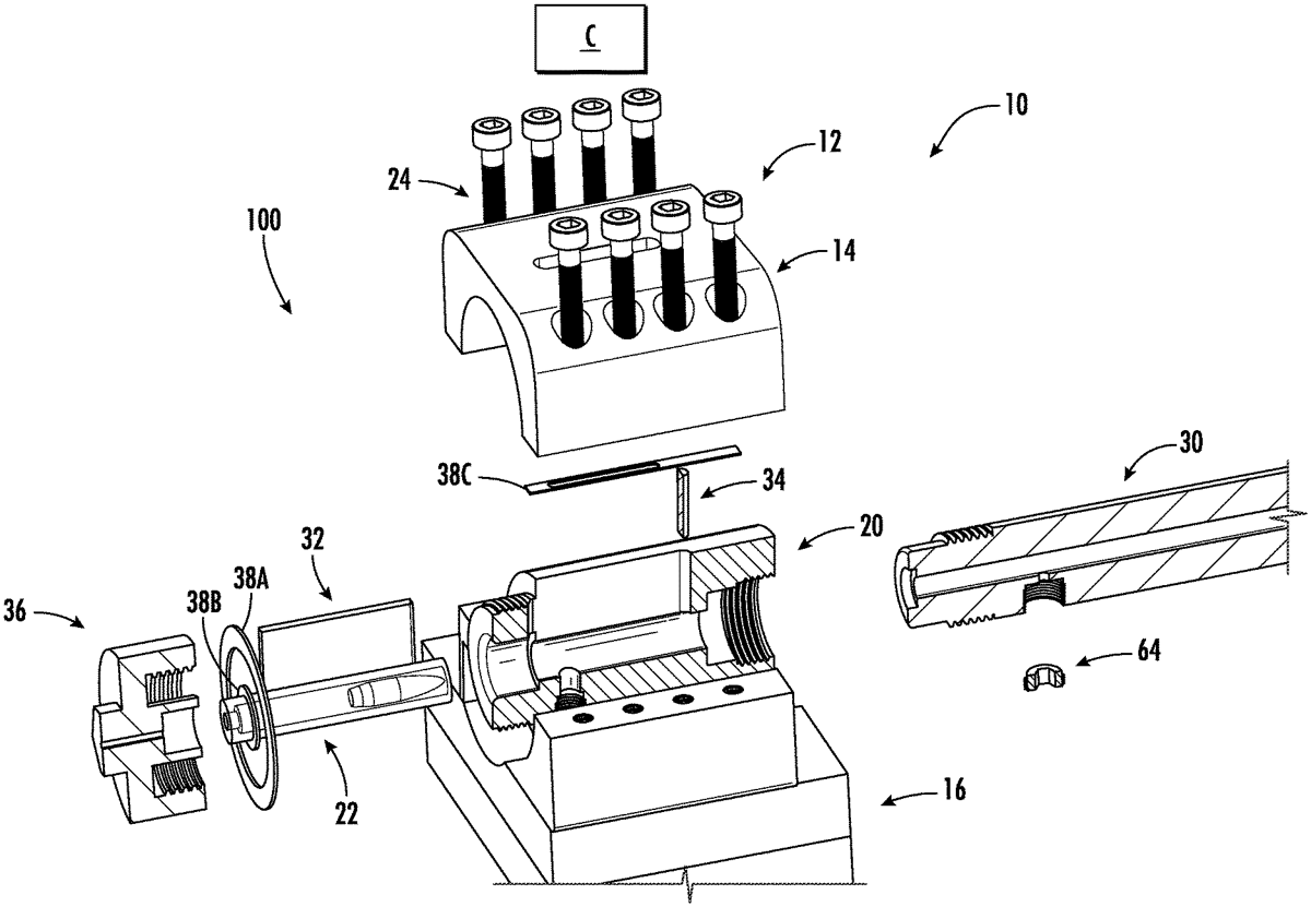
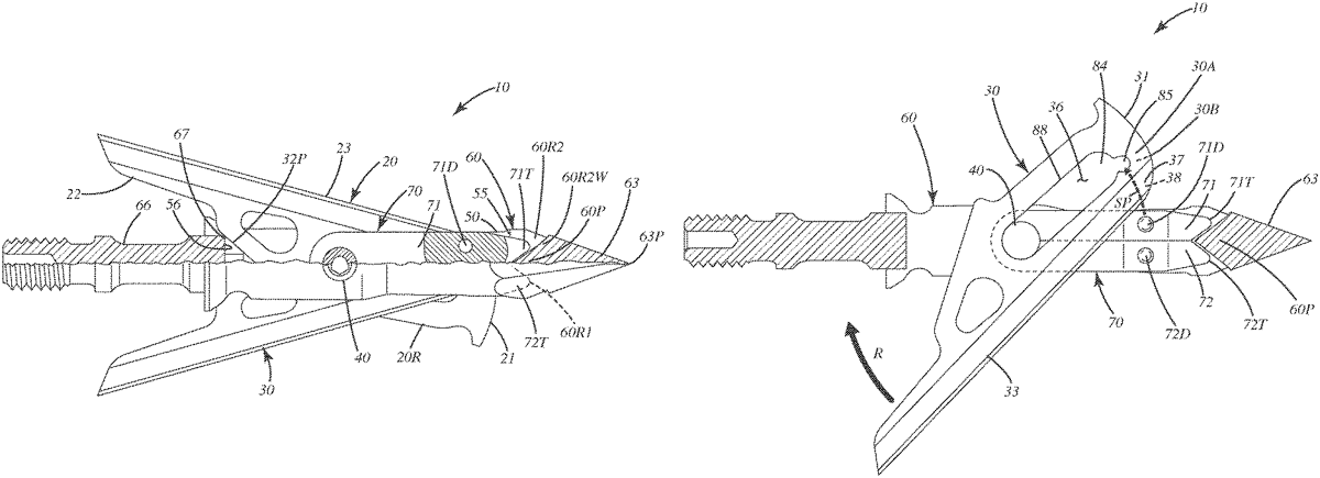
US12624912 - Slide assembly for a firearm, as well as an indicator for use in the slide assembly, and a firearm comprising the slide assembly, and a method for assembling the slide assembly

The invention relates to a slide assembly ( 2 ) for a firearm ( 1 ), the slide assembly ( 2 ) comprising: a slide ( 5 ); a barrel ( 7 ) with a cartridge chamber ( 21 ); an indicator ( 23 ) for indicating whether a cartridge ( 22 ) may be loaded in the cartridge chamber ( 21 ), wherein the indicator ( 23 ) has a first lever arm ( 24 ) and a second lever arm ( 25 ), wherein a pivot bearing ( 26 ) for pivotably receiving the indicator ( 23 ) in the slide ( 5 ) is formed between the first lever arm ( 24 ) and the second lever arm ( 25 ). The pivot bearing ( 26 ) has a first pin ( 34 ) on a first side ( 33 ) and has a second pin ( 36 ) on a second side ( 35 ) with respect to a transverse direction ( 13 ). The first pin ( 34 ) is received in the slide ( 5 ) in a first pin receptacle ( 38 ) and the second pin ( 36 ) is received in the slide ( 5 ) in a second pin receptacle ( 39 ).

firearm slide assembly indicator
May 12, 2026

US12624913 - Gun magazine spring state indication system and method

A novel system and method for determining when a magazine spring has exceeded a compressive set tolerance and needs to be replaced. The spring includes a visual indicator. The visual indicator is positioned so that it is visible beyond the bottom of the magazine tube when the follower and magazine spring are inserted into the tube and the follower is raised to its uppermost position. The visual indicator is not visible beyond the bottom of the magazine when the spring has exceeded its compressive set tolerance.

gun magazine spring indicator
May 12, 2026

US12624914 - Weapon usage monitoring system having predictive maintenance and performance metrics

A method for initiating a responsive action based on an operational status event of a firearm is provided. The method can include receiving, by an event detection module, acceleration and rotation input signals from an inertial measurement unit configured on the firearm. An occurrence of an operational status event based on the acceleration and rotation input signals are identified by the event detection module. A tipping signal is generated by the event detection module based on the identified operational status event. The tipping signal is received at a responsive infrastructure. The responsive infrastructure performs a responsive action based on the tipping signal.

firearm monitoring system performance
May 12, 2026

US12624915 - Suppression device with purposely induced porosity for firearm

A suppression device includes a body including an outermost external surface of the suppression device, a first end, and a second end; a core configured to be inserted into the body and including a baffle; and a bore extending completely through and along a longitudinal axis of the suppression device, wherein porosity is a fraction of a volume of pores per volume of mass in a material of the suppression device, a structure of the pores is not random, and the porosity of a portion of the core including the baffle is different than the porosity of a portion of the body.

firearm suppressor device
May 12, 2026

US12624916 - Dry fire device using sound detection

A dry fire device includes a housing, and a weapon-usage activation assembly, which includes a microphone, a controller and a memory. The microphone is configured to sense a sound during use of the dry fire device, and the controller is configured to extract amplitude and frequency data of the sound and compare it to a range of values stored in the memory. If the sensed sound is in the range, the controller is configured to command the weapon-usage activation assembly to initiate a weapon-usage activity, and if not in the range, no weapon-usage activity is initiated.

dryfire device sound detection
May 12, 2026

US12624917 - Hybrid stabilizer rod

A hybrid stabilizer rod preferably includes a stabilizer tube, a first end cap and a second end cap. The stabilizer tube preferably includes a base tube, a first carbon fiber sheet and a second carbon fiber sheet. The first carbon fiber sheet includes a plurality of parallel fibers. The second carbon fiber sheet includes a plurality of first and second fibers. The first carbon fiber sheet is wrapped around the base tube. The second carbon fiber sheet is wrapped around the first carbon fiber sheet. The first and second end caps preferably include a thin head formed on a first end of a cap body and a tapered bore formed in a second end of the cap body. A threaded tap is formed in the first end of the cap body. An outer perimeter of cap body is sized to be received by an inner perimeter of the base tube.

stabilizer rod firearm accessory
May 12, 2026

US12624918 - End cap adapter for baton

An adapter for a cylindrical end cap of a multi-section locking baton. The adapter has a non-cylindrical outer side surface thereby providing the end of the baton with a non-cylindrical outer side configuration, such as a wedge shape or a domed shape.

baton adapter self-defense
May 12, 2026

US12624919 - Front-opening handgun holster

A handgun holster is provided herein which permits the removal of the handgun through the front of the holster as opposed to the traditional vertical removal of the handgun from the holster. The handgun holster comprises a housing having an internal cavity. The housing is defined by two parallel sidewalls which are a fixed distance apart, a fixed rear spacer wall and a front hinged spacer wall. The handgun can be removed from the holster when a person is in a seated position and/or in a more natural motion. This allows the handgun to be more readily produced for use in situations where a user may be in a vehicle, a tight space, or when the holster is mounted horizontally. The hinge is kept closed with sufficient pressure being provided by torsion springs in a hinge mechanism. However, the front hinged spacer wall can be moved to an open position by lifting the gun into a frontal position.

holster handgun accessory
May 12, 2026

US12624920 - Single armament control unit

A Single Armament Control Unit (SACU) that operates a single missile tube as opposed to multiple tubes. The SACU provides for interlock pin and umbilical depression from the housing on the rotation of a single crankshaft controlled by a single motor where the rotor of the motor and the rotational axis of the crankshaft are generally parallel to the missile tube.

missile control unit
May 12, 2026

US12624921 - Firearm sighting device and system

A targeting device for a firearm having a sighting device, the targeting device having a mount capable of being secured to the fire arm, and a camera capable of capturing images in a field of view including the sighting device, the camera being adjustable relative to the sighting device such that it can be aligned with the sighting device.

firearm sighting device camera
May 12, 2026

US12624922 - LED emergent light adjusting mechanism and inner-red-dot aiming device therefor

An LED emergent light adjusting mechanism and an inner-red-dot aiming device therefor, wherein the LED emergent light adjusting mechanism comprises a vertical adjusting assembly and a horizontal adjusting assembly; the vertical adjusting assembly comprises an up-and-down adjusting sliding block, a vertical adjustment screw and two vertical adjustment spring sets arranged on two sides of the vertical adjustment screw; a nut member and a spring guiding and limiting column set are fixed at the bottom of a rear end of the up-and-down adjusting sliding block; the horizontal adjusting assembly comprises a left-and-right sliding block, a return spring, a vertical spring ejector pin assembly, a horizontal spring ejector pin assembly, a horizontal adjusting screw coupled with the other end of the left-and-right sliding block by means of a square nut, and an LED chip assembly arranged on a front end surface of the left-and-right sliding block.

firearm ammunition accessory sighting
May 12, 2026

US12624923 - Controller for and method of controlling a counter measure system

A controller for a counter measure system against unmanned aerial vehicles (UAVs) includes a display device and a processor configured to receive target position data of a target UAV, effector position data of at least one counter measure effector, and effector orientation data of the at least one counter measure effector relative to geographic cardinal directions. The processor is also configured to determine a field of effect of the at least one counter measure effector on the basis of the effector position data and the effector orientation data. The field of effect is indicative of an area covered by electromagnetic radiation emitted, in use, by the at least one counter measure effector. The processor is further configured to generate a display signal for displaying, on the display device, the position of the target UAV with respect to the field of effect of the at least one counter measure effector.

countermeasure uav defense military
May 12, 2026

US12624924 - Method, fire control system and combat system for simultaneous detonation of projectiles

A method for simultaneous blasting of projectiles includes i.) calculating the position of the target, ii.) estimating the target's position, iii.) firing a first projectile at the target, iv.) firing a second projectile at the target, v.) braking the first projectile with a braking device arranged in the projectile, and vi.) detonating the projectiles in a coordinated fashion based on an initiation signal. A fire-control system for directing fire against a target comprising at least one sensor, in order to measure the position of the target as a function of time, and a combat system including a firing device are also provided.

firecontrol projectiles detonation military
May 12, 2026

US12624925 - Hinged scope ring

A scope ring for attaching a rifle scope to a mounting rail of an armament includes a lower component that is attached onto the mounting rail and an upper component that is fastened to the lower component to define and extend along an outer perimeter of a scope ring through-hole that receives and holds the scope. The upper component member extends at least one hundred eighty (180) degrees along the perimeter but is constructed to enable a scope to be received into the scope ring or be removed from the scope ring if the scope ring extends more than one hundred eighty (180) degrees to present a slimmer profile. The upper component can be attached to different compatible lower components that enable the scope ring to define different scope ring heights.

scope firearm accessory mounting
May 12, 2026

US12624926 - Vest comprising armor, flotation and camouflage elements

A vest includes buoyancy characteristics and armor for personal protection incorporated with a level of ballistic protection. The vest provides permanent positive buoyancy and ballistic protection elements. The vest is made from a textile material that provides camouflage against infrared radiation and hides the wearer's thermal signal. Graphene printed patterns are included to dissipate heat.

vest armor ballistic protection
May 12, 2026

US12624927 - Boltless viewport assembly for a ballistic shield

A boltless viewport assembly for a ballistic shield can include a piece of ballistic glass; a body side viewport retention sleeve, a ballistic glass holder sleeve, and a strike face side ballistic glass holder retention sleeve. The body side viewport retention sleeve can include a body side flange and an aperture insertion portion. The ballistic glass holder sleeve can include an aperture sleeve portion and a ballistic glass nest portion. The strike face side ballistic glass holder retention sleeve can include a strike face side flange. The ballistic glass can be placed in the ballistic glass holder sleeve, and the body side viewport retention sleeve can be attached to the ballistic glass holder sleeve. The strike face side ballistic glass holder retention sleeve can be attached to the ballistic glass holder sleeves.

ballistic shield viewport assembly
May 12, 2026

US12624928 - Explosively formed active water barrier RPG protection system and method for maritime vessels

Disclosed is a method and system to provide protection for maritime vessels from multiple threat types including shoulder launched rocket propelled threats, ballistic (howitzer), and larger scale missile systems. According to an exemplary embodiment, the protection system is based on the ballistic launch (from the protected vessel) of an explosive charge(s) aimed ˜5 meters away from the vessel and ˜1 meter beneath the waterline followed by detonation to enable the formation of a water wall. Through the formation of a water wall, incident threats can be initiated (piezo fuze) and passivated through dynamic interaction with the water formation. In addition, the upward velocity of the water wall can enable an upwards rotation of the incident threat changing the orientation of the warhead jet formation (for shape charge warheads) above the vessel.

defense military explosive protection
May 12, 2026

US12624929 - Self-defense devices and related methods

Self-defense devices and related methods are disclosed herein. The self-defense devices are configured to be utilized by a user for protection from an aggressor and include at least one offensive component and at least one of a recording component and a communication component. In some examples, the self-defense devices include more than one offensive component and/or more than one offensive subcomponent. The offensive component may be configured to be selectively actuated to incapacitate the aggressor. The recording component may be configured to selectively record a local environment that is proximate the self-defense device. The communication component may be configured to provide wireless communication between the user and a remote location. The methods include methods of utilizing a self-defense device for protection from an aggressor and include at least one of recording a local environment that is proximate the self-defense device, communicating with a remote location, and incapacitating the aggressor.

self-defense offensive-component communication recording
May 12, 2026

US12624930 - Sports shooting target and a launching head and corresponding device

A launching head for launching two or more sports shooting targets is provided, where each target is of a generally disc-shaped configuration. The launching head is of a generally tubular configuration defined by a longitudinally extending rotational axis and includes an outer circumferential support surface portion formed to fit into and support the respective targets. The launching head is provided with a plurality of retaining claw members configured to be able to pivot in a plane containing the longitudinal axis and pivot an angle relative to a plane extending perpendicularly to the longitudinal axis. A launching device applying the launching head to a sports shooting target is also provided.

target launching sports shooting
May 12, 2026

US12624931 - Device and method for robotised priming

The present disclosure relates to a robotic priming device for an explosive priming process. One aspect includes at least one initiator dispenser, each comprising a plurality of initiator racks containing a plurality of initiators. Each initiator dispenser includes one or more initiator discharge wheels that discharge the initiators onto an initiator cart. The device includes at least one detonating assembly dispenser, each comprising a plurality of detonating assembly racks containing a plurality of detonating assemblies. Each detonating assembly dispenser comprises one or more detonating assembly unloading wheels that unload the detonating assemblies onto a detonating assembly cart. The device includes a meeting and priming line with a meeting and priming zone. The detonating assembly cart locates the detonating assemblies in the meeting and priming zone. The initiator cart moves the initiators to the meeting and priming zone, and inserts the initiators into the detonating assembly to form an explosive primer.

explosives priming detonators
May 12, 2026

US12624933 - High kinetic energy hollow bullet

The present invention relates to an innovative hollow bullet design, which fundamentally diverges from conventional solid bullet configurations. This design encompasses a brass casing, gun powder, a plastic wad, and a distinctively structured nozzled projectile. The nozzled projectile features a hollow portion that starts wider at the proximal end and narrows towards the distal end, ingeniously manipulating airflow to enhance kinetic energy during flight. This unique aerodynamic efficiency potentially increases impact force and stability over extended distances. The bullet maintains standard size and weight, ensuring compatibility with existing firearms, and offers significant improvements in performance for both civilian and military applications.

bullet ammunition hollow kineticenergy
May 12, 2026

US12624934 - Hand-throwable effect-producing body with a manually graspable housing body and method for operating a hand-throwable effect-producing body

A hand-throwable effect-producing body with a manually graspable housing body, a manually operable triggering device having a spring-loaded impact body, an ignition device initiatable by the triggering device and comprises an ignition charge, a delay device is initiatable by the ignition device and comprises a delay charge and a delay line, and a main charge configured to be initiated directly or indirectly by the delay charge. The impact body is configured to be manually moved along the longitudinal axis thereof counter to a spring force into a preloaded position and to be releasably arrested there and to be released by manually operating a triggering element of the triggering device, such that it can shoot out of its preloaded position along the longitudinal axis against an axial stop and thereby initiate the ignition charge.

effect-producing hand-throwable ignition triggering
May 12, 2026

US12624935 - Systems and methods for selectively disabling electrical and mechanical devices

Various types of structures, along with associated systems, are disclosed herein and configured for responding to an energy wave for changing a state of a mechanism to which said structures are operatively coupled. In at least one embodiment, the structure provides a material selectively changeable upon exposure to the energy wave to cause at least a portion of the material to mechanically degrade from a first state to a second state. When the material is in the first state, the material forms a mechanical or electrical link with the mechanism such that a force or an electrical current can be transmitted through the structure. When the material is in the second state, degradation of at least the portion of the material disrupts the mechanical or electrical link and inhibits transmission of the force or electrical current through the structure.

May 12, 2026

US12624936 - Separating primer cup of a propulsion module for a conducted electrical weapon

A conducted electrical weapon (“CEW”) deploys wire-tethered electrodes after generation of an ignition signal. The ignition signal is provided to a deployment unit. The deployment unit includes a primer material adjacent a conductor. The conductor conducts the ignition signal outside the primer material. A temperature of the conductor increases in response to receiving the ignition signal. The primer material ignites in response to the increase in temperature of the conductor.

conducted electrical weapon primer
May 12, 2026

US12624937 - Method of managing a blast system

A blasting system ( 10 ) wherein a test through-the-earth signal of predetermined strength is sent from a defined position and the strength of the signal, as received at each of a plurality of locations ( 24 ) within a blast site, is measured thereby to enable an operative zone ( 56 ) to be defined wherein at any location within the operative zone a fire command through-the-earth magnetic signal, of such predetermined strength, transmitted from the defined position, as received at such location, will have a strength above a threshold signal strength.

May 5, 2026

US12616886 - Structural energy storage with carbon fiber for sport equipment sensor

A sport apparatus, including a handle, an action portion, a connection portion connecting the handle to the action portion, at least part of the connection portion including a structural battery, the structural battery including one or more energy storage devices, each of the one or more energy storage devices having at least one anode core of a continuous carbon fiber, an electrolyte arranged on the at least one continuous carbon fiber core, and a cathode layer coating arranged to the at least one continuous carbon fiber core on the electrolyte, and at least one sensor unit electrically connected to the energy storage devices, the at least one sensor unit providing signals related to use of the sport apparatus.

May 5, 2026

US12617738 - Removing dissolved gasses from propellant compositions

A method for removing a gas from a propellant composition includes providing an uncured propellant composition comprising a bonding agent, energetic particles, and a polymeric binder, and flowing an inert gas through the uncured propellant composition to remove an evolved gas from the uncured propellant composition.

propellant composition method
May 5, 2026

US12618623 - Dynamic ram accelerator system

Dynamic ram accelerator operation permits operation with lower acceleration, permitting launch of acceleration sensitive payloads such as crewed vehicles. Operational cost is reduced, and reliability improved, by reducing or eliminating internal consumable parts. Relative motion between a projectile and propellant at entry to the ram accelerator enables initial ram combustion at relatively lower velocity. Valves may maintain separation between sections within the ram accelerator that contain different propellant compositions. Timing of valve opening and closing is coordinated to provide conditions suitable for ram combustion. Control over propagation speed of propellant within the system may be obtained using one or more of baffle shape, baffle spacing, propellant temperature, propellant pressure, propellant mixture, temperature of components such as baffles, and so forth. Before the projectile is launched, internal separators between sections are removed, providing an open path to the ram accelerator exit.

May 5, 2026

US12618624 - Modular bolt action rifle

The present disclosure presents a modular bolt action rifle system with roller bearings having an upper receiver assembly housing a barrel, a lower receiver assembly comprising an AR-style fire control system and a magazine well, a bolt carrier group assembly including a bolt carrier, top roller bearings and side roller bearings, and a handguard assembly, wherein the lower receiver assembly and its AR-style fire control and magazine well are releasably attached to the upper receiver, and prior to attachment of the barrel assembly the bolt carrier group assembly, consisting of the bolt carrier, bolt head, bolt charging handle, top roller bearings, and side roller bearings is inserted unto the upper receiver. An extension of the barrel assembly is releasably attached to the upper receiver. The barrel assembly is releasably secured by releasable attachment of the handguard assembly to a barrel extension receiver of the upper receiver assembly.

firearm rifle bolt-action modular
May 5, 2026

US12618625 - Compact stock for AR-style firearms

A compact stock for an AR-style firearm includes a receiver extension configured to attach to a lower receiver, a buffer assembly receivable in the receiver extension, a buffer biasing member receivable in the receiver extension, and a buffer locking mechanism. The buffer assembly is configured to reciprocate between a retracted position wherein the buffer assembly is contained within the receiver extension, and an extended position wherein the buffer assembly is in-battery within an upper receiver. The buffer biasing member is configured to bias the buffer assembly toward the extended position. The buffer locking mechanism is configured to selectably retain the buffer assembly and the buffer biasing member within the receiver extension when the buffer assembly is in the retracted position such that the upper receiver is rotatable relative to the lower receiver about a forward take down pin of the firearm unimpeded by the buffer assembly and buffer biasing member.

firearm ar-style stock
May 5, 2026

US12618626 - Charging handle and upper receiver assembly for a firearm

A charging handle assembly for a firearm may include a charging handle body including a handle portion and a shaft portion, a first actuation wing rotatably coupled to the handle portion and configured to rotate about a first rotational axis between a first position and a second position, and a biasing mechanism engaging the first actuation wing and biasing the first actuation wing to the first position. The first actuation wing may include a latch configured to selectively engage an upper receiver assembly of the firearm, and the first actuation wing may have a center of mass disposed along the first rotational axis.

firearm charginghandle mechanism
May 5, 2026

US12618627 - Laser ignition system for large-caliber artillery

The present invention relates to a laser ignition system for a large-caliber artillery, which provides a linear laser beam shape, and the ignition system of the present invention evenly combusts a cylindrical large-caliber artillery propellant with a hollow center in an energy-efficient manner using a laser in longitudinal and radial directions.

artillery ignition laser propellant
May 5, 2026

US12618628 - Forged carbon fiber rifle barrel

A method of forming a carbon fiber rifle barrel may include the steps of heating a barrel core to increase the length of the barrel, placing the barrel core inside a mold and holding the lengthened barrel in place, adding a carbon fiber mix to the mold in which the carbon fiber mix includes a blend of resin and chopped carbon fibers, sealing the mold, curing the carbon fiber mix surrounding the lengthened barrel core in which the cured carbon fiber mix holds the length of the barrel core creating a tension on the cooled barrel core which increases a rigidity of the rifle barrel thereby increasing the accuracy of the rifle barrel, removing the rifle barrel from the mold, and finishing the rifle barrel via grinding to a desired finish.

firearm barrel carbonfiber rifle
May 5, 2026

US12618630 - Modular firearm suppressor

A firearm suppressor that includes a mount configured to connect the firearm suppressor to a barrel of a firearm. The firearm suppressor includes a first module connected to the mount. The interior of the first module is a first chamber and the first module does not include a baffle. The firearm suppressor includes a second module connected to the first module. The second module includes a plurality of baffles and at least one peripheral pathway that bypasses a second baffle of the plurality of baffles by fluidly connecting an exterior of a first baffle of the plurality of baffles with an exterior of an exterior of a third baffle of the plurality of baffles. The firearm suppressor includes an end cap connected to the second module.

firearm suppressor modular
May 5, 2026

US12618631 - Suppressor

A suppressor assembly is disclosed. The suppressor can comprise an outer tube defining a barrel axis, a first endcap configured to couple to a barrel of a firearm at a first end of the outer tube, and a spacer assembly in the outer tube. The spacer assembly can be positioned and/or captured between the first endcap and an exit side of the outer tube. The spacer assembly can comprise a plurality of spacers comprising a plurality of small and large diameter baffles oriented in different desirable positions within the spacer assembly. The baffles and spacers can be constructed from different materials so the weight of the baffles are greater than the weight of the spacers.

suppressor firearm accessory
May 5, 2026

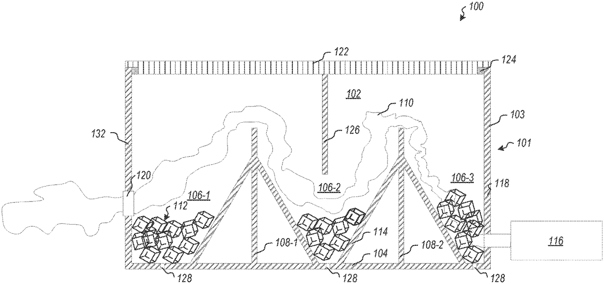
US12618632 - Off-axis serpentine flow chamber for firearm suppressors

A firearm sound suppressor can include an outer housing that defines a bore axis and an inner wall disposed at least partially within the outer housing. The inner wall can be oriented along the bore axis and includes a cylindrical central chamber. An annular chamber can be disposed between the outer housing and the inner wall. At least one helical partition can be disposed in the annular chamber to define at least one interleaved helical pathway through the annular chamber. Each interleaved helical pathway includes a first forward helical segment, a reverse helical segment sharing a first common wall with the first forward helical segment, and a second forward helical segment sharing a second common wall with the reverse helical segment. The first and second common walls can be distinct from one another.

firearm suppressor ammunition