Firearms and Ammunition Patent Grants

Weekly firearms and ammunition patent grants.

May 5, 2026

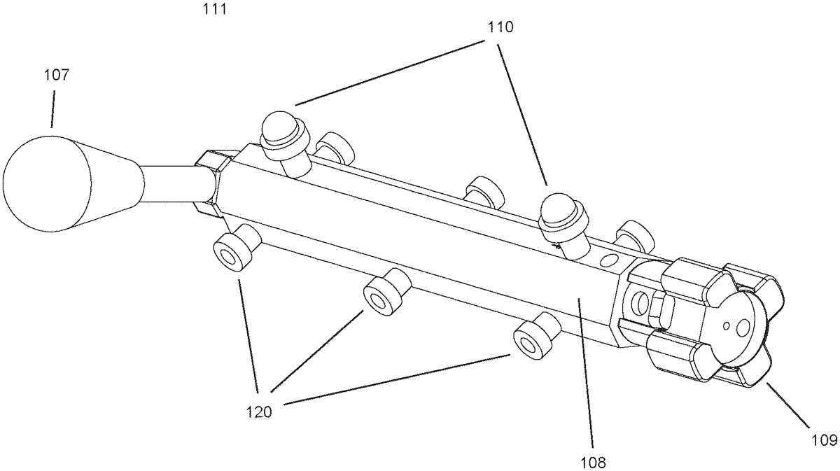
US12618633 - Gun barrel brush

A cleaning tool for ported firearm barrels with integrated suppressors is disclosed. The tool comprises a cylindrical brush housing with an inner cavity to accommodate a barrel brush insert featuring radially extending bristles for removing carbon deposits and debris. A retaining washer and clip secure the brush insert within the housing. The assembly includes a cylindrical handle with internal threading to engage the housing's threaded neck, and an externally knurled surface for improved grip. The brush insert is interchangeable, allowing various cleaning media such as stainless steel, alloy steel, Aluminum, Bronze, Nylon, Brass, Plastic, Polypropylene, rubber, or other metals. The design eliminates the need for firearm disassembly and avoids reliance on the suppressor as a cleaning component, enhancing user safety and preserving firearm integrity. This tool facilitates efficient maintenance of firearms with integrally suppressed systems, promoting reliability and extending the lifespan of the firearm.

firearm cleaning tool maintenance
May 5, 2026

US12618634 - Muzzle flash simulator and method for generating light trail

Disclosed are a muzzle flame simulator and a method for generating a light trail. The muzzle flame simulator includes a projectile passage, a projectile sensor, a controller, and at least one simulating flame light source. The projectile passage is disposed inside the muzzle flame simulator. The projectile sensor is coupled to the controller and configured to send a trigger signal to the controller in response to detecting a projectile passing through the projectile passage. The controller includes a signal generator circuit, which is configured to output at least two preset periodically changing control signals. The controller is configured to start the signal generator circuit in response to detecting the trigger signal. The at least one simulating flame light source is coupled to the controller, the simulating flame light source each at least includes two illuminating components that are configured to periodically emit light based on the control signals.

muzzle simulator light projectile
May 5, 2026

US12618635 - Weapon emulator simulating a muzzle flash

A weapon emulator has a muzzle flash emulator attachment coupled to a first end of a barrel. The muzzle flash emulator attachment includes: a body defining a plurality of slots, a cover disposed in the body, a light source at least partially disposed in the cover, and a circuit coupled to the light source and including a power source and a switch. The switch is transitionable from an open state to a closed state to turn on the light source in response to pulling a trigger. In another embodiment, a muzzle flash emulator assembly includes a magnet operatively aligned with a reed switch. In a further embodiment, a muzzle flash emulator has a member coupled to a barrel and moveable to strike the switch in response to pulling the trigger to transition the switch from the open state to the closed state.

emulator muzzleflash light simulation
May 5, 2026

US12618636 - Archery bow stabilizer

In some embodiments, an archery stabilizer comprises a bar arranged to engage an archery bow. A mount is supported by the bar. The mount comprises a receptacle. A weight is supported by the mount. The weight comprises a coupler engaged with the receptacle.

archery stabilizer non-firearm
May 5, 2026

US12618637 - Muzzle loader

A muzzle loading system includes a ramrod and a muzzle loader. The ramrod includes ramrod body having a ramrod proximal end and a ramrod distal end. The muzzle loader receives the ramrod proximal end, applies a loading pressure to the ramrod, and provides audible and/or haptic feedback in response to the applied loading pressure reaching a target loading pressure.

muzzleloader firearm ammunition
May 5, 2026

US12618638 - Firearm sling connector with a swivel assembly

A firearm accessory connector includes a mount assembly to connect the firearm accessory connector to a firearm; a swivel assembly coupled to the mount assembly and providing for rotation around the mount assembly, the swivel assembly having a swivel sleeve coupled to the mount assembly and to rotate about the mount assembly; and a flexible member coupled to the swivel sleeve and extending from the swivel sleeve, the flexible member to attach to an accessory such that the accessory is coupled to the firearm.

firearm accessory connector swivel
May 5, 2026

US12618639 - Grips for handheld projectile weapons, handheld projectile weapons that include the grips, and associated methods

Grips for handheld projectile weapons, handheld projectile weapons that include the grips, and related methods. The grips include a grip frame, a frame cover, and a fastener. The grip frame includes a frame keyed region, a frame fastener receptacle, and an attachment structure. The frame cover is configured to be operatively attached to the grip frame, to cover a corresponding region of the grip frame, and to at least partially define a grip surface of the grip. The frame cover includes a cover keyed region, which is shaped to slidingly engage with the frame keyed region along an engagement axis. The frame cover also includes a cover fastener receptacle positioned to align with the frame fastener receptacle. The fastener extends through both the frame fastener receptacle and the cover fastener receptacle to resist relative motion between the grip frame and the frame cover.

firearms grips handheld weapons
May 5, 2026

US12618640 - Firearms accessory device

A firearm accessory device removably attachable to a firearm. The accessary device including a finger stop assembly for coupling to a handguard, forestock, barrel or accessory rail of a firearm. The finger stop device may include an illumination device and a power source housed within the device. In embodiments, the device may further include one or more activation devices operably and electrically connected to the illumination device and positioned at an access opening forwardly oriented in a body portion of the device.

firearm accessory illumination
May 5, 2026

US12618641 - Firearm shoulder stock assembly

An adjustable firearm butt stock that is constructed to be secured to a rearward facing end of a firearm receiver assembly. The butt stock defines a plurality of magazine wells that are offset from one another along a longitudinal axis of the stock. Each magazine well opens in a generally downward facing direction and is constructed to removeably cooperate with cartridge magazines that removeable cooperate with the receiver magazine well associated with operation of an underlying firearm. The stock includes discrete magazine catches associated with each of the respective wells and which are operable to selectively secure and/or effectuate storage and/or removal of discrete cartridge magazines from a respective one of the first and second magazine wells defined by the butt stock.

firearm shoulderstock magazinewell
May 5, 2026

US12618642 - Universal holster

A universal holster is disclosed, including a sleeve body and a first adjustable component. The sleeve body has a chamber, and the first adjustable component includes a first bracket, a connecting rod, a movable part and an adjustable part. The first bracket is rotationally connected with respect to the sleeve body and one end of the connecting rod is rotationally connected to the first bracket, a rotational connection point between the connecting rod and the first bracket is eccentric to a rotational connection point between the first bracket and the sleeve body, another end of the connecting rod is rotationally connected to the movable part, the adjustable part is connected with the movable part, and the adjustable part is used to drive the movable part for movement. The universal holster can be suitable to different models of pistols.

holster accessory
May 5, 2026

US12618643 - Handless shoulder-fire firearm carry system

A handless shoulder-fire firearm carry system for securing a shoulder-fire style firearm to a user moving in a walking pace or in a running pace includes a firearm including a frame having a first section, a second section, and a center section. A belt is worn about a waist of the user. An anchor is coupled to the belt and secures the firearm to the belt. A vest is worn on a torso of the user. The vest holds the firearm in a downward position relative to the user. A pair of securing attachments is coupled to the firearm. Each of the securing attachments facilitates securing the firearm to the anchor. The pair of securing attachments includes a first securing attachment facilitating securing the first section of the firearm to the anchor and a second securing attachment facilitating securing the center section of the firearm to the anchor.

firearm carry holster system
May 5, 2026

US12618644 - Aircraft weapons pod including rail launcher

An aircraft comprising a weapons pod including an enclosure mounted to an outer mold line of the aircraft, and at least one missile rail launcher mounted entirely within and fixed to the enclosure.

aircraft weapons missile launcher
May 5, 2026

US12618645 - Scope protector for weapon scope

A scope protector for a weapon scope includes a scope adapter defining a cylindrical bore, the scope adapter having a first end that is configured to connect to an end of the weapon scope to align the cylindrical bore of the scope adapter with a lens of the weapon scope. The scope protector may further include a lens cover defining a cylindrical bore, the lens cover being configured to connect to a second end of the scope adapter opposite the first end (and/or to an intervening diffuser adapter housing a diffuser such as a honeycomb diffuser) to align the cylindrical bore of the lens cover with the lens of the weapon scope. The scope protector may further include one or more transparent polymer films housed within the lens cover so as to cover the cylindrical bore thereof.

scope protector firearm accessory
May 5, 2026

US12618646 - Verification of desired target illumination in the presence of clutter for laser-designated applications

A laser seeker system is provided. The laser seeker system includes at least a laser pulse receiver circuitry and a pulse evaluator is provided. The pulse evaluator can be configured to obtain a set of measured pulse repetition intervals associated with laser pulses acquired by the laser pulse receiver circuitry. The pulse evaluator can further categorize a current volatility status indicating a respective category of a set of volatility categories, and based on a volatility index indicating a variance of the set of measured PRIs and a volatility counter indicating a number of the acquired laser pulses. The pulse evaluator can further increase a respective category counter that counts occurrences of the respective volatility category. The pulse evaluator can further categorize the authenticity of the laser seeker target based on the set of category counters.

laser seeker military defense
May 5, 2026

US12618647 - Laser pulse shape detection using frequency characterization

A method includes receiving a plurality of laser pulses as a pulse train on a plurality of imaging sensor pixels in an array of pixels. For each pixel in the array of pixels, the method includes receiving a respective one of the laser pulse trains, and scanning the pixels response across a range of frequencies with a bandpass filter to determine pulse shape characteristics of the respective one of the laser pulse trains. The method includes filtering out all of the laser pulse trains that do not fit a predetermined pulse shape characteristic for a true target designation pulse train, and physically adjusting trajectory of a physical resource toward a target based on location on the imaging sensor of one or more pixels receiving a laser pulse train that fits the predetermined pulse shape characteristic for the true target designation pulse train.

laser detection guided munition
May 5, 2026

US12618649 - Armor system

The ballistic system described in the present disclosure may be used in vehicle settings and by a user as a shield. The ballistic system may comprise a cover, a headrest hood, and an armor system. The ballistic system may include one or more attachment devices or straps. The ballistic system may include a handle and an accessory panel. A portion of the ballistic system may be installed in the seat back pocket of a car. The ballistic systems described herein may be deployed by a user.

ballistic armor vehicle
May 5, 2026

US12618650 - Portable target stand

A portable target stand includes a base aimed to be deployed over a surface in a usage position. The base includes an elongated body, extending horizontally between a first end and a second end, opposite said first end, in said usage position, and four legs. The body includes target attaching means, configured to attach at least one target assembly thereto. The target assembly includes means for holding at least a target. Each of said legs includes a first portion, attached to said body so that is horizontally tiltable between a first folded position wherein said first portion is folded to said body, and a first extended position wherein said first portion is tilted away laterally from said body. Each of said legs further includes a second portion, attached to said first portion so that is vertically tiltable between a second folded position.

target stand portable
May 5, 2026

US12618651 - Short-range projectile

A projectile for short firing ranges includes as a cylinder with a nose having a substantially flat surface arranged with a threaded socket allowing for the arrangement of, for example, a fuze a rear section designed with a substantially flat surface, as well as a projectile body arranged with energetic material enclosed by a casing.

projectile ammunition short-range
May 5, 2026

US12618652 - Rocket camera system and method with rocket and camera dispenser

Systems and methods for photography of a spacecraft during space flight are provided. An autonomous deployable camera (ADC) is configured to capture images and video of a portion of a rocket, such as a crew capsule, as it flies in space with the Earth's horizon in the background and astronauts within the crew capsule visible and recognizable through windows of the crew capsule. The ADC, being reusable, is configured to land on the ground independent of landings or flight trajectories of the crew capsule or other parts of a rocket. The ADC includes a parachute to slow the descent of the ADC and tracking hardware to allow the ADC to be relatively easily recovered on the ground. After recovery, images are downloadable from the ADC.

rocket camera space photography
May 5, 2026

US12618653 - Magazine retention systems

Magazine retention systems including a pouch, an anchor, an elastic cord, and a tension adjuster. The pouch defines a pouch interior and is configured to receive an ammunition magazine. The pouch includes sidewalls and a floor. The sidewalls define a pouch opening through which the ammunition magazine may be selectively placed within the pouch interior. The floor is coupled to the sidewalls opposite the pouch opening and cooperates with the sidewalls to define the pouch interior. The anchor is coupled to the pouch. The elastic cord is secured to the anchor and extends around the sidewalls. The tension adjuster is mounted to the elastic cord. The tension adjuster maintains the elastic cord under a selected tension. The tension adjuster and the elastic cord cooperate to selectively compress the sidewalls to secure the ammunition magazine inside the pouch interior.

magazine retention ammunition
May 5, 2026

US12618654 - Transportable perforation tool

A transportable well completion tool is described. The transportable well completion tool comprises a housing with a charge module disposed within the housing. The charge module comprises explosive charges. An initiator module comprising a detonator is coupled to the housing, and a bulkhead member is disposed within the housing between the initiator module and the charge module. A containment cover is secured to the housing to cover the detonator. The transportable well completion tool can be transported with the containment cover in place, and the containment cover can be removed to connect the well completion tool to a tool string for downhole deployment.

explosive perforation well completion
May 5, 2026

US12618655 - Shock initiation of non-electric shock tube

Embodiments of the disclosure are directed to a shock initiation system for initiating shock in a shock tube for demolition. In some embodiments, the shock initiation system comprises a reusable discharge unit and a replaceable shock initiation platform. The reusable discharge unit may comprise a power source, a timer, a switch, and user inputs and may function to store a time, countdown the timer, and generate and transmit an electrical energy to the replaceable shock initiation platform. The shock initiation platform may receive the electrical energy from the discharge unit overpowering a resistor disposed on the shock initiation platform. The resistor may then detonate providing an initiation shock to a proximally disposed shock tube, thereby initiating shock in the shock tube.

shock initiation demolition explosive
May 5, 2026

US12618656 - Method of communication

A method of communicating in a blast system which includes the steps of transmitting timing signals from a master transceiver to a plurality of local transceivers, in response, at each local transceiver, defining a succession of micro-slots and calculating a size of a respective bin which is associated with each micro-slot, transmitting a packet from the master transceiver, at each local transceiver calculating a uniform random value, identifying the bin in which the uniform random value is located and during the micro-slot which is associated with the identified bin, if no transmission of a reply signal from any other local transceiver is detected, in response to the packet transmitting a reply signal from the local transceiver to the master transceiver.

May 5, 2026

US12618657 - Explosive material charging device for charging a borehole method of positioning an explosive material charging device explosive material charging vehicle and data medium

The present invention concerns an explosive material charging device and a method of positioning the explosive material charging device in a borehole. The explosive material charging device comprises a top anchor unit and a bottom anchor unit each configured to engage the borehole wall, an expandable tube member arranged between the top anchor unit and the bottom anchor unit and configured to be charged with explosive material, the bottom anchor unit comprises a backflow prevention valve device configured to prevent the explosive material to flow out from the expandable tube member, wherein the backflow prevention valve device is openable for permitting a charging hose to enter the expandable tube member for reaching the interior of the top anchor unit.

explosive borehole charging device
May 5, 2026

US12618975 - Targeting

A targeting method comprising the steps of determining a bearing to a target from an observer using first and second independent techniques; comparing the bearings as determined by the first and second independent techniques and determining whether the bearings are accurate; and if the bearing is deemed to be accurate; measuring a range from the observer to the target; and calculating the position the target based on the verified bearing and range from the observer's position. The bearing can be measured by using a magnetometer, and cross-checked or verified using calculations based on three-dimensional satellite cartography data. The range to the target can be cross-checked, as can the position and viewpoint of the observer.

targeting method bearings measurement
May 5, 2026

US12618977 - Optical detection system and method for detecting a hostile optical component

An optical detection system for detecting a hostile optical component without exposing the surrounding to unnecessary hazards is disclosed. The system comprises a laser unit configured to provide an adjustable laser beam along an optical path to scan for the optic component or to act as jammer by providing a target spoofing; a single aperture for the optical path; a detector configured to detect through the single aperture retroreflections of the laser beam at the optical component; and a camera for detecting through the single aperture potential candidates for the hostile optical component.

Apr 28, 2026

US12611026 - Wearable and replaceable pouch or skin for holding a portable battery pack

A wearable pouch operable to hold at least one portable battery pack and other power or communications equipment. The wearable pouch includes a main body with a front side, a back side opposite the front side, at least one sealable opening, and at least one opening for at least one lead from the at least one portable battery pack secured within the wearable pouch.

Apr 28, 2026

US12611027 - Bear spray canister carrying and deployment device

A bear spray canister carrying and deployment device for retaining a bear spray canister which integrates ergonomic positioning, single-hand operation and an optimized deployment angle which can facilitate a rapid response by a user without removing a bear spray canister from the carrying and deployment device. The carrying and deployment device can be in the form of an ergonomic armband sleeve or a compression sleeve to be worn on a user's forearm. When a bear spray canister is secured within a retaining pouch affixed to the carrying device, ergonomically spaced and positioned relative to the user's hand, wrist, and forearm. This positioning allows for the natural and efficient deployment with minimal hand movement and with the use of only one hand. Moreover, the spacing and positioning enhances accessibility and ease of activation, ensuring quick response time in self-defense situations without removal of the canister from the carrying device.

bearspray selfdefense deploymentdevice
Apr 28, 2026

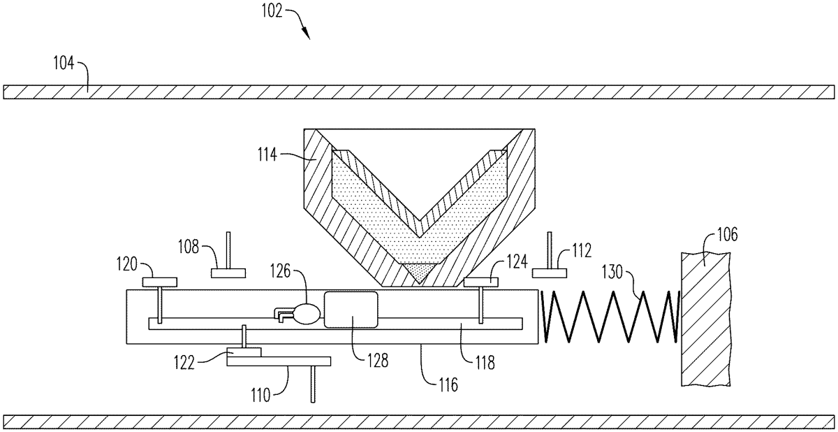
US12612150 - Pyrotechnic devices and firing mechanisms for aircraft canopy jettison

Pyrotechnic devices and firing mechanisms for aircraft canopy jettison are disclosed herein. An example firing mechanism includes a housing defining a first bore, a second bore, and a channel between the first bore and the second bore, a primary charge disposed in the second bore, a closure disc between the second bore and the channel, and a firing pin assembly disposed in the first bore. The firing pin assembly includes a percussion primer and a firing pin piston including a piston body, a firing pin extending from the piston body, and a piercing pin extending from the piston body. In response to a firing signal, the firing pin piston is moved toward the primary charge such that the piercing pin punctures the closure disc and the firing pin engages the percussion primer to ignite the primary charge.

pyrotechnics aircraft firingmechanism
Apr 28, 2026

US12612237 - Repellent spray dispensers and methods of use

Repellent spray dispensers and methods of their use. Such a repellent spray dispenser includes a case configured to enclose a canister containing a repellent, an exit orifice configured so that a stream of the repellent propelled from the canister exits the case through the exit orifice, an audible alarm, a first actuating member operable to cause the audible alarm to be generated simultaneously with the stream of the repellent being propelled through the exit orifice of the case, and a second actuating member operable to cause the audible alarm to be generated without causing the stream of the repellent to be propelled through the exit orifice of the case.

Apr 28, 2026

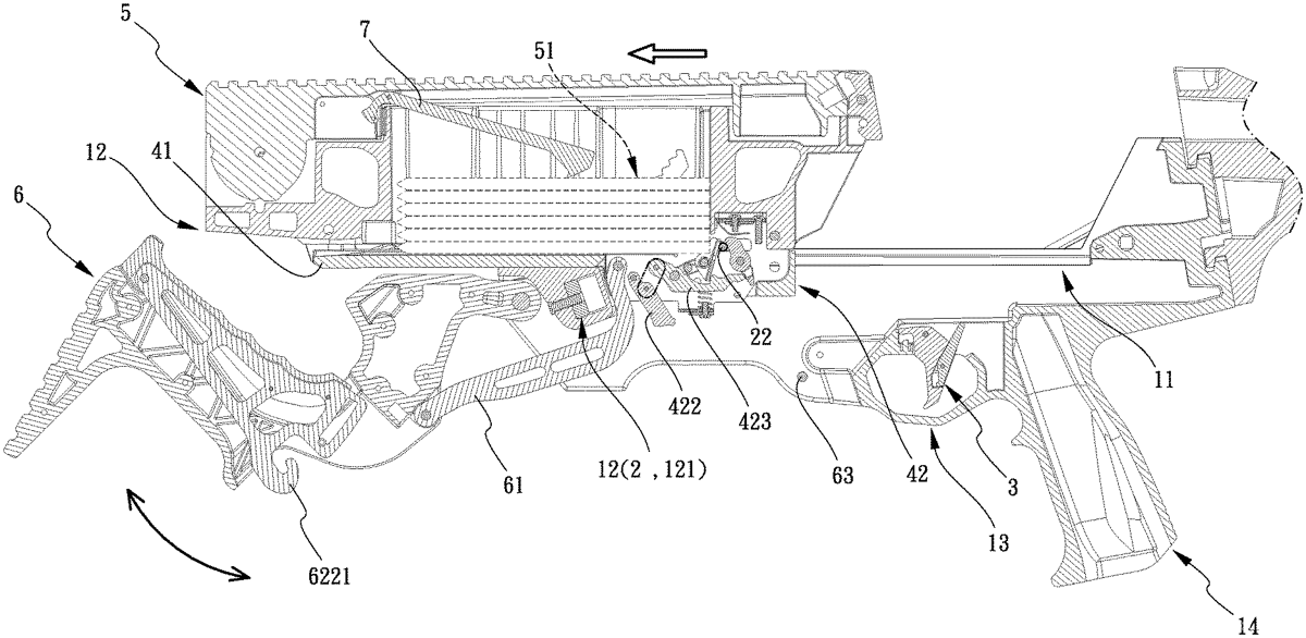
US12613071 - Control-tilt follower for a firearm magazine

A control-tilt follower for a firearm magazine includes a first leg and a second leg. The first leg and the second leg are flexible which allows the follower to tilt upwardly and downwardly inside a firearm magazine. The first leg includes an indent. The second leg includes a protrusion. A follower retainer is disposed on a side of the follower to act as a guide for the follower to move up and down the firearm magazine. The follower connects to a spring inside the firearm magazine.

firearm magazine follower
Apr 28, 2026

US12613072 - Fluid pressure dampener with structurally improved baffles

A suppressor has an outer shell with a bore defined along a central longitudinal axis of the shell and fluidically coupling an entrance port to an exit port. Baffles enclosed within the outer shell each have a central aperture circumvolving the bore and a deflecting channel radially offset from the bore and in fluid communication with the central aperture. Each deflecting channel is formed by opposing sidewalls formed in a baffle and extending to a diversion wall. First and second openings of a deflecting channel fluidically couple the channel with the bore and with the volume enclosed by the outer shell. Each deflecting channel deflects propellant gases in a direction perpendicular to axial flow through the bore.

suppressor firearm ammunition
Apr 28, 2026

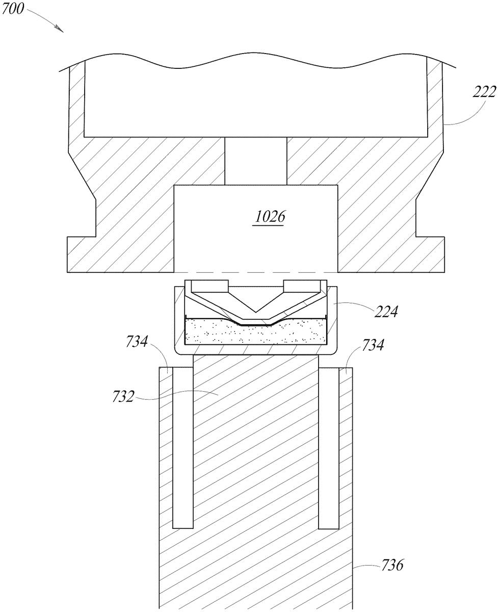
US12613073 - Apparatus, methods, and system for retarding heat dissipating from the barrel of a firearm

A heat retardant system for covering a barrel of a firearm is disclosed. The system comprises a tubular sleeve with innermost and outermost layers, first and second end portions each having an opening, and a fastener for securing the sleeve to the firearm. The tubular sleeve spans substantially the entire barrel, enhancing heat management. The innermost layer comprises a heat tolerant material that forms a retardant channel enveloping the barrel. Additional features include a first section on the outermost layer covering portions of the inner layer, vents for improved heat dissipation, and a rigid stabilizer to maintain the sleeve's upright position. An elastic cord fastener and a unique configuration with a cutout facilitate attachment to firearm components. This system is adaptable for various firearm designs, significantly improving heat management while maintaining barrel accessibility and safety during use.

firearm heatmanagement barrelaccessory
Apr 28, 2026

US12613074 - Archery bow with axial tensile springs and slope-based CAMS

An archery bow includes a riser, a cam module rotatably mounted to a fixed pivot supported by the riser, and an energy storage system comprising at least one axial tensile spring operatively coupled to the cam module via a multi-roller shuttle assembly. The cam module includes a cam track with a variable slope profile that governs the draw force curve during rotation. The multi-roller shuttle assembly engages both the cam track and a guide track surface to constrain the shuttle to a defined path, thereby elongating the axial tensile spring as the bow is drawn. The cam module includes parallel string grooves for engaging a single bowstring without synchronization cables. The axial tensile spring may be folded around a turning element to form two tensile legs and housed within the riser. This configuration enables compact, lightweight bows with customizable draw characteristics and reduced lateral torque.

archery bow cam tensile
Apr 28, 2026

US12613075 - Cable adjustment assembly for compound bow

A compound bow includes a cable assembly including an adjustment assembly. The adjustment assembly has a first unit and a second unit on a rotational axis of the cable assembly. A first cable segment has a terminal end rotationally fixed to the first unit. A second cable segment has a terminal end rotationally fixed to the second unit. The adjustment assembly includes a lock between the first unit and the second unit. The lock is movable between a locked position and an unlocked position. The first unit and the second unit are rotatable relative to each other about the rotational axis R of the adjustment assembly when the lock is in the unlocked position. The first unit and the second unit are fixed relative to each other about the rotational axis of the adjustment assembly when the lock is in the locked position.

compoundbow cableassembly adjustmentassembly
Apr 28, 2026

US12613076 - Pneumatic launching apparatus employing barrel cam driving pathways and methods

Launcher apparatus and methods of a toy projectile blaster piston air compression element and breech bolt operating through a barrel cam peripheral surface with a cylinder cam pathway track and piston cam pathways for driving contact and respective piston and cylinder timings. The barrel cam is rotatably disposed. Piston and cylinder follower ends contact the barrel cam pathways generating fluid communication to outwardly launch received projectile rounds. The breech can receive projectiles with the breech bolt of the air compression element extending into the breech to position a received projectile through the barrel seal, and a source of rotary motion or forward strokes and back strokes fires the projectiles.

pneumatic toy projectile blaster
Apr 28, 2026

US12613077 - Barrel shroud for tilting barrel

A weapon accessory includes a barrel shroud that has left and right side walls from which rearwardly extends an attachment member. An upper member extends between upper portions of the left and right side walls. The upper member does not extend to a distal end of the barrel shroud, and instead a distal opening is left between the upper portions of the left and right side walls. This distal opening accommodates barrel tilt of a barrel extension.

barrel shroud accessory firearm
Apr 28, 2026

US12613078 - Imaging apparatus with thermal augmentation

A thermal image-forming attachment for a sighting apparatus has a combiner for overlaying a generated thermal image from a display against a visible scene defined along an optical axis of the sighting apparatus, wherein the combiner intersects the optical axis between an objective lens and the visible scene. A first IR camera has a first field of view aligned with the sighting apparatus optical axis; a second IR camera has a second field of view narrower than the first field of view, aligned with the sighting apparatus optical axis. An image processor generates the thermal image on the display, wherein IR image content rendered from the second IR camera is centered within IR image content from the first IR camera. Collimating optics project the thermal image from the display toward the combiner as collimated light aligned with collimated light from the visible scene.

sighting thermal imaging military
Apr 28, 2026

US12613079 - Boresight device, firearm calibration system, and method

A boresight device for calibrating a firearm and insertable into a chamber of the firearm. The boresight device includes a housing, a light-emitting assembly, and a magnet. A boresight device for calibrating a firearm is insertable into a chamber of the firearm. The housing is configured to be placed in the chamber of the firearm, the housing defines an emitting surface at a first end. The light-emitting assembly is received in the housing and is configured to emit a light beam out of the firearm when the housing is placed in the firearm. The magnet is attached to the housing. The magnet is positioned to magnetically engageable with a portion of the firearm, and the magnet is movable relative to the chamber.

boresight firearm calibration device
Apr 28, 2026

US12613080 - Systems and methods for accuracy assistance calculation and display on removable device

A removable optics attachment for a weapon includes a first display, at least one sensor, at least one wireless communication circuit for sending an receiving data, and a processor. The processor is programed to: receive environmental data from an information network and the at least one sensor; receive user account data from the information network; determine bullet drop compensation data based on the environmental data and the user account data; and display the bullet drop compensation data on the first display.

firearms optics accessories bulletdropcompensation
Apr 28, 2026

US12613081 - Mounting system adapter and chassis

A mounting system and method that provides simplified mounting points and attachment interfaces for associated components. Specifically, the system and method generally comprise a mounting system, including a new support chassis, which allows for a Forward Looking Infrared (FLIR) aiming system which was built to be placed in an infantry system for a TOW missile, to be used in a vehicle mounted ISU system.

mounting system adapter chassis
Apr 28, 2026

US12613082 - Method and system for intercepting and controlling target-drones

The present application relates to a method and a system for intercepting and controlling target-drones ( 2 ), allowing to control the target-drone's flight route ( 4 ), causing it to land in a predetermined landing position. For that purpose, the method of the invention provides the configuration of flight routes ( 4 ) for controlling the target-drone's flight path in order to direct it to the landing position, without causing any physical damage to the target-drone ( 1 ). This control is achieved by using police-drones ( 1 ) which are adapted to transmit redirection signals ( 3 ) used as a way to program a new flight route ( 4 ) for the at least one target-drone ( 2 ) to a landing position.

Apr 28, 2026

US12613083 - Configuration for spin stabilized less lethal munitions

A blunt impact munition cartridge for firing from a barrel having grooves defining a first bore diameter and lands defining a lesser second bore diameter. The cartridge comprises a case that has a propellant and defining a forward case mouth, and an elastomeric projectile. The projectile has a body portion having a cylindrical sidewall configured to be closely received in the barrel. The projectile includes a first polymeric ring encircling the body portion and has a first ring diameter. The projectile includes a second polymeric ring encircling the body portion and having a second ring diameter different from the first diameter.

lesslethal munitions bluntimpact
Apr 28, 2026

US12613084 - Inertial delay mechanisms for low-G and long-duration acceleration event detection and for initiation devices in munitions and impulse switches and the like

An inertial mechanical delay mechanism including: a first member rotatable about a first axis in a first direction. The first member having a first center of mass offset from a line parallel to a direction of acceleration and perpendicular from the first axis. A first elastic material exerts a first biasing force to the first member to bias the first member in a second direction. A second member is rotatable about a second axis in a third direction. The second member rotatable in a third direction by at least indirect interaction with the first member when the first member rotates a first angle in the first direction. A second elastic material exerts a second biasing force to the second member to bias the second member in a fourth direction. The first member is configured to rotate the first angle when the acceleration is greater than a predetermined magnitude and duration.

mechanism munitions inertial delay
Apr 28, 2026

US12613330 - Systems and methods for using a conducted energy weapon in conjunction with a noninvasive detection of impermissible objects

A system comprises a conducted energy weapon configured to emit at least one conductive probe in substantially an aimed direction, along with a housing containing a portable radar system with both a ranging resolution and lateral resolution sufficient to detect an object concealed on a person. The housing can be rigidly mounted on or in the conducted energy weapon, and the portable radar system can, when in operation, emit a radar beam and to receive a reflection of the emitted radar beam.

conducted energy weapon radar system detection impermissible objects
Apr 28, 2026

US12615350 - Personal tactical system including garment, camera, and power distribution and data hub

A personal tactical system including a load-bearing garment, a pouch with one or more batteries enclosed in the pouch, at least one power distribution and data hub, and at least one camera. The camera is incorporated into or removably attachable to the load-bearing garment, the pouch is removably attachable to the load-bearing garment and the one or more batteries are operable to supply power to the at least one power distribution and data hub. The at least one power distribution and data hub is operable to supply power to at least one peripheral device. A plurality of personal tactical systems is operable to form an ad hoc network to share images and other information for determining object direction, location, and movement.

Apr 21, 2026

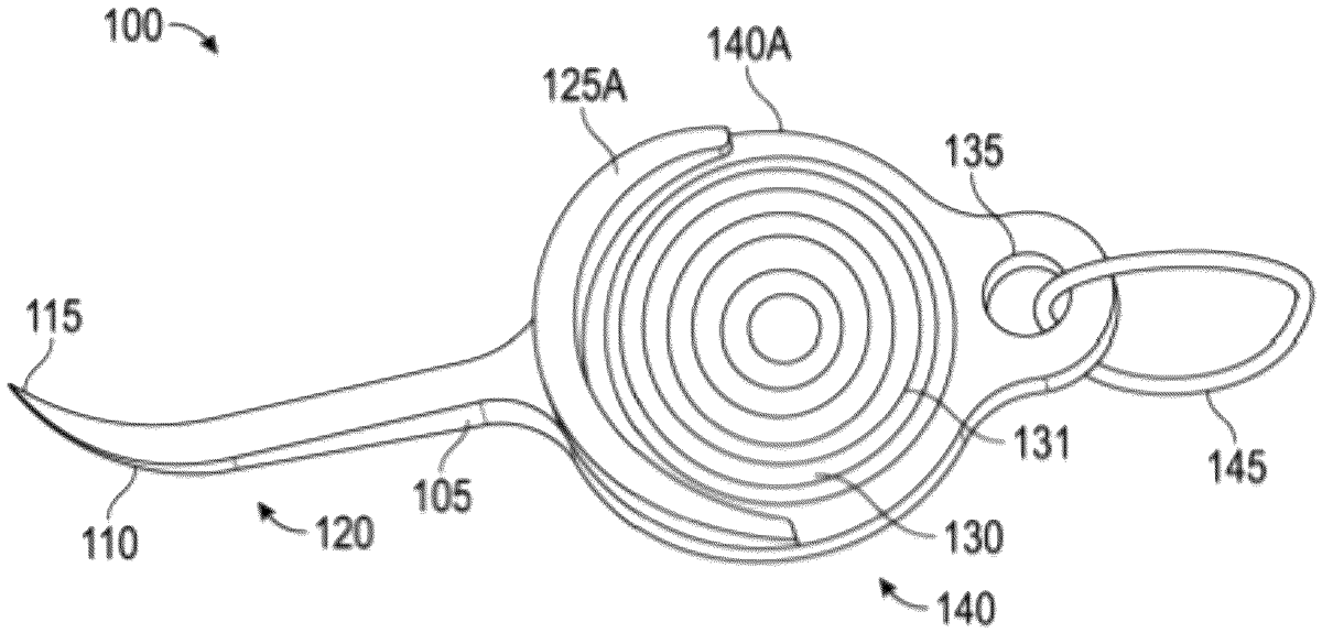
US12604874 - Bowfishing reel with reel mount supporting locking guide arm

A reel and mounting fixture suitable for bowfishing and the like provides a reel with a cowling covering a reel with a wide opening to reduce frictional restraint on high-speed paying out of the line with the flight of the arrow and a guide arm supported by the mounting fixture to minimize line diversion and hence friction during line payout while absorbing forces when the line is retracted permitting use of a lighter cowling design without loss of strength. The guide arm is fixed to the mounting fixture using a notched guide arm engaging with a lever of the mounting fixture.

fishing reel bowfishing
Apr 21, 2026

US12604879 - Bug killing device

A bug killing bow is provided. The bug killing bow may take the form of an archery bow. The archery bow has a chamber which stores a material such as, for example small particulate material such as salt. The small particulate material may be expelled from a barrel of the bow by air. When the bow is aimed at an insect and the small particulate material is expelled, the small particulate material may be used to kill the insect.

bug killing bow archery
Apr 21, 2026

US12607102 - Tandem sub for self-orienting perforating system

A method and apparatus for using a tandem sub to connect one or more perforating gun assemblies, having a rotational mechanism located in both ends of the tandem sub allowing the one or more shaped charges to rotate within the one or more perforating assemblies connected to the tandem sub.

perforating wellbore shapedcharges
Apr 21, 2026

US12607423 - Two part bedding block for a firearm

A firearm including a rear action screw pillar configured to mount in a stock of the firearm and receive a rear action screw therethrough to secure an action of the firearm to the rear action pillar. The firearm further includes a front action screw pillar configured to mount in the stock of the firearm forward of the rear action screw pillar and receive a front action screw therethrough to secure the action of the firearm to the front action screw pillar.

firearm bedding block
Apr 21, 2026

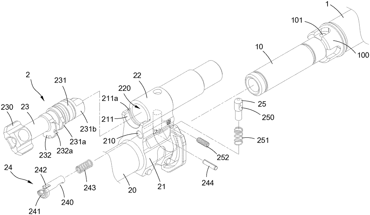
US12607424 - Last round hold open

An assembly for holding a bolt of a firearm in an open position is disclosed. The assembly comprises a bolt catch pivotable about a first axis toward and away from a catching position. In the catching position, a portion of the bolt catch is within a path of travel of the bolt. A follower transfer adapter is pivotable about a second axis. The follower transfer adapter includes an engagement portion that is configured to engage a follower of a magazine. Optionally, the follower transfer adapter includes an overhang lip that extends transversely to the longitudinal axis of the firearm and into a path of travel of the follower to define the engagement portion. The engagement portion is positioned between the second axis and the bolt catch along the longitudinal axis of the firearm. A linkage transfers rotational movement of the follower transfer adapter to rotation of the bolt catch.

firearm boltcatch mechanism
Apr 21, 2026

US12607425 - Opposing force recoil reduction in a firearm

A firearm which provides recoil reduction using the kinetic energy of the hammer to cancel a portion of the bolt's recoil after a round has been fired. After the bolt starts to move rearward in response to the detonation, the hammer's forward kinetic energy is transferred onto the bolt by striking it at the moment the bolt starts to travel rearward or after the bolt has started its rearward motion.

firearm recoil mechanism
Apr 21, 2026

US12607426 - Semi-automatic shotgun and components thereof

A semiautomatic shotgun comprising a receiver, a barrel, a forward gas block assembly attached to the barrel, a slider assembly rearward of the gas block assembly extending into the receiver. Upon firing a shotshell the explosive gases in the barrel are diverted through two ports into the gas block assembly, specifically into a pair of lateral pressure relief valves positioned on both sides of the barrel. The pressure relief valves further having a gas pathway from the barrel provided by clusters of holes less than a specific size and on-center with the barrel axis. A piston is forced rearwardly and engages a slider of the slider assembly that is linked to a breech block in the receiver. The breech block loads unfired shells and ejects the fired shells accomplishing the semiautomatic recycling. The dual pressure relief valves actuate to moderate and limit the gas pressure that enters the piston chamber when using shotshells of different power levels thereby providing consistency in the recycling operation. The shotgun assembled with a plurality of retention pins having uniformly sized O-rings.

shotgun semiautomatic firearm ammunition
Apr 21, 2026

US12607427 - Arrangement for feeding ammunition to a weapon

Disclosed is an arrangement for feeding ammunition to a weapon. The weapon is mounted to an elevation device arranged to allow elevation movement of the weapon about an elevation axis. The arrangement includes a feeding chute connected at one end to the weapon. The feeding chute includes a set of elements assembled together in a stacked configuration. The set of elements is arranged about a shaft configured to be concentrically arranged relative to the elevation axis so as to allow movement of individual elements of the set of elements about the shaft in connection to elevation movement of the weapon about the elevation axis. The invention also relates to a vehicle with an arrangement according to the present invention.

ammunition feeding weapon
Apr 21, 2026

US12607428 - Blast attenuation device

A blast attenuation device for a gun tube. The blast attenuation device has a first wall section which defines a first chamber, which extends from an inlet end having an inlet aperture to an outlet end having an outlet aperture. The blast attenuation device also has a second wall section which defines a second chamber, which extends from an inlet end having an inlet aperture to an outlet end having an outlet aperture.

blast attenuation device firearm
Apr 21, 2026

US12607429 - Bow attachment weight rest

A weight support apparatus and method of use for attachment to an archery bow. The apparatus includes a base having two wings that extend laterally out to support the weight of a bow. Arms are positioned perpendicularly on the base forming a gap between opposing arms to receive a portion of a bow. One or more arms are provided to mount the apparatus on a bow by introducing a portion of the bow between the arms. A through bolt is also provided that secures the apparatus to the bow by tightening the arms against the bow.

archery bow weight support accessory
Apr 21, 2026

US12607430 - Pistol stabilizer platform

A pistol stabilizer platform includes a platform member including multiple mounting provisions, a forward handgun clasping assembly secured to the platform member at a first one of the multiple mounting provisions, and a rear grip abutment member secured to the platform member at a second one of the multiple mounting provisions. The platform member is located only on one side of the handgun placed in the pistol stabilizer platform.

pistol stabilizer firearm accessory