Projectile

Patents tagged Projectile

Apr 21, 2026

US12607438 - Projectile and firearm system

A cartridge is disclosed with a casing and a projectile, wherein external ballistic stability is provided by a center of pressure of the projectile being rearward of a center of mass of the projectile. The projectile includes flight control surfaces that cooperate with the bore of a barrel without requiring rifling or sabots. The projectile can include fin configurations that cooperate with the bore to form a bearing surface with the bore.

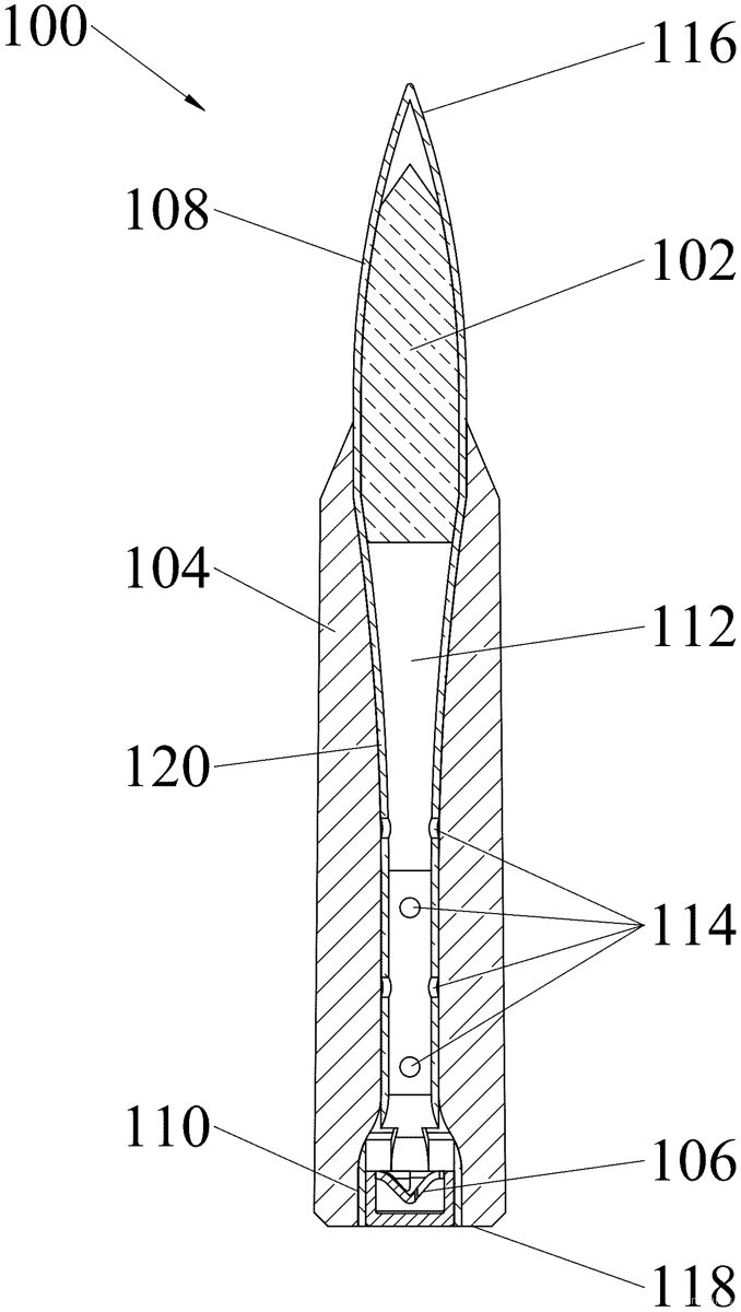
Apr 14, 2026

US12601576 - Sinter bonded projectile

The invention of the present subject matter relates to a sinter bonded projectile comprising a core component and a copper component which has been sintered in such a manner to form a solid mass over the core. More particularly, the invention of the present subject matter provides a core component to which a copper component is melted at a temperature sufficient that it penetrates into the pores and geometry of the core component under compression due to thermal shrinkage, resulting in a tightly bonded solid mass containing no voids. The invention of the present subject matter also provides a process for manufacturing the projectile.

Mar 31, 2026

US12589315 - Virtual and augmented reality shooting systems and methods

Provided herein are systems and methods for training, maintaining and using skills for shooting a target with a projectile. More particularly, the invention relates to virtual and/or augmented reality, augmented reality, mixed reality and consensual reality systems and methods to train and maintain shooting skills in military, law enforcement, competition and sporting settings, environments and missions.

Mar 31, 2026

US12590779 - Stead-field coilgun methods and devices

A method for operating an electromagnetic coilgun system, the method comprising: an electromagnetic coilgun comprising: a barrel and a longitudinally extended electrical excitation coil; wherein the electrical excitation coil circumferentially surrounds a bore of the barrel, energizing the electrical excitation coil to produce a steady-state magnetic field within and around the bore of the barrel, the steady-state magnetic field extending along a longitudinal axis of the barrel; loading the barrel with a magnetic dipole projectile at a breech end of the barrel, wherein the loaded magnetic dipole projectile is oriented with a first magnetic dipole moment aligned to a magnetic field orientation of the steady state magnetic field; and firing the magnetic dipole projectile by magnetically propelling the magnetic dipole along the longitudinal axis of the bore by a magnetic force produced by the steady-state magnetic field within and around the bore of the barrel.

Mar 24, 2026

US12584720 - Projectile construction, launcher, and launcher accessory

A launcher and projectile system include at least one permanent magnet disposed on or within the launcher for charging a wire coil of the projectile to energize an initiator of the projectile, thereafter having a housing of the projectile rupture, disintegrate, separate or otherwise have an opening created therein after launch to release a payload. In another embodiment, an accessory for a launcher and projectile is provided, the accessory comprising a permanent magnet for charging a projectile that is launched by the launcher.

Mar 10, 2026

US12571617 - Testing and data transfer to artillery guiding kits

Projectile guiding assemblies, caps and methods of delivering power for testing and optionally data over spring-mounted fin(s) of the guiding assembly are provided. The guiding assemblies are configured to have continuous electrically conductive path(s) from the fin(s), through the respective spring(s) on which the fin(s) are mounted, and into the electronics module, which may receive power for testing and guiding data from external source(s) over the electrically conductive path(s). In the testing state, cap mechanically secures the fin(s) to contact(s) thereupon to assure continuous power and data transfer, sparing surface area that was previously dedicated to power and data transfer and simplifying these processes, especially under field conditions.

Mar 3, 2026

US12566053 - Mid-body warhead for projectile

A warhead includes a casing having a periphery wall that extends along a central axis from a forward end of the casing to a rearward end of the casing. The casing defines a cavity configured to contain an explosive material, wherein the forward end of the casing includes a first thread pattern configured to engage a guidance system casing, and the rearward end of the casing includes a second thread pattern configured to engage a propulsion system casing. A first row of fragments is arranged along a first section of the periphery wall of the casing. A plurality of second rows of fragments is rearward of the first row of fragments and arranged along a second section of the periphery wall of the casing. In an example, each of the first and second sections tapers inward towards the central axis as it extends toward the forward end of the casing.

Feb 24, 2026

US12560393 - Assembly for positioning and keeping in position a projectile in a stretcher and loading-aid device comprising such an assembly

The invention relates to a rammer ( 1 ) for positioning an artillery shell, the rammer ( 1 ) comprising a stretcher ( 2 ) intended to receive the shell and guide it in translation, the rammer ( 1 ) being characterized in that it comprises a pusher ( 4 ) which can be driven in a reciprocating movement along the stretcher ( 2 ), reciprocating movement which is provided by a pair of closed flexible links ( 6 ) arranged on either side of the pusher ( 4 ), each link ( 6 ) connecting a drive wheel ( 6 b ) and a free wheel ( 6 a ), the pusher ( 4 ) having a bearing surface intended to correspond with a rear face of the shell in order to push it.

Feb 24, 2026

US12560409 - Laser filter antenna

A light filter antenna configured to be used with a weapon is provided. The light filter antenna includes a housing, a filter unit disposed within the housing, and one or more radar antennae deposited on a surface of the filter unit. The filter unit can be configured to prevent light having a threshold wavelength from passing through the filter unit. The one or more radar antennae can be configured to capture a velocity of a projectile fired from the weapon. A method of manufacturing a light filter antenna is provided. The method includes depositing one or more radar antennae on a filter unit and installing the filter unit within a housing. The filter unit can be configured to prevent light having a threshold wavelength from passing through the filter unit. The one or more radar antennae can be configured to capture a velocity of a projectile fired from a weapon.

Feb 24, 2026

US12560415 - Integrally formed high-G shock metal isolator in a projectile

A projectile is integrally formed with a high-G shock isolator to isolate a protected device. The isolator includes a pattern of cut-outs formed around a circumference of a metal casing that defines flexures and supports and coupling paths that zigzag therethrough. Symmetry about the longitudinal axis of the projectile defines springs that are colinear with the principal axes of the projectile with a resonant frequency selected to attenuate shock inputs to levels acceptable to the protected device. The isolator is suitably provided with forward and aft stops to ensure isolator survivability. The aft stops are positioned in the cut-outs to prevent the flexures compressing beyond the yield strength of the casing material. The forward stop includes a structure rigidly attached behind the isolator that extends forward to engage a forward-facing surface of the isolator to prevent the flexures from stretching beyond the yield strength of the casing material.

Feb 17, 2026

US12551815 - Steerable rotating projectile

A method of controlling a gyroscopically-stabilized projectile, comprising a control system producing a control signal, a rotating aerodynamic shell, and a reaction mass system responsive to the control signal, the method comprising: imparting rotational and translational kinetic energy to induce gyroscopic stabilization of the projectile about a gyroscopic axis and a movement of the projectile along a flight path; interacting the shell with surrounding air while moving, to induce aerodynamic forces; generating the control signal from the control system; and altering a state of the reaction wheel system selectively in dependence on the control signal, to alter the flight path.

Feb 17, 2026

US12553685 - High performance launcher with cocking hammer

A toy projectile launcher including a housing, a launch barrel, an air piston assembly, a trigger, a trigger lever having a distal end portion connected to the launch barrel, a storage cylinder rotatably mounted within the housing and comprising a plurality of projectile holders, wherein each projectile holder is configured to contain a projectile, and a spring that biases the launch barrel away from the storage cylinder. When the trigger is actuated, the trigger lever pulls the launch barrel into engagement with one of the projectile holders of the storage cylinder to form an airtight seal between a rear portion of the launch barrel and the one of the projectile holders.

Feb 17, 2026

US12553689 - Compensating for projectile weight in ballistics

An apparatus, system, computer-readable medium, and/or process to measure, sense, or otherwise obtain weight of a projectile and use that information to generate instructions to adjust aim of the projectile. For example, instructions may indicate a desired weight of a projectile for performance.

Feb 17, 2026

US12553694 - Projectile construction, launcher, and launcher accessory

A launcher and projectile system include at least one permanent magnet disposed on or within the launcher for charging a wire coil of the projectile to energize an initiator of the projectile, thereafter having a housing of the projectile rupture, disintegrate, separate or otherwise have an opening created therein after launch to release a payload. In another embodiment, an accessory for a launcher and projectile is provided, the accessory comprising a permanent magnet for charging a projectile that is launched by the launcher.

Feb 10, 2026

US12546577 - Projectile for a non-lethal weapon

A projectile for a non-lethal weapon, the projectile includes a hemispherical member; an inner element that comprises an inner aperture; a body that comprises a sidewall, wherein the sidewall comprises a front end that is adjacent to the hemispherical member and a rear end that is proximal to the hemispherical member; wherein the inner element is positioned between the front end and the rear end; wherein the inner aperture and the hemispherical member define a first inner space for receiving non-lethal material; and a closing element for closing the inner aperture.

Feb 3, 2026

US12540804 - Drag reduction fin deployment mechanism

A projectile having a body that includes a nose, a tail opposite to the nose, a chamber defined between the tail and the nose, and a longitudinal axis defined between the nose and the tail. The projectile also includes a payload stored in the chamber of the body, and a propulsion system equipped with the body. The projectile also includes a fin assembly operably engaged with the body between the nose and the tail and is positioned outside of the chamber, wherein a fin of the fin assembly is moveable between a stowed position and a deployed position. In the stowed position, the fin is stowed completely between the nose and the tail. In the deployed position, a portion of the fin extends away from the nose or from the tail.

Feb 3, 2026

US12540805 - Reverse-saboted sidearm systems, and related sidearms, ammunition, and methods

A representative reverse-saboted sidearm system includes: a sidearm having a barrel assembly with an inner wall defining a longitudinally extending bore; and a round of reverse-saboted ammunition having a non-necked casing, a reverse sabot, and a projectile, the reverse sabot mounted at a discharge end of the casing with a distal end of the reverse sabot extending outwardly from the casing, the reverse sabot exhibiting a diameter corresponding to a diameter of the casing and defining a receiving passage aligned with a longitudinal centerline of the casing, the projectile being at least partially disposed within the receiving passage of the reverse sabot; the inner wall of the barrel assembly being configured to engage an exterior surface of the projectile to direct the projectile.

Jan 27, 2026

US12535287 - Crossbow having a pivotal bow assembly

A crossbow having a crossbow frame and a bow assembly. The bow riser of the bow assembly having a launch deck surface and a bore below the launch deck surface. The crossbow frame having a launch deck surface and a coupling rod below the launch deck surface. The coupling rod is sized to cooperate with the bore, and the coupling rod is axial to and concentric with the bore. The bow riser is axially coupled to the crossbow frame by the coupling rod, the bow assembly has a first position for shooting a projectile and a second position for storage or transportation. Any suitable device may be used to lock the angular orientation between the bow assembly and the crossbow frame, such as pins, plungers, springs, detents and the like in the first and second positions.

Jan 27, 2026

US12535299 - Explosive-actuated personal armor with integrated multimodal sensor system and deployable protective hood for deflecting projectiles and protecting the wearer

A body armor vest system including a wearable vest, a power source, a processor, at least one explosive charge, a multimodal sensor system and an inflatable protective hood, the power source, the processor and the explosive charge positioned on the wearable vest, the inflatable protective hood positioned on an upper portion of the wearable vest, the multimodal sensor system detecting the incoming projectile, the processor determining if the incoming projectile is a credible threat and deploying the inflatable protective hood and detonating the explosive charge if the detected incoming projectile is determined to be a credible threat.

Jan 27, 2026

US12535308 - Recovery system for high performance large bore projectiles

A ballistic projectile recovery system includes a forward opening in an ogive of the projectile, selectively opened to deploy a portion of the recovery system. A parachute is deployable through the opening, connected to the projectile by riser line(s). A rotational bearing assembly makes the riser line(s) rotationally decoupled from the projectile. A bidirectional drag inducing element extends externally of an ogive of the projectile. A spacer, between a setback plate and the rotational bearing assembly, is deformable in at least the longitudinal direction of the projectile. The setback plate is movable between a first position to a second position made available by the compression of the spacer. In the second position, the setback plate is in contact with the projectile, providing a load path that avoids the rotational bearing assembly to take up strain applied to the projectile in at least the longitudinal direction.

Jan 20, 2026

US12529549 - Tool and method for producing a projectile and projectile

A projectile may be formed having a caliber in the range from 4.6 mm to 20 mm for ammunition. The projectile may be a deformation bullet, a partial fragmentation bullet, a partial or full jacket bullet, a hard-core bullet or tracer bullet. The projectile may be formed by cold forming, in particular extrusion, from an intermediate with a tube section of substantially constant wall thickness, which constitutes at least 50% of the longitudinal extension of the intermediate.

Dec 23, 2025

US12504262 - Lead-free ammunition projectile

A bullet (ammunition projectile) comprising a branched condensation polymer and a filler, wherein the filler is present in an amount from about 10% to 65% by volume of the branched condensation polymer and filler is described. The bullet may be made by heating a mixture comprised of a branched condensation polymer and a filler comprised of a first and second filler having differing densities and differing particle size distribution to form a molten mixture and injecting the molten mixture into a mold to form the ammunition projectile allowing for the tailoring of the characteristics of the bullet for differing applications.

Nov 18, 2025

US12474145 - Projectile and caseless cartridge

A caseless cartridge including a projectile. A bullet is positioned on a leading end of the projectile and sized to exit a firearm through a barrel of the firearm. An ignition housing is positioned on a trailing end of the projectile opposite the leading end. An ignition source is positioned within the ignition housing. A hollow shaft extends between the bullet and the ignition housing and joins the bullet to the ignition housing. A plurality of ignition ports extend through a wall of the shaft and through the ignition housing. An interior of the shaft is fluidly coupled to an interior of the ignition housing. The ignition source is configured to ignite a propellant through the plurality of ignition ports in response to an activation of the firearm. When the firearm is activated, each component of the caseless cartridge is either consumed or discharged from the firearm through the barrel.

Nov 11, 2025

US12467729 - Low-observable projectile

A radar-absorbing material projectile system including a projectile with an outer layer of radar-absorbing material (RAM). A carrier or armature is disposed around the projectile, protecting the layer of RAM during the firing sequence. In some embodiments the carrier is a discarding carrier which falls away after firing, rendering the projectile low-observable with regard to radar detection due to the layer of RAM.

Nov 4, 2025

US12460909 - Polymer jacked solid core projectile

Provided is a polymer jacketed projectile with metal core. The projectile includes a metal bullet core and a monolithic polymer bullet jacket surrounding a portion of the bullet core. The jacket includes a series of radial driving bands cut into the jacket in a graduated configuration at increasing thicknesses. The graduation and increasing thickness of the driving bands allows gradual radial acceleration upon engraving of the rifling due to intentional radial deformation of the forward driving bands. Additionally, the bullet core) includes high-friction surfaces formed in a longitudinal direction or at a base of the bullet core. The modified surface increases friction between the bullet core and polymer, further decreasing radial slippage.

Oct 28, 2025

US12455151 - Multipurpose projectile apparatus, method of manufacture, and method of use thereof

Disclosed is a projectile comprising: (1) a metal core, such as a copper alloy core, including a base and a tip, where the base and the tip are separated by a core length along a z-axis running longitudinally through a center of the metal core; and (2) a jacket circumferentially attached to the metal core, the jacket surrounding at least fifty percent of the core length of the metal core, where the jacket includes: a polymer and a first jacket radial thickness along at least a section of an interquartile portion of the core length of greater than 0.03 inches.

Oct 14, 2025

US12442624 - Integrated ammunition cartridge

According to some embodiments of the present invention, an ammunition cartridge is provided herein. The ammunition cartridge may include a cartridge enclosure comprising a cartridge case portion and a jacket portion, wherein the jacket portion is configured to accommodate at least one projectile filling; and a base, connectable to the cartridge enclosure, wherein the base comprises an ignition device, wherein the cartridge enclosure comprises a section configured to control the detachment of at least some of the jacket portion from the cartridge case. According to some embodiments of the present invention, another ammunition cartridge is provided herein. The ammunition cartridge may include: a cartridge case portion; and a jacket portion, wherein the jacket portion is configured to accommodate at least one projectile filling, wherein the jacket portion is made of at least one of: polymer material, and composite material.

Oct 7, 2025

US12435951 - Sight

An apparatus for providing information for adjusting a sight of a projectile weapon is provided. The apparatus comprises an input for receiving information regarding measured velocity of a projectile in flight at least at one moment of time. The apparatus comprises an analyzer for determining the velocity and moment of time; an estimator for estimating value for a set of parameters; a calculator for using velocity, moment of time, estimated value and a zero-in angle of the sight to calculate a velocity of the projectile at the moment of time; and a comparator for comparing calculated velocity and measured velocity to determine whether a difference between the calculated and the measured velocity is less than a predetermined value. The apparatus is configured to repeat estimating, calculation of the velocity of the projectile and comparison with another estimated value for the set of parameters to model a trajectory of the projectile.

Sep 23, 2025

US12422231 - Spinning projectile

A projectile, includes a head having a forward tip and a rear end, a stem extending from the rear end of the head and formed integrally with the head, and a sleeve positioned adjacent to the head and being collinear with the head and coaxial with the stem. The sleeve is hollow and substantially cylindrical and has an inner diameter and an outer diameter. A base is formed integrally with the stem by pressing a rearward end of the stem and expanding a rear dimension of the stem to capture the sleeve between the base and the head. The head and the base are rotatably dependent upon each other by connection with the stem, and the head, stem, and base are rotationally independent of the sleeve.

Sep 23, 2025

US12422233 - Penetrator, use of a penetrator, projectile and cartridge ammunition

The invention relates to a penetrator for a projectile, in particular a sub-caliber kinetic energy projectile, wherein the penetrator has a terminal-ballistic body for attacking an armored target, wherein a hole is formed in the body, which extends along or parallel to the central longitudinal axis of the body entirely or along a predominant portion of the length of the body, wherein at least one exactly fitting insert part is introduced into the hole, which has a through-opening extending along or parallel to the central longitudinal axis of the insert part for guiding through an electrical or electronic line.

Sep 23, 2025

US12422234 - Integrated driving band obturator for artillery

A projectile that includes an artillery shell having a casing that defines a surface is provided. The projectile has an obturator that includes an obturator first material layer on the casing surface and an obturator second material layer on the obturator first material layer. The obturator also has an obturator third material layer on the obturator second material layer. The projectile also has a driving band that includes a driving band first material layer on the casing surface and a driving band second material layer on the driving band first material layer. Additionally, the projectile includes a driving band lead-in having a driving band lead-in first material layer on the casing surface and a driving band lead-in second material layer on the driving band lead-in first material layer.

Aug 26, 2025

US12398986 - Firearm projectile device

A firearm projectile device is provided. The device is comprised of a projectile body with a partially hollow area that allows air to travel through the projectile and reduces the projectile's coefficient of drag. Both ends of the device are preferably pointed to further reduce the coefficient of drag of the device. In addition, the second end attaches to a fitted gas block that seals the projectile from a propellant within the casing of the device.

Aug 5, 2025

US12379194 - Polymer jacketed powder core projectile

A method is disclosed for coating a projectile for use in an ammunition cartridge. A polymer jacket is applied to an undersized projectile core of a first standard caliber to bring the outer dimensions of the jacketed projectile into compliance with those of a second, larger caliber projectile. The polymer jacket coating may produce a non-uniform outer diameter of the polymer jacketed projectile and may include a plurality of circular cavities defined therein. The polymer-jacketed projectile may be a bullet for pistol or rifle ammunition, or a pellet, or shot for use in a shotgun shell.

Jul 8, 2025

US12352545 - Reduced stiffness barrel fired projectile

In various embodiments, a projectile includes a projectile body including a tail portion, a nose portion, a barrel engaging portion between the nose portion and the tail portion, and a metal jacket that defines an exterior of the projectile that surrounds an interior solid core. In one or more embodiments the projectile includes one or more circumferential grooves defined in the interior core portion, each of the one or more circumferential grooves covered by and positioned adjacent to the metal jacket and within the barrel-engaging portion. In various embodiments, during firing of the projectile, the one or more circumferential grooves define a void that allows material of one or more of the metal jacket and interior solid core to displace into the void for reduction in radial stiffness to the projectile in the barrel engaging portion.

Jul 8, 2025

US12352546 - Firearm ammunition component and method of use

A firearm ammunition component comprising a projectile body having a circular cross-section and a central channel on a forward face, a nose portion forward of the projectile body, and a gas check member rearward of the projectile body. The nose includes a curved forward end, a rear end opposite the forward end, and a stabilizing element/band between the forward and rear ends extending radially outwards from at least a portion of the nose. A shank extends from the nose rear end and within the body central channel. The gas check member includes a rearward annular wall portion forming a combustion chamber. The firearm ammunition component is adapted so only the stabilizing element/band contacts the firearm bore, ensuring loading central the bore.

Jul 8, 2025

US12352547 - Modifying a projectile casing

An apparatus, system, computer-readable medium, process, die, or combination thereof to modify a projectile casing. For example, a die and mandrel can be used to shape, resize, or otherwise modify a projectile casing. A die can include different portions or sections, where the portions or sections are designed to shape or size different portions of the projectile casing such as the neck, shoulder, or body of a projectile casing. A method to insert a projectile casing into a die, where the die already includes a mandrel, and then extracting the mandrel while the die and projectile casings are held in place.

Jul 1, 2025

US12345515 - Multi-faceted shot

Shot projectiles are disclosed that are not completely spherical. The shot has an equatorial ring, top and bottom poles, and one or more sections extending between the ring and the respective poles. The ring defines a vertical height relative to an overall diameter of the projectile. The one or more sections provide flat, concave, or convex surfaces.

Jun 24, 2025

US12339107 - Metallic, non-leaded projectile for muzzle-loading firearms and methods of making and using the same

A projectile for muzzle-loading firearms is made completely from a non-lead metal or alloy. It includes a pair of grooves to incorporate O-rings around a circular cylinder. A threaded well may be bored into the forward facing of the cylinder to facilitate insertion and/or removal of the projectile from the barrel via a cooperating ramrod. The projectile is then wrapped in a cloth patch to cover the sidewalls and bottom facing of the cylinder. A method of forming a plurality of the projectiles from standardized bar stock is also contemplated.

Jun 17, 2025

US12332035 - Customizable projectile designed to tumble

Projectiles and methods of making and using same are disclosed herein. A projectile comprises a first portion having a first cylindrical portion having a first flat end surface, a first section extending from the first cylindrical portion at a first acute angle, a second section extending from the first section at a second acute angle, and a tip section extending from the second section and terminating in a pointed tip. The projectile includes a second portion having a second cylindrical portion having a second flat end surface and a trailing portion having a generally frustoconical shape. The trailing portion tapers towards a trailing end of the projectile. A post couples the first cylindrical portion and the second cylindrical portion. The post is in contact with each of the first flat end surface and the second flat end surface.

Jun 3, 2025

US12320624 - Sacrificial device for sub-caliber munition

A device is provided for inhibiting pitch and yaw within a barrel bore of a gun-launched projectile having a nose and a boattail. The device includes an endcap, a cruciform and a plug. The endcap attaches to the boattail. The endcap includes a center cavity. The cruciform includes a central ring that engages around the endcap. The cruciform further includes a plurality of radial spokes. Each spoke extends from the ring and ends in a flange that engages the bore. The plug inserts into the ring and the cavity. After the projectile launches from the bore, the plug sheers away from the endcap, thereby causing the cruciform to separate from the endcap. Preferably, the endcap, cruciform and plug are composed of aluminum alloy.

May 27, 2025

US12313358 - Sub-mass projectile for a firearm

A sub-mass projectile for a standard, unmodified firearm, comprising a core formed from a malleable core material with at least a portion of the core material being a non-metal material. The core has a lower mass than a standard projectile for the standard, unmodified firearm. The core material has a mass and malleability that generates forces between the sub-mass projectile and the firearm that approximate operational forces of a standard mass projectile on the standard, unmodified firearm during operation.

May 27, 2025

US12313386 - Modifying a projectile casing

An apparatus, system, computer-readable medium, process, die, or combination thereof to modify a projectile casing. For example, a die and mandrel can be used to shape, resize, or otherwise modify a projectile casing. A die can include different portions or sections, where the portions or sections are designed to shape or size different portions of the projectile casing such as the neck, shoulder, or body of a projectile casing. A method to insert a projectile casing into a die, where the die already includes a mandrel, and then extracting the mandrel while the die and projectile casing are held in place.

May 20, 2025

US12305965 - Projectile, in particular deformation and/or partial fragmentation projectile, and method for producing a projectile

The present invention relates to a projectile, in particular deformation and/or partial fragmentation bullet, comprising an essentially cylindrical projectile tail, an adjoining bow sided projectile head with an essentially central opening which opens into a cavity that extends axially from the projectile head in the direction of the projectile tail, preferably into the projectile tail, which has a cavity bottom and is bounded by a wall, and an tear-off groove introduced into the wall and, at least partially surroundings the cavity, which is arranged at a distance of at least 10% of the longitudinal extension of the cavity from the cavity bottom and has a radial depth of at least 10% of a caliber diameter and/or of at least 30% of a radial wall thickness of the wall surrounding the cavity.

Apr 15, 2025

US12276482 - Method and system for sight target alignment

An apparatus, for use with a projectile launching device, includes the sight, including a viewfinder that permits a user to view an image of a target in association with a reticle, a digital image system for capturing images of the target, multiple sensors to detect a firing time the apparatus for capturing multiple first images at or close to said firing time, wherein an image processor compares images captured after said firing time with said multiple first images, and to identify an indication of a projectile impact on said target, the apparatus being configured to capture multiple second images after said firing time and including said projectile impact indication, and wherein the apparatus includes a reticle adjuster to automatically position the reticle in the viewfinder in accordance with comparison between first images and second images and the associated positions of the reticle and the projectile impact indication.