US12467729 - Low-observable projectile

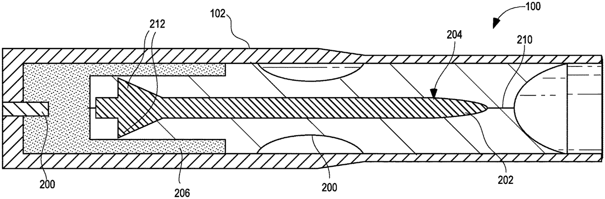
The patent describes a projectile system featuring a fin-stabilized, non-powered projectile covered in radar-absorbing material, designed to remain undetectable by radar after firing. A thermally insulating carrier surrounds the projectile, protecting the radar-absorbing layer during launch and detaching post-firing to enhance low-observability.
Claim 1
1 . A projectile system comprising: a fin-stabilized, non-powered projectile; an exterior layer of radar-absorbing material fully covering an exterior surface of the projectile, wherein the radar-absorbing material comprises iron-ball paint including microspheres; and a carrier disposed around the projectile, the carrier configured to provide a thermally insulating barrier preventing any portion of the radar-absorbing layer from being burned off during firing of the projectile system and configured to detach and fall away from the projectile after firing, leaving the layer of radar-absorbing material intact, whereby the projectile is low-observable for radar detection after firing. a fin-stabilized, non-powered projectile; an exterior layer of radar-absorbing material fully covering an exterior surface of the projectile, wherein the radar-absorbing material comprises iron-ball paint including microspheres; and a carrier disposed around the projectile, the carrier configured to provide a thermally insulating barrier preventing any portion of the radar-absorbing layer from being burned off during firing of the projectile system and configured to detach and fall away from the projectile after firing, leaving the layer of radar-absorbing material intact, whereby the projectile is low-observable for radar detection after firing.
Google Patents
https://patents.google.com/patent/US12467729
USPTO PDF
https://image-ppubs.uspto.gov/dirsearch-public/print/downloadPdf/12467729