US12607438 - Projectile and firearm system

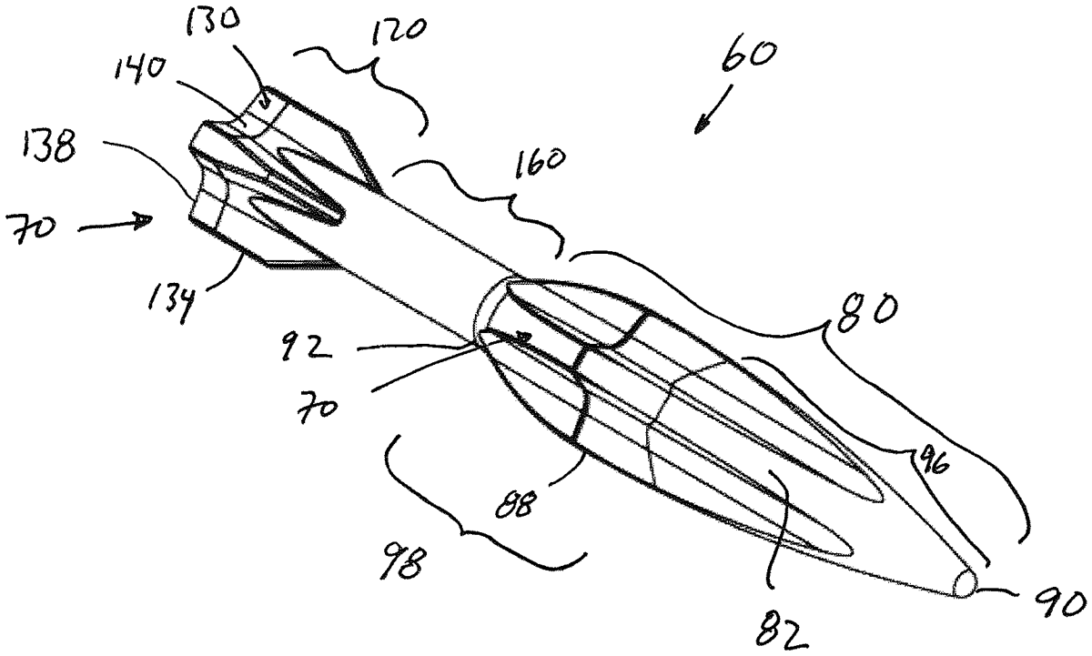
The patent describes a cartridge designed for firearms that features a projectile with a unique configuration, where the center of pressure is positioned rearward of the center of mass to enhance ballistic stability. Additionally, the projectile incorporates flight control surfaces that interact with the barrel’s bore without the need for rifling or sabots, allowing for improved accuracy and performance.
Claim 1
1 . A cartridge for a firearm having a barrel, the barrel defining a bore, the cartridge comprising: (a) a projectile having (i) an elongate body portion defining a front of the projectile and the elongate body portion extending along a longitudinal axis, the elongate body portion having a transverse dimension configured to contact the bore, and (ii) a tail portion defining a rear of the projectile, the projectile defining a plurality of longitudinal segments, the plurality of longitudinal segments including a first longitudinal segment and a second longitudinal segment, wherein the first longitudinal segment is longitudinally intermediate the front of the projectile and the second longitudinal segment, the first longitudinal segment having a first density and the second longitudinal segment having a different second density, and wherein the first density is greater than the second density; and (b) a casing coupled to the projectile, wherein the body portion and the tail portion are colinearly disposed along the longitudinal axis and define a projectile center of pressure and a projectile center of mass, the projectile center of pressure being longitudinally intermediate the rear end of the projectile and the projectile center of mass. (a) a projectile having (i) an elongate body portion defining a front of the projectile and the elongate body portion extending along a longitudinal axis, the elongate body portion having a transverse dimension configured to contact the bore, and (ii) a tail portion defining a rear of the projectile, the projectile defining a plurality of longitudinal segments, the plurality of longitudinal segments including a first longitudinal segment and a second longitudinal segment, wherein the first longitudinal segment is longitudinally intermediate the front of the projectile and the second longitudinal segment, the first longitudinal segment having a first density and the second longitudinal segment having a different second density, and wherein the first density is greater than the second density; and (b) a casing coupled to the projectile, wherein the body portion and the tail portion are colinearly disposed along the longitudinal axis and define a projectile center of pressure and a projectile center of mass, the projectile center of pressure being longitudinally intermediate the rear end of the projectile and the projectile center of mass.
Google Patents
https://patents.google.com/patent/US12607438
USPTO PDF
https://image-ppubs.uspto.gov/dirsearch-public/print/downloadPdf/12607438