US12584720 - Projectile construction, launcher, and launcher accessory

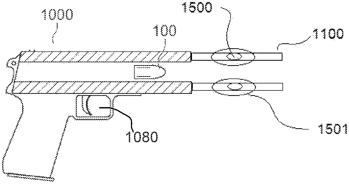
The patent describes a launcher and projectile system that utilizes a permanent magnet to induce a current in a conductive wire coil within the projectile, activating an initiator that causes the projectile housing to rupture and release its payload after launch. Additionally, an accessory for the launcher is proposed, which includes a permanent magnet to enhance the charging of the projectile.
Claim 1
1 . A projectile and launcher system, said launcher comprising a launch axis and at least one permanent magnet, said projectile comprising a housing, a payload, a conductive wire coil, a moveable ram and an initiator, wherein said at least one permanent magnet is magnetically aligned with said launch axis such that it induces a current in the conductive wire coil of the projectile during launch of said projectile, wherein said initiator is activated by said current, and wherein said activated initiator causes said projectile housing to rupture, disintegrate, separate or otherwise have an opening created therein after launch and release said payload. said launcher comprising a launch axis and at least one permanent magnet, said projectile comprising a housing, a payload, a conductive wire coil, a moveable ram and an initiator, wherein said at least one permanent magnet is magnetically aligned with said launch axis such that it induces a current in the conductive wire coil of the projectile during launch of said projectile, wherein said initiator is activated by said current, and wherein said activated initiator causes said projectile housing to rupture, disintegrate, separate or otherwise have an opening created therein after launch and release said payload.
Google Patents
https://patents.google.com/patent/US12584720
USPTO PDF
https://image-ppubs.uspto.gov/dirsearch-public/print/downloadPdf/12584720