Archery

Patents tagged Archery

Apr 21, 2026

US12604879 - Bug killing device

A bug killing bow is provided. The bug killing bow may take the form of an archery bow. The archery bow has a chamber which stores a material such as, for example small particulate material such as salt. The small particulate material may be expelled from a barrel of the bow by air. When the bow is aimed at an insect and the small particulate material is expelled, the small particulate material may be used to kill the insect.

Apr 21, 2026

US12607429 - Bow attachment weight rest

A weight support apparatus and method of use for attachment to an archery bow. The apparatus includes a base having two wings that extend laterally out to support the weight of a bow. Arms are positioned perpendicularly on the base forming a gap between opposing arms to receive a portion of a bow. One or more arms are provided to mount the apparatus on a bow by introducing a portion of the bow between the arms. A through bolt is also provided that secures the apparatus to the bow by tightening the arms against the bow.

Mar 31, 2026

US12590777 - Lever system for lever bow

An archery bow is disclosed. Bows of the present disclosure comprise lever cams. The lever cam includes a base and an elongated lever arm that extends upwards or downwards, depending on which end of the bow the lever cam is attached to. The lever cams are rotatably secured between the split limbs of the bow. In some embodiments, the bows include an adjustment screw to change the position of an offset axle relative to a lever axle. In other embodiments, the bows include a pair of adjustable bowstring modules attachable to the respective elongated lever arms to alter the draw length of the bowstring.

Mar 31, 2026

US12590782 - Archery bow sight support systems

The disclosed technology includes a support system for an optical sighting device of a bow. The support system includes a support structure configured to attach to a bow and an elevation assembly configured to move along an elevation direction relative to the support structure. The support structure can include an elevation actuator configured to cause the elevation assembly to move along the elevation direction when the elevation actuator is actuated and a windage assembly configured to move along a windage direction relative to the support structure. The windage direction can be approximately perpendicular to the elevation direction. The support structure can further include a windage actuator configured to cause the windage assembly to move along the windage direction when the windage actuator is actuated. The windage actuator can be disposed at least partially in the elevation actuator.

Mar 31, 2026

US12590785 - Target pins and target pin holster system

A target pin holster system includes target pins, which are used to secure a paper target face to a penetrable archery target, and a holster that securely stores the target pins when they are not in use. Each target pin houses an embedded magnet which is attracted to a magnet embedded in the target pin retention holster resulting in safe and secure storage for the target pins when they are not in use.

Mar 24, 2026

US12584709 - Archery bow riser with stabilizing damper

In some embodiments, an archery bow comprises a riser comprising a grip location and a cavity. A first limb is supported by the riser and attached by a first limb fastener. A second limb is supported by the riser and attached by a second limb fastener. A bowstring extends between the limbs. A vibration damper is located in the cavity, the vibration damper comprising a resilient member and a weight. A first distance from the bowstring to the first limb fastener is less than a second distance from the bowstring to the vibration damper.

Mar 17, 2026

US12578161 - Archery cam set for compound bows

A set of archery cam devices for an archery bow is disclosed herein, including first and second cam devices configured to be rotatably coupled to first and second limbs of an archery bow, and having first and second bowstring sheaves, first and second control sheaves, and first and second power cable sheaves. When the archery bow is vertically oriented: a vertical riser plane extends through the riser ends; a vertical bowstring plane extends through the first and second bowstring sheaves; a vertical control plane extends through the first and second control sheaves; first and second vertical power cable planes extend through the first and second power cable sheaves; the vertical bowstring plane and the vertical control plane are located on opposite sides of the vertical riser plane; and the first and second vertical power cable planes are located on opposite sides of the vertical riser plane.

Mar 17, 2026

US12578169 - Archery sight mounting assembly

An archery sight mounting assembly includes an elevation rail having a longitudinal axis, an elevation carriage mounted on the elevation rail and a windage assembly connected with the elevation carriage. An elevation adjustment knob is connected with the elevation carriage and is operable to displace the carriage relative to the elevation rail. The windage assembly is operable to displace a scope in a direction normal to the longitudinal axis of the elevation rail. The windage assembly is spaced from the inner circumference of the elevation adjustment knob and includes a windage adjustment knob arranged on a side of the elevation carriage opposite the elevation knob. Alternatively, the windage adjustment knob may be arranged on a side of the elevation rail opposite and beyond the elevation adjustment knob relative to the archer. Rail guide and tension assemblies are also provided between the elevation carriage and the elevation rail.

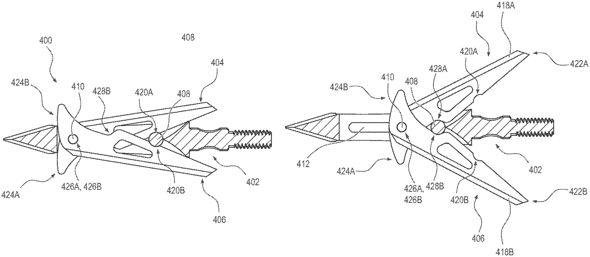
Mar 17, 2026

US12578171 - Expandable broadhead for arrow

A broadhead for an archery bow. The broadhead includes a member, a first blade, a second blade, and a magnet. The first blade and the second blade are coupled to the member. The first blade and the second blade form a plane. The magnet is at least partially disposed within the member. In some examples, the magnet has a longitudinal axis extending perpendicular to the plane. In some examples, each of the first and second blades have respective cutout regions interfacing the magnet while the broadhead is in a first configuration and/or a second configuration.

Mar 10, 2026

US12571607 - Crossbow with pulley assembly

A crossbow includes a flexible limb with a first end coupled to a frame and a second end. The crossbow includes a draw string that is configured to move between a released position and a drawn position. The crossbow includes a pulley assembly with a lever arm rotatably coupled to the flexible limb and configured to rotate about a lever arm axis. The pulley assembly includes a pulley rotatably coupled to the lever arm and configured to rotate about a pulley axis that is spaced apart from the lever arm axis by a fixed distance. The pulley includes a first and second draw string grooves. The draw string is received by the first and second draw string grooves. The lever arm and the pulley are each configured to rotate in a first direction as the draw string is moved from the released position to the drawn position.

Mar 3, 2026

US12566041 - Crossbow with pulleys that rotate around stationary axes

A crossbow including a frame with a riser and a center rail. First and second flexible limbs are attached to the riser. A draw string is received in string guide journals in first and second cams rotatably attached to the frame. The draw string unwinds from the string guide journals as it translates between a released configuration and a drawn configuration. The first and second cams include at least first and second power cable take-up journals, respectively. At least first and second power cables are attached to the first and second limbs and received in the first and second power cable take-up journals, respectively. As the crossbow is drawn from the released configuration to the drawn configuration the first and second power cables wrap onto the respective first and second power cable take-up journals.

Mar 3, 2026

US12566042 - Reduced length crossbow

A crossbow including a center rail including a bottom portion, a proximal end, and a distal end positioned opposite the proximal end, the center rail at least partially defining a crossbow length and a midpoint plane intersecting a horizontal midpoint of the crossbow, a riser extending horizontally from the distal end, one or more limbs coupled to the riser, and a trigger extending from the bottom portion of the center rail and positioned within ten percent of the crossbow length from the midpoint plane.

Mar 3, 2026

US12566043 - Bow and cam assembly

A crossbow string guides that include upper and lower helical power cable journals on opposite sides of a draw string journal. A separation between first and second axis of the string guides in a drawn configuration is about 5 inches to about 10 inches and the draw string in the drawn configuration comprises an included angle of less than about 25 degrees. First and second pairs of power cables wrap and unwrap at least 300 degrees around, the respective first and second upper and lower helical power cable journals as the draw string moves between a released configuration to a drawn configuration.

Mar 3, 2026

US12566046 - Archery bow risers and bow accessories having leveling devices

Archery bow risers and bow accessories are provided which comprise integrated level devices for use in, e.g., tuning and installing accessories on archery bows such as compound bows. For example, a bow sight device comprises a mounting bracket configured for attachment to a bow riser, and a sight housing adjustably connected to the mounting bracket. The mounting bracket comprises a first level device and a second level device. The first level device is configured to enable a user to level the bow riser in a first direction, when the bow sight device is attached to the bow riser. The second level device is configured to enable a user to level the bow riser and the sight housing in a second direction which is orthogonal to the first direction, when the bow sight device is attached to the bow riser.

Feb 24, 2026

US12560404 - Crossbow

The present disclosure is directed to a crossbow having first and second limbs with distal portions pivotally coupled to the frame at distal limb mounts and proximal portions pivotally coupled to the frame at proximal limb mounts. First and second cams are attached to the first and second limbs at locations between the distal portion and the proximal portions. A cocking mechanism slides on the center rail to engage with a draw string in the released configuration and slides to a retracted position to move the draw string to the drawn configuration and to engage with a trigger assembly.

Feb 17, 2026

US12553682 - Archery cam adjuster and associated method

An archery cam adjustment assembly for an archery bow includes an axle extending along an axis from a first end to an opposing second end and structured to traverse a limb of an archery bow. The axle further includes a central portion defining a plurality of threads. A cam support is structured to support a cam and to engage the central portion of the axle. A securing member is structured to be moved between a locked and an unlocked state. In the unlocked state, the axle is enabled to rotate freely relative to the cam support to move the cam support along the axis and displace the cam in a lateral direction with respect to the limb. In the locked state, the axle is inhibited from rotating relative to the cam support and the cam support is inhibited from moving along the axis.

Feb 17, 2026

US12553695 - Archery broadhead and related method of use

An expandable broadhead is provided with a ferrule defining a slot within which one or more blades are moveably mounted to a pin. A retainer in the slot can secure the blades in a closed mode when an arrow associated with the broadhead is shot from an archery bow. The retainer can include a dimple and a blade can include a retainer hole within which the dimple nests to secure the blade. The retainer hole can be common with and/or extend from a mass reducing opening defined by the blade. The dimple can ride over contours of the blade on a path to enter the hole with significantly less force than that to release the dimple and retainer from, and deploy, the blade. The slot can increase in depth beyond the dimple to reduce frictional engagement of the blades with slot sidewalls during deployment. A related method is provided.

Feb 17, 2026

US12553916 - System for measuring skew and speed of an arrow

An archery tuning apparatus includes two light detection units, each comprising a line laser source emitting a planar fan of laser light and a curved array of spaced-apart light sensors. The units are configured with parallel laser fans, creating an overlap target region when viewed along a normal axis. The curved sensor arrays, with radii of curvature approximating their irradiation distances, optimize detection accuracy. Integrated circuitry and software collect and analyze data from arrows shot through the target region during tuning sessions. The apparatus connects to a mobile device, which stores and displays tuning session information through a dedicated app. This system provides archers with precise measurements of arrow speed and skew, offering advantages over traditional paper tuning methods. The mobile interface allows for easy data management, equipment tracking, and remote technical assistance, enhancing the overall archery tuning experience.

Feb 10, 2026

US12546556 - Arrow rest

An arrow rest is moveable between an encapturing configuration and a discharge configuration. The arrow rest comprises a body, a first arm, and a second arm. The first arm is movably mounted with respect to the body. The second arm is also movably mounted with respect to the body. Responsive to movement from the encapturing configuration to the discharge configuration a first portion of the first arm and a first portion of the second arm operate to move away from each other, while a second portion of the first arm and a second portion of the second arm operate to move toward each other.

Feb 10, 2026

US12546558 - Adjustable finger support for archery release

An adjustable finger support for an archery release includes a handle having a longitudinal axis, top and bottom portions and interior and exterior side surfaces. A pair of finger beds are configured for pivotal connection with the handle. A drive assembly connects the finger beds with the handle and displaces the finger beds relative to the handle to a desired width. The drive assembly includes a pair of brackets pivotally connected with the handle. The angle of the finger beds is further adjustable relative to the brackets, so that the finger beds are adjustable in both width and to provide variable finger support and an optimal fit for the archer to better positions a head portion of the archery release toward a target.

Feb 3, 2026

US12540790 - Adjustable finger support for archery release

An adjustable finger support for an archery release includes a handle portion having a longitudinal axis, top and bottom portions and interior and exterior side surfaces. A finger bed is pivotally connected with the handle portion for movement about a pivot axis at the top of the finger bed parallel to the longitudinal axis. Preferably, the finger bed is arranged in a recess in the handle portion exterior side surface for pivotal movement therein relative to the handle portion. The bottom portion of the finger bed is spaced from the handle portion at an angle desired by the archer and locked into place. Angular adjustment provides an optimal fit for the archer and better positions a head portion of the archery release toward a target.

Jan 27, 2026

US12535286 - Archery bow with pass through cabling

In some embodiments, a crossbow comprises a first rotatable member comprising a first pass-through aperture and a second rotatable member comprising a second pass-through aperture. A first power cable comprises a first pass-through segment and a second power cable comprises a second pass-through segment. The first pass-through segment is oriented in the first pass-through aperture and the second pass-through segment is oriented in the second pass-through aperture. In some embodiments, the cables attach to a stock. In some embodiments, the cables attach to a prod.