Training

Patents tagged Training

Apr 14, 2026

US12601566 - Howitzer training gun

A howitzer training gun with a gun carriage, a gun cradle supported by the gun carriage, a training gun barrel, and an unloading tray disposed at or near a forward end of the gun cradle, the unloading tray having a travel position and an operating position, and when in the operating position the unloading tray is arranged to receive a projectile from the training gun barrel and transfer the projectile to the ground.

Apr 14, 2026

US12601571 - Electronic shooting training target

An electronic shooting training target has a target seat, and multiple target holes penetrate through the target seat. A base plate includes a plate body, multiple triggers and a controller. The base plate is mounted on a rear side of the target seat and positioned at a distance from the rear side. Each of the sensing assemblies has a hollow rod, an elastic part, an impact part, and a screw. The hollow rod is mounted through one of the target holes. The elastic part is sleeved on one end of the hollow rod. The impact part is mounted on the hollow rod. The screw is mounted through another end of the hollow rod and is fixed on the impact part.

Mar 31, 2026

US12589315 - Virtual and augmented reality shooting systems and methods

Provided herein are systems and methods for training, maintaining and using skills for shooting a target with a projectile. More particularly, the invention relates to virtual and/or augmented reality, augmented reality, mixed reality and consensual reality systems and methods to train and maintain shooting skills in military, law enforcement, competition and sporting settings, environments and missions.

Mar 17, 2026

US12578172 - System and method for obtaining training munition firing signature

A training munition assembly for use with a weapon includes a case, a first firing element, and a release assembly. The case defines an interior cavity. The first firing element is disposed within the interior cavity. The release assembly is coupled to the case and engages the first firing element. The release assembly is configured to cause movement of the first firing element from a first position within the interior cavity to a second position within the interior cavity responsive to actuation of the release assembly from outside of the case. Movement of the first firing element is configured to generate a firing signature that is indicative of actuation of the release assembly.

Feb 10, 2026

US12546568 - Firearm training apparatus and related methods of use

A method of firearm training includes the step of attaching a cord to a firearm and the step of attaching the cord to a frame. The frame may include two vertically oriented members oriented in parallel spaced relation. Several attachment points are disposed upon the vertical members, and the cord may be engaged with an attachment point selected from the several attachment points. The method of firearm training includes the step of tensioning the cord while aiming the firearm thereby applying a force to the firearm. In various aspects, the cord may be attached to the firearm by attaching the cord to a loop that is attached to a rail secured to the firearm. Related firearm training apparatus are also disclosed.

Nov 11, 2025

US12467720 - High-precision infantry training system (HITS)

A method of determining a point-of-impact of a ballistic projectile comprising: within a predetermined site using a weapon comprising a barrel, a camera, and an IMU configured to provide data concerning barrel attitude: detecting a firing event associated with the weapon; obtaining metadata associated with the weapon; determining estimated pointing angles of the weapon; obtaining a reference image of the site; culling portions of the reference image not associated with the estimated pointing angles, creating a culled reference image; projecting the culled reference image onto an image plane; obtaining an image from the weapon-mounted camera, the image being centered on the pointing direction weapon at the time of firing; registering the image from the weapon-mounted camera with the culled reference image; and calculating the true pointing angles of the weapon based on the alignment of the image obtained by the weapon-mounted camera with the culled reference image.

Oct 7, 2025

US12435952 - Dry fire training device

A multi-function dry fire training device to be inserted into the chamber of a firearm, which comprises an illuminator for emitting, upon receiving a command from a controller, a beam of visible or invisible illumination from the barrel of the firearm, the beam being parallel to its central axis; a controller for controlling the functionality of the device including illumination of the illuminator, in response to activation of the firearm trigger; an actuator, being electrically connected to the controller, for activating the controller whenever being struck by the firearm striker and a power source for providing DC power to the controller and illuminator.

Jul 29, 2025

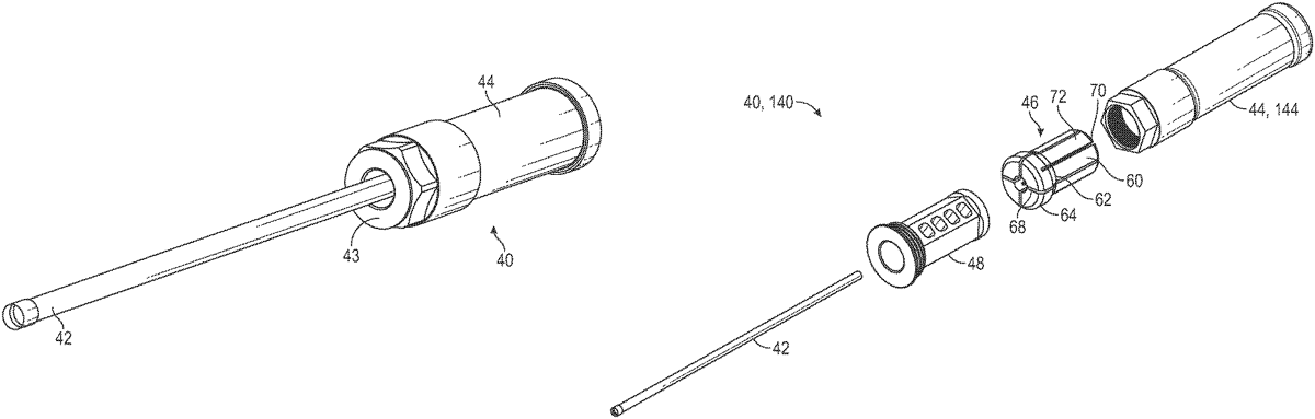
US12372321 - Conversion kit for replacing a barrel on a service weapon with a training barrel to fire reduced energy training rounds

A conversion kit for installation into weapon to replace the service barrel with a sub-caliber barrel for firing reduced energy training cartridges. The conversion kit includes a barrel sleeve, a barrel support and a collet disposed between in the barrel support for fixedly securing the barrel sleeve therein. The collet is disposed in a double tapered bore formed in the barrel support for fixedly securing the barrel sleeve at both ends of the collet into the barrel support. A flash hider, which has been removed from the service barrel, is threadably received in the barrel support and functions as a collet nut for clamping the collet onto the barrel sleeve.

May 20, 2025

US12305947 - Off-trigger finger rest for firearms

An off-trigger safety training device for firearms and method of use. The off-trigger safety training device is removably attached to a firearm proximal to a trigger of the firearm. The off-trigger safety training device is positioned for longitudinal alignment with a barrel of the firearm and includes a concave recess oriented in alignment with the barrel of the firearm for receiving the operator's trigger finger. Longitudinally extending ribs protrude from a face of the concave recess permit the user to align their finger within the concave recess and receive a complementary longitudinal tactile engagement with the ribs for positive engagement of the trigger finger with the off-trigger safety training device.

May 13, 2025

US12298097 - Dry fire practice training device with bolt carrier group for rifles

When a semiautomatic rifle is live fired, it is ready to be fired again. The shooter's hands remain in the firing position, and just to the trigger finger and trigger are employed. But with dry fire practice, the shooter must cycle the rifles bolt to reset the firing pin. The shooter must move one hand from the shooting position on the rifle, the rifles along bolt is pulled back to reset the firing pin, the rifle is repositioned, a new site picture is acquired, and then the next trigger press can be accomplished. This invention replaces the rifles bolt carrier group and provides realistic muscle memory training by duplicating the action of the trigger, the feel and the sound of the release of the firing pin, and the resetting of the trigger for additional trigger activations. The invention does not interact with the rifles firing pin.

Apr 15, 2025

US12276471 - Direct fire weapon system training and firing aid

A weapon system training and firing aid comprising a shoulder bar attachment for elevating and/or traversing a weapon system is disclosed. It may have an elongate arm for attachment to the weapon system and extending in a generally rearward direction from the weapon system. Once coupled to a weapon system, it gives a user a stable method of supporting and moving the weapon system, allowing the user to quickly elevate and traverse the weapon system by giving the user an additional point of contact, for example at the shoulder or under the arm, to support and stabilize the weapon system.