US12601571 - Electronic shooting training target

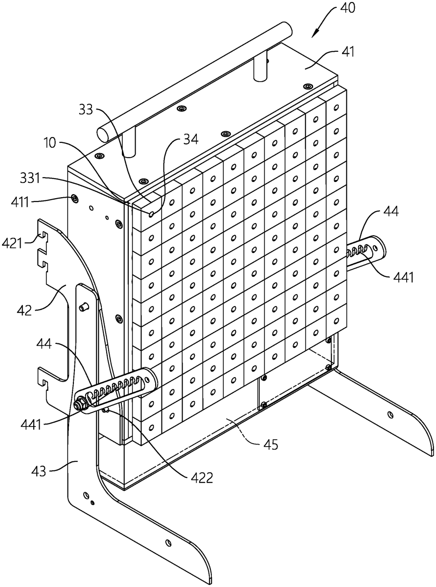
The electronic shooting training target features a target seat with multiple holes and a base plate that houses triggers and a controller, positioned at a distance from the target seat. Each sensing assembly includes a hollow rod, elastic part, impact part, and screw, designed to detect impacts and provide feedback during training sessions.
Claim 1
1 . An electronic shooting training target comprising: a target seat comprising a front side and a rear side, and multiple target holes penetrating through the target seat; a base plate comprising: a plate body mounted on the rear side of the target seat and positioned at a distance from the rear side; multiple triggers, each of the triggers mounted on a surface of the plate body, the surface of the plate body being adjacent to the target seat; and a controller mounted on the plate body and electrically connected to each of the triggers; multiple sensing assemblies, each of the sensing assemblies including: a hollow rod mounted through one of the target holes, and each of the hollow rods corresponding in position to a respective one of the triggers; an elastic part sleeved on one end of the hollow rod and one end of the elastic part abutting the front side of the target seat; an impact part covering said one end of the hollow rod and abutting another end of the elastic part; and a screw, one end of the screw mounted through another end of the hollow rod and fixed on the impact part. a target seat comprising a front side and a rear side, and multiple target holes penetrating through the target seat; a base plate comprising: a plate body mounted on the rear side of the target seat and positioned at a distance from the rear side; multiple triggers, each of the triggers mounted on a surface of the plate body, the surface of the plate body being adjacent to the target seat; and a controller mounted on the plate body and electrically connected to each of the triggers; a plate body mounted on the rear side of the target seat and positioned at a distance from the rear side; multiple triggers, each of the triggers mounted on a surface of the plate body, the surface of the plate body being adjacent to the target seat; and a controller mounted on the plate body and electrically connected to each of the triggers; multiple sensing assemblies, each of the sensing assemblies including: a hollow rod mounted through one of the target holes, and each of the hollow rods corresponding in position to a respective one of the triggers; an elastic part sleeved on one end of the hollow rod and one end of the elastic part abutting the front side of the target seat; an impact part covering said one end of the hollow rod and abutting another end of the elastic part; and a screw, one end of the screw mounted through another end of the hollow rod and fixed on the impact part. a hollow rod mounted through one of the target holes, and each of the hollow rods corresponding in position to a respective one of the triggers; an elastic part sleeved on one end of the hollow rod and one end of the elastic part abutting the front side of the target seat; an impact part covering said one end of the hollow rod and abutting another end of the elastic part; and a screw, one end of the screw mounted through another end of the hollow rod and fixed on the impact part.
Google Patents
https://patents.google.com/patent/US12601571
USPTO PDF
https://image-ppubs.uspto.gov/dirsearch-public/print/downloadPdf/12601571