Pistol

Patents tagged Pistol

Apr 21, 2026

US12607430 - Pistol stabilizer platform

A pistol stabilizer platform includes a platform member including multiple mounting provisions, a forward handgun clasping assembly secured to the platform member at a first one of the multiple mounting provisions, and a rear grip abutment member secured to the platform member at a second one of the multiple mounting provisions. The platform member is located only on one side of the handgun placed in the pistol stabilizer platform.

Apr 14, 2026

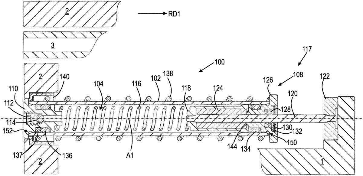
US12601557 - Quick coupling muzzle booster and surpressor adaptor system for locked breech pistols and pistol caliber carbines

The present invention provides a quick coupling muzzle booster and suppressor adaptor system having a quick coupling muzzle booster and suppressor adaptor and direct rifle mount that can be coupled to a suppressor and mounted on a lock breech pistol or pistol caliber carbine. The system according to the invention provides wherein the quick coupling muzzle booster includes a booster slide with an external quick connect for coupling to the suppressor adaptor, and wherein the external quick connect of the booster slide includes a plurality of lugs corresponding to a proximal end of a housing of the suppressor coupling, and wherein the muzzle booster includes a booster piston that is coupled to a pistol. The system according to the invention may provide wherein the muzzle booster includes a booster piston nut with a spring, wherein the booster piston nut is coupled to the booster piston.

Feb 10, 2026

US12546548 - Charging handle assembly for pistol slide

In some examples, a charging handle assembly for a pistol slide includes a base including at least one connecting feature to facilitate connection of the base adjacent a lateral side of a pistol slide and a charging handle including a base portion and a lever portion, the charging handle having a length extending from a proximal end at the base portion to a distal end of the lever portion, wherein the base portion of the charging handle is connected to the base to permit the charging handle to move between a first position relative to the base and a second position relative to the base.

Jan 6, 2026

US12516901 - Accessories for pistol-to-rifle conversion kit

A pistol-to-rifle conversion kit includes a rifle body that includes a lower receiver, which includes a grip mounting portion, which is rearwardly adjacent to a trigger guard, which is rearwardly adjacent to a magazine well receiving portion, an auxiliary trigger sliding mounted in the rifle body and including an elongate member and a forward trigger interface member, which extends from a forward portion of the elongate member and which is configured to interface with a trigger of a pistol mounted in the rifle body, and a trigger member which extends from the elongate member for directly contacting a shooter's finger, and one or more of the following in any combination thereof: an ambidextrous rifle body quick-lock fastener, an ambidextrous magazine release button, an ambidextrous safety selector, and an assault-rifle-style charging handle.

Dec 9, 2025

US12492878 - Recessed expansion chamber in a gun slide configured for improving recoil mitigation in firearms

A recessed expansion chamber in a gun slide is configured for improving recoil mitigation in firearms. The gun slide is for a pistol firearm with a barrel and includes a recessed expansion chamber. The recessed expansion chamber is positioned forward of the barrel end of the barrel. An expansion chamber opening is included through the gun slide in communication with the recessed expansion chamber. The recessed expansion chamber is configured to allow gases leaving the barrel at the barrel end to expand and be directed out of the gun slide through the expansion chamber opening.

Dec 2, 2025

US12487043 - Device for disassembling a firearm

This disclosure concerns a pistol having an anti-disassembly protection device, which includes a disassembly key arranged rotatably in a frame, and which can be manually turned between an angular locking position and an angular disassembly position, and which disassembly key may occupy a transverse resting position and a transverse rotation position. The disassembly key has blocking means that cooperate with additional blocking means on the frame in order to prevent rotation of the disassembly key into the angular disassembly position when the disassembly key occupies the transverse resting position.

Nov 4, 2025

US12460883 - Self-loading pistol

A self-loading pistol includes a housing which, in particular by means of two wall portions that are located opposite one another in the transverse direction, and a cover portion, defines a receiving region for a locking device of the self-loading pistol. In a closed state of the self-loading pistol, the locking device is received, at least in portions, inside the receiving region of the housing and is movable inside the receiving region of the housing, in particular along the longitudinal axis of the receiving region.

Oct 28, 2025

US12455132 - Pistol having a plurality of operating conditions

Pistols having a plurality of operating conditions have a frame having a trigger, an elongated slide connected to the frame and having a rear end facing a user, a moving control element on the elongated slide and positioned in a first position when the pistol is in a first operating condition, and positioned in a second condition when the pistol is in a second operating condition, an indicator on the moving control element visible to the rear, indicia on the elongated slide having a first element associated with the first operating condition and a second element associated with the second operating condition, and the indicator being registered with the first element of the indicia when the moving control element is in the first position, and the indicator being registered with the second element of the indicia when the moving control element is in the second position.

Jul 1, 2025

US12345485 - Pistol slide restraining tool

A pistol slide restraining tool has a frame, a first restraint element connected to the frame and configured to engage a lower portion of the downwardly-extending grip, a second restraint element connected to the frame at a level above the first restraint element and configured to engage a rear portion of the downwardly-extending grip at an intermediate position above the lower portion of the downwardly-extending grip, a third restraint element connected to the frame and having a slide engagement facility configured to selectably engage the reciprocating slide, and the third restraint element being connected to the frame by an adjustable element operable to move the reciprocating slide from a forward battery position to a rearward recoil position and to restrain the reciprocating slide in the recoil position. The first restraint element may engage a forward-facing portion of the downwardly-extending grip.

Jul 1, 2025

US12345488 - Self-loading pistol with a pre-cocked firing pin with an assembly for safe disassembling

A self-loading pistol with a pre-cocked firing pin and with an assembly for safe disassembling, comprising a trigger bar ( 7 ) with a peripherally at least partly closed frame part ( 7 c ) to surround a pistol magazine ( 39 ). The frame part ( 7 c ) having, with respect to the shooting direction, a vertical surface ( 7 m ) arranged on its rear side, and on the front side, a lug ( 7 f ) for catching a firing pin ( 3 ). The trigger bar ( 7 ) is arranged in the pistol frame on a cross pin ( 29 ) that crosses the vertical surface ( 7 m ). The trigger bar ( 7 ) is moveable by means of a trigger ( 15 ). In the pistol frame, over the trigger bar ( 7 ), a disassembling lever ( 11 ) is arranged that has a button ( 11 d ) and a pivot ( 11 a ) that carries a cam ( 18 ) for engagement with the trigger bar ( 7 ). The cross pin ( 29 ) passes through a guide cam ( 7 e ) arranged in the vertical surface ( 7 m ). The vertical surface ( 7 m ) has, at its side facing the magazine ( 39 ), a contact surface ( 7 i ) for the magazine ( 39 ). An arm ( 7 k ) protrudes from the frame part ( 7 c ) at its front side with respect to the shooting direction. A pulling thumb ( 7 a ) and at a distance from it, a support stop ( 7 j ) being arranged at the free end of the arm ( 7 k ). The cam ( 18 ) has a nose ( 18 a ) at one side and a protrusion ( 18 b ) at the opposite side. The nose ( 18 a ) reaches between the pulling thumb ( 7 a ) and the supporting stop ( 7 j ) of the trigger bar ( 7 ). The protrusion ( 18 b ) is bringable into a recess ( 1 a ) at the facing side of the slide ( 1 ).

Jul 1, 2025

US12345493 - Tool-less takedown bushing/compensator device for pistol

A bushing/compensator device for a firearm is provided that includes a compensator member having a first aperture having an axis that is coaxial with the axis of the barrel. A second aperture has an axis that is coaxial with the axis of the guide rod when the device is mounted on the slide. A quarter turn bayonet mount is disposed at a rear end of the first aperture that mates with a bayonet mount aperture in the slide. When the bayonet mount is locked, the axis of the second aperture is aligned with the axis of the guide rod of the pistol, and when the bayonet mount is unlocked, the device is removable from the slide. A button assembly is retained in the second aperture and includes a head at one end and a fastener at the other. The rod is slidable from a first position wherein the head is adjacent to the front end of the second aperture, to a second position wherein the second end of the rod depresses the recoil spring plug. A spring biases the rod to the first position.

Jun 24, 2025

US12339080 - Safety mechanism for a pistol

The present disclosure relates to an automatic or semiautomatic pistol including a slide and a magazine. The magazine feeder includes an actuator that controls a slide stop. The slide stop, located rearward of the magazine, is designed to switch from a low to a high position. In its high position, the slide stop locks the slide in a rearward position. The pistol also includes a control lever for the slide stop, which is attached at one end to rotate about a pin forward of the magazine. The control lever includes a feeler that is lifted by the control actuator when the magazine is empty, causing the slide stop to switch from its low to high position. The slide stop may have ambidextrous manual releases rigidly connected to each other across the pistol.

Jun 17, 2025

US12332018 - Pistol holster

A pistol holster which is formed by a rigid hollow body which fully covers the entire firearm except for the grip and thus protects it from damage, containing a longitudinal inner cavity situated inside and, under the back of the holster in which cavity there is movably and flexibly seated firearm sight guide, engaged in the holes in the body of which guide are spring elements mounted and locked therein, which also fit against the flat locking plate in the cavity of the holster with the holster also containing a sight cover to secure the position of the sight guide with the locking plate and spring elements in the cavity.

Jun 3, 2025

US12320601 - Concealable pistol

A pistol comprises a barrel connected to a frame that has a grip portion defining an elongated magazine well. A magazine defining a plurality of chambers is removably receivable within the well. A trigger assembly connected to the frame engages a magazine with a follower or cam surface by which trigger assembly advances the magazine within the well and indexes the magazine along its length to sequentially align each chamber with the barrel, and sequentially discharge each cartridge in the magazine. The follower elements may be arranged parallel to the length of the magazine so that each may be associated with a particular chamber. A “safety” condition is effectible by pushing a loaded magazine downward and into a concealable condition with its chambers out of alignment with the gun barrel and wherein a transfer bar safety blocks the hammer from inserting its firing pin into a magazine chamber.

Jun 3, 2025

US12320606 - Modular pistol grip

A modular pistol grip includes one or more modular extenders configured to couple to a main grip. The modular pistol grip further includes an interchangeable backstrap configured to couple to the main grip and the one or more modular extenders. The one or more modular extenders are configured to extend a length of the modular pistol grip when coupled to the main grip.

Jun 3, 2025

US12320607 - Handgun

A pistol comprises a frame having a grip defining a magazine well and frame rails with a slide connected to the frame to reciprocate with respect to the frame between a forward battery position and a rearward recoil position. The slide defines rail passages configured to engage the frame rails, and the rail passages include upward facing elongated ledge surfaces configured to engage the frame rails with a selected overlap amount. The ledge surfaces have a plurality of different regions along their lengths with the different regions having different overlaps. The ledge surfaces may have a greater overlap at end portions, and a lesser overlap amount at an intermediate portion, with the intermediate position being proximate the magazine well, and preferably a portion of at least one of the frame rail ends remains engaged with at least one of the frame rails during motions between battery and recoil positions.

May 20, 2025

US12305946 - Tool-less takedown rod for pistol

A recoil rod assembly is provided, including a front rod and a rear rod. A cylindrical protuberance is disposed at the rear end of the front rod or the front end of the rear rod. A cylindrical aperture is disposed at the other. The axis of the cylindrical protuberance or the axis of the cylindrical aperture is offset from the axis of the rear rod. The cylindrical protuberance is disposed in the cylindrical aperture, wherein the axis of the cylindrical protuberance and the axis of the cylindrical aperture are coaxial. The front rod is rotatable with respect to the rear rod about the coaxial axes from a first position wherein the axis of the front rod is coaxial with the axis of the rear rod to a second position wherein the axis of the front rod is offset from the axis of the rear rod.