US12332018 - Pistol holster

pistolholster
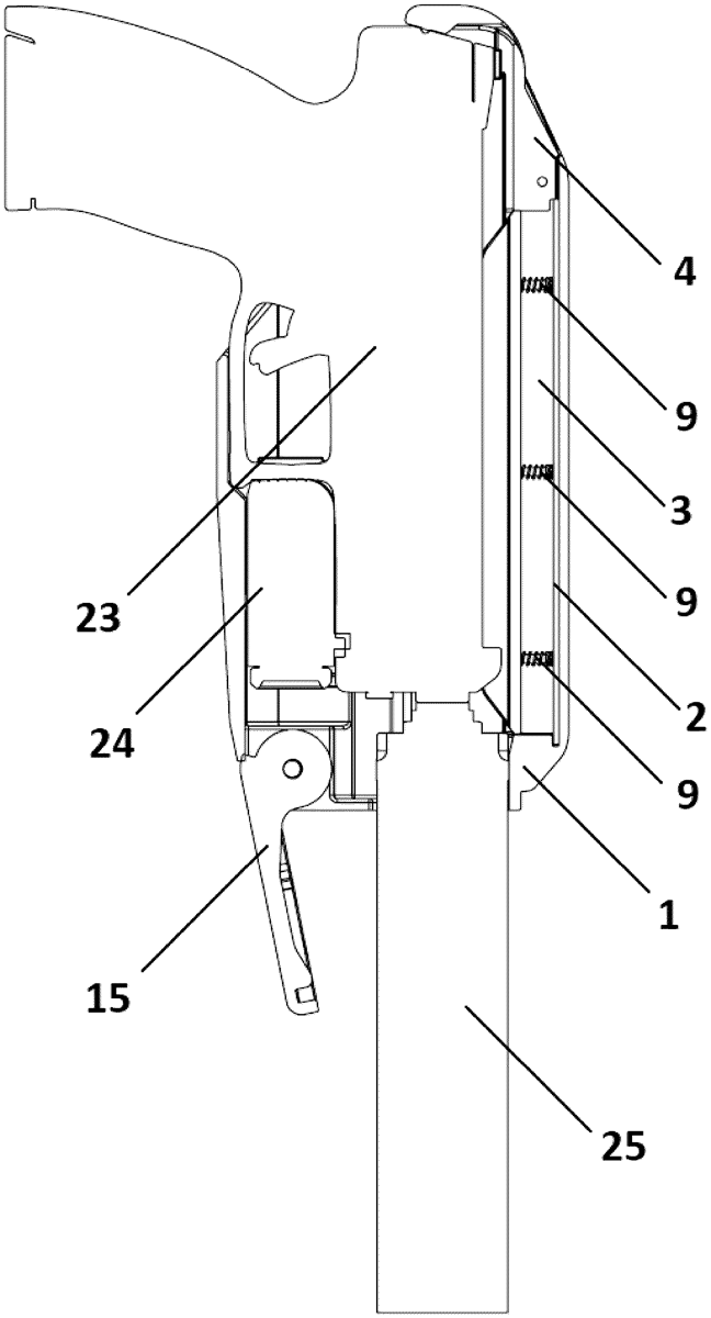
The patent describes a pistol holster designed as a rigid hollow body that fully encloses a firearm, except for the grip, to protect it from damage. It features a longitudinal inner cavity that houses a movable firearm sight guide, secured by spring elements and a locking plate, along with a sight cover to maintain the guide’s position.
Claim 1
- A pistol holster which is formed by a rigid hollow body which fully covers an firearm except for a grip and thus protects the firearm from damage, wherein the pistol holster contains a longitudinal inner cavity situated inside and under a back of the pistol holster, in which longitudinal inner cavity there is a movably and flexibly seated firearm sight guide, engaged in holes in the rigid hollow body of which firearm sight guide are spring elements mounted and locked therein, which also fit against a flat locking plate in the longitudinal inner cavity of the pistol holster, with the pistol holster also containing a sight cover to secure a position of the firearm sight guide with the flat locking plate and spring elements in the longitudinal inner cavity.
Google Patents
https://patents.google.com/patent/US12332018
USPTO PDF
https://image-ppubs.uspto.gov/dirsearch-public/print/downloadPdf/12332018