Mounting

Patents tagged Mounting

Mar 17, 2026

US12578165 - Handguard mounting system

Embodiments are directed toward a handguard system for a rifle. In some embodiments, the system includes a handguard and a fastener. The upper portion of the handguard defines fastener apertures in opposite sides of the handguard. The fastener is configured to extend through the fastener apertures and to clamp the handguard to a barrel nut. In some embodiments, the system is devoid of separable components disposed between at least one end portion of the first fastener and an exterior surface of the handguard when the handguard is fully installed on the rifle. Accordingly, the system increases the ease of installing and servicing the handguard on the rifle.

Mar 17, 2026

US12578169 - Archery sight mounting assembly

An archery sight mounting assembly includes an elevation rail having a longitudinal axis, an elevation carriage mounted on the elevation rail and a windage assembly connected with the elevation carriage. An elevation adjustment knob is connected with the elevation carriage and is operable to displace the carriage relative to the elevation rail. The windage assembly is operable to displace a scope in a direction normal to the longitudinal axis of the elevation rail. The windage assembly is spaced from the inner circumference of the elevation adjustment knob and includes a windage adjustment knob arranged on a side of the elevation carriage opposite the elevation knob. Alternatively, the windage adjustment knob may be arranged on a side of the elevation rail opposite and beyond the elevation adjustment knob relative to the archer. Rail guide and tension assemblies are also provided between the elevation carriage and the elevation rail.

Feb 10, 2026

US12546564 - Locking belt slide

A locking belt slide assembly is used to mount and to support an implement (such as a handgun, for example) or an implement holster (such as a handgun holster, for example), or the like (e.g., various pouches, holders, accessories, etc.), in a variety of configurations. The locking belt slide assembly includes at least two pivotally coupled hard mount components with features that form a locking receiver when pivoted into a parallel arrangement. A mounting adapter may be inserted into the receiver.

Feb 10, 2026

US12546569 - Low profile rail mount for firearm

A low profile rail mounting system, comprises an adaptor for mounting an accessory on a firearm rail. The adaptor can include flexible material such that the adaptor can be snapped into position to mount the adaptor on the firearm rail. The adaptor includes opposite grooves that receive the firearm rail to maintain the adaptor on the rail.

Feb 3, 2026

US12540795 - Modular scope mounting system with serrated interfaces for mounting components

Firearms and accessories are disclosed herein. The firearm can carry a scope mounting assembly configured to couple to a firearm and includes serrated interfaces configured to engage a complementary serrated interface of a component such that the component is rotationally and translationally fixed to the scope mounting assembly. The interlocked serrated interface maintains positional relationships between the component and another component, such as a scope, and/or the firearm.

Jan 6, 2026

US12516910 - Firearm sight mounting plate assembly

A firearm sight mounting plate assembly for a firearm is provided. The firearm sight mounting plate assembly includes a mounting plate. The mounting plate having a first area supporting an iron sight, and the mounting plate having a second area supporting an optic. The first area is different from the second area.

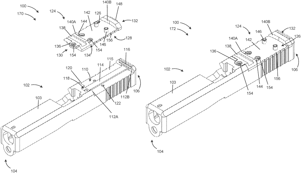
Oct 28, 2025

US12455142 - Clamping mechanism for mounting an accessory to a firearm barrel

A clamping mechanism for mounting an accessory, such as a scope, to a firearm barrel includes first and second clamp members with inner planar surfaces configured to engage respective outer surfaces of the barrel so as to distribute clamping forces evenly and minimizing damage to the barrel surface. A dovetail section on one of the clamp members enables attachment of various optics or accessories. The clamp members are secured together using one or more fasteners passing through aligned openings in the clamp members. The clamping mechanism allows non-permanent, stable mounting of accessories without requiring permanent modification to the firearm. The clamping mechanism is particularly configured to be mounted on the barrel of a Henry® brand rifle.

Oct 21, 2025

US12449222 - Firearm mounting system

A firearm mounting system is provided. The system may include a base assembly. The base assembly may include a base body and a tension control sub-system. The system may include a bracket coupled to a top surface of the base body. The system may include a swing arm pivotably coupled to the bracket, where the swing arm further includes a vertical support leg and a horizontal support leg able to pivot about an axis. The system may include a support plate coupled to the horizontal support leg of the swing arm, where the support plate provides elevational control of the firearm mounting system. The system may include at least one support coupling to couple the support plate to at least a portion of a firearm.

Oct 14, 2025

US12442612 - Thread-locking firearm accessory mounting system

Some embodiments may include a firearm assembly providing a threaded opening to couple onto a threaded part of a firearm, the threaded opening at least partially defined by a flex section of the firearm assembly; and a fastener having a first section including a driving end, and a second section including a length of the fastener and an opposite end of the fastener; wherein the second section of the fastener urges the flex section of the firearm assembly to clampingly lock threads of the threaded opening with threads of the threaded part of the firearm. Other embodiments may be disclosed and/or claimed.

Oct 14, 2025

US12442621 - Firearm sight mounting plate assembly

A firearm mounting plate assembly is provided. The firearm mounting plate assembly includes a firearm slide with a first side, a second side, and a top side. A recess defined by a first slide wall, a second slide wall, and a recess base surface is disposed on the firearm slide top side. The recess includes a rib, a slot, and an ejector projection. The firearm mounting plate assembly includes a mounting plate with a top surface, a bottom surface, a front side, and a rear side. An ejector notch and a channel is disposed along the bottom surface. The mounting plate includes a stud, and one or more bosses. The mounting plate is configured to secure within the recess of the firearm slide.

Oct 7, 2025

US12435950 - Handgun optic mounting system

A handgun optic mounting system is disclosed for improving accuracy and durability with use of an optic mount to a handgun. The handgun optic mounting system includes an optic recess disposed on a handgun slide of the handgun, the optic recess having a recessed surface angled relative to an upper surface of the handgun slide, a barrel central axis, or both. Angle of the recessed surface provides compensation to bullet drop at longer ranges. The handgun optic mounting system further includes a plurality of threaded apertures extending into the recessed surface including a first aperture and a second aperture. The first aperture has a single mounting protrusion extending above the recessed surface, and the second aperture terminates flush with the recessed surface, allow a larger fastener to engage with the second aperture to create a greater clamping force with an associated optic mount.

Sep 30, 2025

US12429308 - Systems and methods for firearm sight mounting plates

A firearm mounting plate assembly is provided. The firearm mounting plate assembly includes a firearm slide with a first side, a second side, and a top side. A recess defined by a first slide wall and a recess base surface is disposed on the firearm slide top side. The recess includes a rib. The firearm mounting plate assembly includes a mounting plate with a top surface, a bottom surface, a front side, and a rear side. The mounting plate includes one or more bosses. The mounting plate is configured to secure within the recess of the firearm slide.

Sep 16, 2025

US12416469 - Gate-keeper rifle holder

A firearm attachment and method for transport implementing a receiver plate affixed permanently, semi-permanently, or removably to tactical, or non-tactical clothing items or accessories. The receiver plate has one or more apertures with means of latching, clasping, or otherwise grasping by way of a fork, pin, keyhole, or other geometry that may cause an interference fit with an insertion pin, post, or other appendage. The insertion post may be a modified or re-purposed take-down pin that is a modification or improvement of a component already existing on a firearm. A insertion post may also be affixed to an accessory aperture or other device, existing on or mounted on a firearm or on accessories mounted to the firearm.

Jul 8, 2025

US12352528 - Clamp mount system for a firearm arm brace

A device may include an elongated body comprising an opening configured to receive a receiver extension tube of a firearm. A device may include a brace body affixed distally to the elongated body and comprising a window configured to receive a clamp mount, wherein the clamp mount is configured to retain the arm brace in a fixed position on the receiver extension tube and comprises: one or more clamps comprising at least one through-hole and one or more pads, wherein the one or more pads are configured to engage with the receiver extension tube via adjustment of one or more fasteners interfacing with the at least one though-hole.

May 27, 2025

US12313363 - Firearm mounting device

A firearm mounting device securable to a surface and having a magnetic material within a base to attract and secure a firearm to the device in a readily retrievable position. The device includes a channel to receive the slide of a semi-automatic pistol and at least one slide stop disposed within the channel to engage and prevent movement of the slide as a user grips the grip of the pistol and displaces the grip towards the at least one slide stop to chamber a cartridge in the chamber of the pistol. The at least one slide stop engages and prevents movement of the slide while allowing the barrel of the pistol to protrude from under the slide.

May 27, 2025

US12313369 - Modularized platform for munition canister

A mounting platform is provided for securing munitions. The platform includes a flat plate, a front block and a rear block. The plate includes a plurality of cutout holes. The front block has a first saddle disposed between first flanking ends and at least one extension at one of the flanking ends for inserting into a first opening of the cutouts. The rear block has a second saddle disposed between second flanking ends at least one extension for inserting into a second opening of the cutouts. The munitions are disposable atop the first and second saddles of the front and rear blocks. The munitions are restrained axially against a rear stop block and laterally by the saddles and straps.

Apr 22, 2025

US12281876 - Modular firearm sight mounting system

A mounting system securing a firearm sight to a firearm accessory rail includes a clamp with a downwardly open rail cavity for slidably engaging the rail. The sight is matched to a plate with pins that correspond to the sockets on the bottom of the sight, and the plate has sockets that correspond to pins on a base that contacts the rail. The clamp extends through the base and plate allowing the sight to be secured to the clamp. Securing the sigh to the clamp compresses the base, plate, and sight toward the rail, placing the system in tension to hold the sight to the firearm.

Apr 22, 2025

US12281877 - Firearm accessory mounting assembly, firearm containing the same, and method of attachment

A quick-attachment/quick-release firearm accessory mounting assembly releasably and rotatably attached to a firearm rail, chassis, or handgun slide to receive any of a number of different accessories, such as, a telescopic sight, reflector sight, laser sight, night vision sight, thermal scope, range finder, and other secondary instruments. The mounting assembly is in the form of an adaptor plate having attachment structures for receiving the accessory on a top surface, and securing to the firearm structure on a bottom surface. The firearm is modified to receive the adaptor plate, the firearm frame having a recess portion with a center protrusion in rotatable communication with a center aperture in the adaptor plate, and having grooves or slots formed at each end of the recess portion to receive flanges at each end of the adaptor plate upon rotation.