Cartridge

Patents tagged Cartridge

Apr 21, 2026

US12607437 - Cartridge with inner surface grooves for a conducted electrical weapon

A cartridge for a conducted electrical weapon may comprise a body having a first end opposite a second end and an outer surface opposite an inner surface. A projectile may be disposed within the body. The inner surface of the body may define a plurality of grooves extending from the first end of the body to a location within the body.

Apr 14, 2026

US12601573 - Method and tool for producing a base piece of a multi-part cartridge case, base piece and cartridge case

A method for producing a base piece for receiving a primer for a multi-part cartridge case may include producing (e.g., by deforming) an extraction groove for engagement by a firearm ejector. The production of the extraction groove may be before a receptacle for a case jacket of the multi-part cartridge case for receiving a projectile is produced, such as by deforming. A tool arrangement for producing a base piece may be used to produce the base piece.

Apr 14, 2026

USRE050863 - Rifle cartridge with improved bullet upset and separation

A rifle cartridge with a bullet has desirable penetration capabilities and controlled separation of components upon terminal impact. In embodiments of the invention, the bullet comprises a forward component, a lead core, and a copper jacket. The lead jacket having a leading edge portion that extends to the cylindrical mid portion. The forward component may have a forward pointed ogive portion, a cylindrical mid portion, a mid ogive portion, and a pair of cylindrical portions separated by an annular groove. The jacket having a cannelure at the annular groove and the casing upper lip crimped into the cannelure.

Mar 24, 2026

US12584719 - End cap

The invention relates to a method of improved ammunition production, particularly to a metal matrix composite (MMC) end cap, suitable for forming a cartridge case, said end cap comprising an admixture of a metal powder, a binder matrix material, wherein said admixture has been caused to solidify in the shape of said end cap.

Jan 27, 2026

US12535306 - Polymer cartridge with snapfit metal insert

A high strength polymer-based cartridge has a polymer case with a mouth, a neck, a shoulder below the neck, and a body below the shoulder and having a case thickness (Tc). The body has a flat portion comprising a pull thickness (Tp), and a dip, closer to the shoulder than the flat portion and comprising a dip thickness (Tb). The cartridge can also include an insert attached to the polymer case opposite the shoulder. The insert can have a flat section contacting the flat portion and comprising an insert wall thickness (Ti), and a bulge engaging the dip to maintain the insert on the polymer case. Tc, Tp, Tb, and Ti are related by Tp+Tb+Ti=Tc. These variables also have ranges where Tp is at least 0.010 inches in thickness, Tb is greater than or equal to Tp, and Tc is a function of a loaded projectile.

Image unavailable
Jan 6, 2026

US12514590 - Cartridge system

A cartridge system includes a clip unit including a clip having a plurality of arms; a case including an accommodation region in which the clip unit is accommodated; and a spacer that is accommodated in the accommodation region, wherein the spacer is configured to be separated from the clip unit when the clip unit is pulled to a proximal-end side of the cartridge system.

Jan 6, 2026

US12514591 - Cartridge system, cartridge, and loading method of clip unit

A cartridge system includes a clip unit having a plurality of arms being openable and closeable; and a connection member that is connectable with a power transmission portion inserting through a sheath, and a case having an accommodation region in which the clip unit is accommodated; a distal-end opening provided at a distal-end side of the accommodation region and into which the clip unit is insertable; a proximal-end opening provided at a proximal-end side of the accommodation region and into which the sheath is insertable; and a locking portion configured to allow a movement of the clip unit being inserted from the distal-end opening toward the accommodation region and regulate a movement of the clip unit from the accommodation region toward the distal-end opening.

Jan 6, 2026

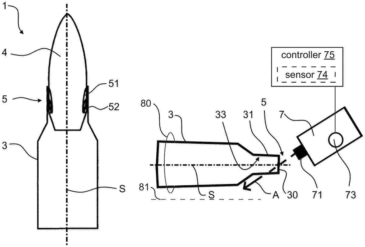
US12516919 - Bullet cartridge, method for manufacturing a bullet cartridge and plant for manufacturing bullet cartridges

A bullet cartridge ( 1 ) may include a bullet case ( 3 ) defining a caliber diameter (D), a projectile ( 4 ) inserted into the neck portion ( 31 ) of the bullet case ( 3 ), and at least one annular layer ( 51, 52 ) of a sealing medium ( 5 ) formed from a sealing medium ( 5 ) between the bullet case ( 3 ) and the projectile ( 4 ). The bullet case ( 3 ) may be provided with the annular layer ( 51, 52 ) using a microdosing device (microdoser) ( 7 ). The annular layer may include not more than 1 mg of sealing medium ( 5 ) per mm of caliber diameter (D).

Dec 16, 2025

US12498204 - Firearm cartridge with roll and tapered crimps and related methods for assembly

A cartridge for a firearm, including a projectile, a gas check, a case, a propellant, and a primer configured to ignite the propellant. The propellant is arranged between the gas check and an end surface of the case in which the primer is arranged. The case is crimped against the projectile. The case includes an open end with discrete roll crimps distributed along a circumference of the open end. The case further includes tapered crimps between the roll crimps along the circumference of the open and. The open end alternates between tapered and roll crimps along the entire circumference of the open end. Each of the roll crimps and tapered crimps are crimped to the projectile.

Nov 18, 2025

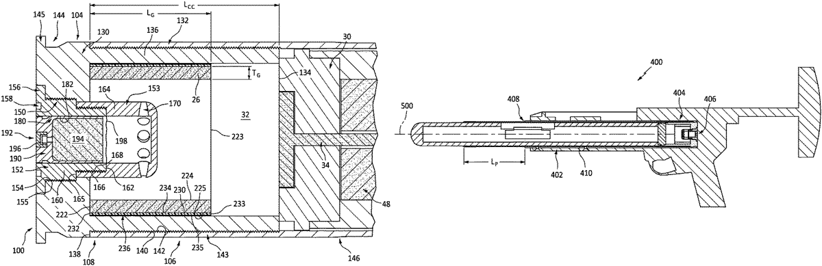
US12474145 - Projectile and caseless cartridge

A caseless cartridge including a projectile. A bullet is positioned on a leading end of the projectile and sized to exit a firearm through a barrel of the firearm. An ignition housing is positioned on a trailing end of the projectile opposite the leading end. An ignition source is positioned within the ignition housing. A hollow shaft extends between the bullet and the ignition housing and joins the bullet to the ignition housing. A plurality of ignition ports extend through a wall of the shaft and through the ignition housing. An interior of the shaft is fluidly coupled to an interior of the ignition housing. The ignition source is configured to ignite a propellant through the plurality of ignition ports in response to an activation of the firearm. When the firearm is activated, each component of the caseless cartridge is either consumed or discharged from the firearm through the barrel.

Nov 18, 2025

US12474148 - Cartridge primer and method of manufacture

A method of assembling a primer for a firearm cartridge including the steps of providing a primer cup including a cup base with a circular sidewall extending perpendicularly upward from a perimeter edge thereof, to a rim. Providing an anvil having an anvil base and pressing the anvil into the primer cup with the anvil base spaced apart from the cup base to form a primer gap therebetween. Providing a slurry including a primer composition and a carrier liquid and introducing a controlled volume of the slurry into the primer cup over the anvil. Drying the slurry in the primer cup to remove the liquid carrier and leave a deposit of the primer composition in the primer gap.

Nov 11, 2025

US12467703 - Cartridges for recoil management of shoulder fired weapons

A cartridge ( 20 ) has a cartridge case ( 22 ) extending along an axis ( 500 ) from a base ( 104 ) to a mouth ( 102 ) and having an interior. A projectile ( 24 ) is mounted in the case. A propellant ( 26 ) is contained within the case. The propellant has an annular grain encircling the axis.

Nov 11, 2025

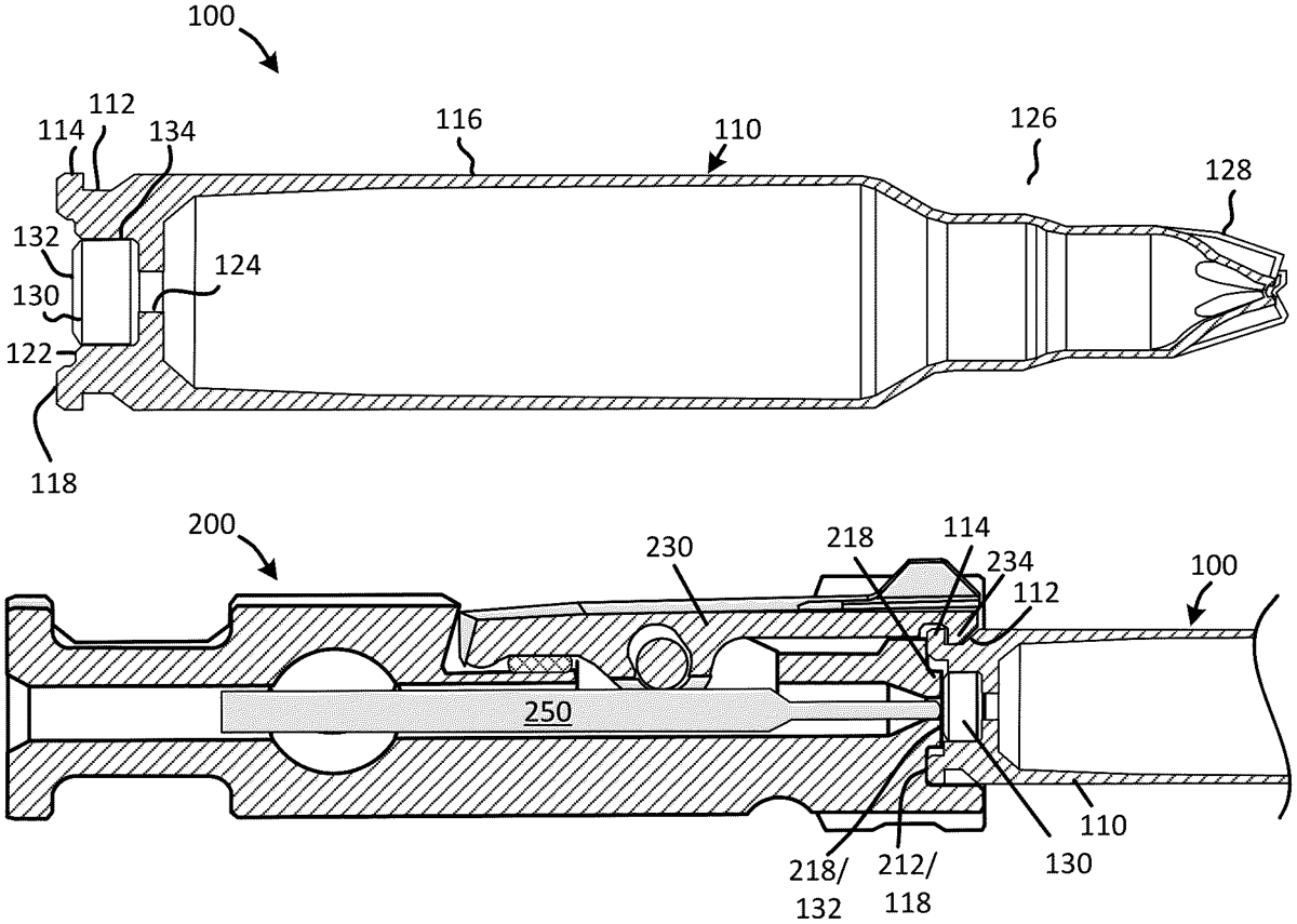
US12467727 - Ammunition blank and corresponding bolt

An ammunition cartridge casing has a casing base with a proximal end surface, a casing body defining an inside volume, and a distal end portion. The casing base defines a primer pocket in communication with the inside volume of the casing body, where the primer pocket is sized and configured such that when a primer is installed in the primer pocket, a proximal face of the primer is recessed into the base at least 0.010″ with respect to the end surface. Blank ammunition made with the cartridge casing is configured for use with a rifle having a bolt with a boss on the breech face that corresponds to the recessed primer.

Oct 28, 2025

US12455150 - Extended range bullet

A cartridge with an expanding bullet that has advantageous terminal effects over an extended range. The expanding bullet including a bullet body including a metal jacket extending from a tail portion to a nose portion and surrounding an interior solid core and defining a forward opening and interior cavity. A tip has an exterior surface substantially flush with an exterior surface of the metal jacket. The tip has a main portion forward of the opening and a tip retention portion that at least partially fills the interior cavity. In certain embodiments the tip retention portion includes one or more fluid entry facilitation means such as a fracture regions configured to, upon impact of the bullet with a target, fracture or deform to expose one or more fluid pathways into the interior cavity and to a forward facing interior surface for initiating expansion of the expanding bullet.

Oct 14, 2025

US12442624 - Integrated ammunition cartridge

According to some embodiments of the present invention, an ammunition cartridge is provided herein. The ammunition cartridge may include a cartridge enclosure comprising a cartridge case portion and a jacket portion, wherein the jacket portion is configured to accommodate at least one projectile filling; and a base, connectable to the cartridge enclosure, wherein the base comprises an ignition device, wherein the cartridge enclosure comprises a section configured to control the detachment of at least some of the jacket portion from the cartridge case. According to some embodiments of the present invention, another ammunition cartridge is provided herein. The ammunition cartridge may include: a cartridge case portion; and a jacket portion, wherein the jacket portion is configured to accommodate at least one projectile filling, wherein the jacket portion is made of at least one of: polymer material, and composite material.

Oct 14, 2025

US12442625 - Cartridge case and tool for joining the base piece and case jacket of a multi-part cartridge case

A cartridge case for ammunition may include a rotationally shaped case jacket for receiving a projectile and an annular base piece for receiving a primer and the case jacket. An annular wall of the base piece on the side of the case jacket is conically shaped at least in sections with respect to its axis of rotation. A retaining section of the case jacket on the side of the base piece is adapted in shape thereto so that the retaining section engages at least in sections behind the annular wall for fastening the case jacket and the base piece to one another. A distancing of the base piece and case jacket from each other may be prevented in the direction of the axis of rotation. The conical annular wall and the retaining section may be formed by plastic deformation of the base piece.

Sep 23, 2025

US12422235 - Optical spectrum light-curable cartridge case sealant method and apparatus

A method of sealing an ammunition cartridge during an ammunition manufacturing process. The method including providing a cartridge case having a projectile receiving mouth with an inner surface and applying a thin circumferential film of a liquid light curable sealant to the inner surface. A cured thin circumferential film is formed by curing the thin circumferential film of liquid light curable sealant using an effective curing light from an optical light spectrum. A projectile is inserted into the mouth of the cartridge case with the cured thin circumferential film forming an air and moisture impermeable seal between the inner surface and the projectile.

Sep 9, 2025

US12410994 - Polymer-based cartridge casing for subsonic ammunition

A high strength polymer-based blank cartridge having a first end; a shoulder disposed approximate the first end; a second end opposite the first end; and an insert engaged to the second end. A metal sleeve extends between the shoulder and insert, and a polymer sheath covers at least the metal sleeve. A propellant chamber is formed between the shoulder and the insert by at least the metal sleeve, and the propellant chamber has an unobstructed and a reduced volume, wherein the reduced volume is reduced in comparison to a propellant chamber of a standard cartridge.

Aug 26, 2025

US12398985 - Firearm cartridge case

A firearm cartridge case includes a short action cartridge case comprising a cartridge case main body portion and a cartridge case neck portion that are interconnected by a frusto-conical shoulder portion to form a bottleneck shape, a length L 1 of the cartridge case between a base of a rebated rim and an interface between the cartridge case main body portion and the frusto-conical shoulder portion, a ratio of the length L 1 of the cartridge case and a length of a projectile receivable within the cartridge case neck portion is between 3.5-0.9.

Aug 5, 2025

US12379195 - Method for manufacturing an ammunition cartridge and ammunition cartridge

The present invention pertains to the field of the arms industry and metallurgy, and also to the fields of materials engineering and chemical engineering. More specifically, the present invention refers to a novel ammunition cartridge comprising reinforced polymer and the manufacturing process thereof. The ammunition cartridge serves for receiving the gunpowder so that explosion can occur inside the weapon barrel. The technology proposed reduces the quantity of components to be pre-manufactured and assembly processes on the product, producing a full cartridge, directly upon injecting the thermoplastic, and can also use bi-component injection. With this, the portion of the collar ring can be made entirely of fiber-reinforced polymer material, which reduces the weight of the item and is beneficial for the useful life of the weapon in the bolt region.

Jul 15, 2025

US12359898 - Rifle cartridge and rifle bullet

A bullet, having a longitudinal body on which is defined a set of radially spaced, longitudinally extending helical grooves corresponding to the rifling of a particular barrel and at least one circumferential drive band which intersects the set of helical grooves, to define a pressure retaining formation with a casing of a cartridge, in use.

Jul 15, 2025

US12359899 - Reduced tension cartridge case with two-stage neck

Devices and methods for reducing tension force on a projectile by a neck of a cartridge case. A two-stage neck has a clearance band and an interference band, the clearance band providing a reduced retention force on the projectile relative to the interference band.

Jul 1, 2025

US12345486 - Firearm cartridge ejector

A firearm cartridge ejector system is disclosed that may include a bolt or a bolt carrier group, and an ejector that may be configured to eject an ammunition cartridge from the firearm bolt or bolt carrier group. The ejector may further include a stem configured to engage an ejector spring, and an ejector face that may be reniform-shaped and attached to the stem and configured to engage and eject the ammunition cartridge.

Jun 10, 2025

US12326327 - Ammunition cartridge

Ammunition cartridge including a rigid casing including a tubular sleeve and a base closing an end of the casing, a projectile mounted at another end of the casing, a propellant charge contained inside the casing, and an ignition device. The projectile includes a solid material body having a volume V1 extending between a tip to a trailing end, wherein the projectile further includes a cavity that extends into the body from the trailing end, a volume V2 of the cavity being at least fifteen percent (15%) of a combined volume V1+V2 of the projectile solid material and cavity: V2>0.15×(V1+V2).

Jun 3, 2025

US12320625 - Firearm cartridge

A firearms cartridge is provided which is equipped with a signal receiver. The signal receiver is operable to disable the firearm when it received a predetermined signal, such as a signal on the electromagnetic spectrum, acoustic signal, and the like. When the signal is not present, the firearm cartridge works like a traditional unrestricted firearm cartridge allowing a firing of the weapon.

May 27, 2025

US12313385 - Crimping die

A crimping die assembly for crimping a cartridge is provided that includes a casing and a bullet seated in the casing. The crimping die assembly includes a die body with a longitudinal axis, an elongated cavity disposed along the longitudinal axis, a cartridge receiver opening for receiving the cartridge, disposed at a first end of the die body, and opening into to the elongated cavity, a crimping bushing for crimping the casing onto the bullet, disposed within the elongated cavity and translatable therein along the longitudinal axis, and a compliant member disposed at least partially within the elongated cavity for urging the crimping bushing toward the cartridge receiver opening.

Apr 29, 2025

US12287184 - Ammunition cartridge casing

An ammunition cartridge casing is provided having a primer body and a casing body. The primer body has an inner primer portion and an outer primer portion configured to nest in conformance with an outer surface of the inner primer portion. The outer surface of the inner primer portion provides a circumferential trench having a radially outwardly extending circumferential wall portion contiguous with an axially extending circumferential wall portion. The casing body has a distal end portion and a proximal end portion. The proximal end portion of the casing body is interposed between the inner primer portion and the outer primer portion within the trench having an interlocked axially extending circumferential portion and an interlocked radially outwardly extending disc portion of the casing body entrapped between the inner primer portion and the outer primer portion. A method is also provided.