US12607437 - Cartridge with inner surface grooves for a conducted electrical weapon

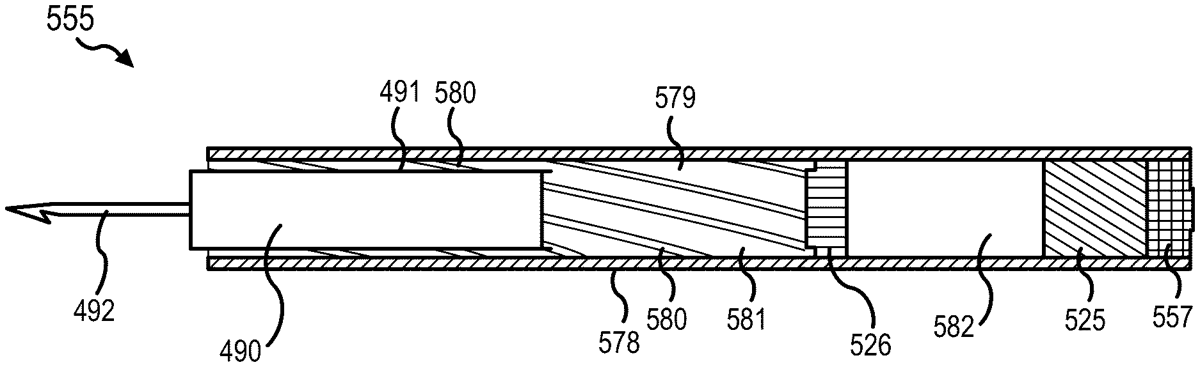
The patent describes a cartridge designed for a conducted electrical weapon, featuring a body with an inner surface that includes grooves extending from one end to a specific location, while the other end has a smooth surface. A piston within the cartridge is intended to move forward upon deployment and stop near the grooves, allowing the forward portion of the piston to be encircled by these grooves.
Claim 1
1 . A cartridge for a conducted electrical weapon comprising: a body comprising a first end opposite a second end and an outer surface opposite an inner surface, wherein the inner surface defines a plurality of grooves extending from the first end to a location within the body, and wherein the inner surface defines a smooth surface from the second end to the location; and a piston positioned within the body against the smooth surface, wherein in response to a deployment of the cartridge the piston is configured to travel in a forward direction within the body, wherein the piston is configured to cease travel in the forward direction within the body proximate the location, and wherein in response to ceasing travel in the forward direction proximate the location a forward portion of the piston is surrounded by the plurality of grooves. a body comprising a first end opposite a second end and an outer surface opposite an inner surface, wherein the inner surface defines a plurality of grooves extending from the first end to a location within the body, and wherein the inner surface defines a smooth surface from the second end to the location; and a piston positioned within the body against the smooth surface, wherein in response to a deployment of the cartridge the piston is configured to travel in a forward direction within the body, wherein the piston is configured to cease travel in the forward direction within the body proximate the location, and wherein in response to ceasing travel in the forward direction proximate the location a forward portion of the piston is surrounded by the plurality of grooves.
Google Patents
https://patents.google.com/patent/US12607437
USPTO PDF
https://image-ppubs.uspto.gov/dirsearch-public/print/downloadPdf/12607437