US12359898 - Rifle cartridge and rifle bullet

riflecartridgebullet
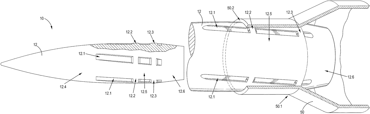
The patent describes a rifle cartridge featuring a bullet with a unique design that includes helical grooves corresponding to the rifling of a barrel and a circumferential drive band for pressure retention. This configuration aims to enhance the bullet’s performance and compatibility with specific rifle barrels.
Claim 1
- A rifle cartridge, comprising: a cartridge case; and a rifle bullet that fits within the cartridge case, the rifle bullet having: a longitudinal body comprised of an ogive-shaped front portion having a diameter that diminishes towards a front end of the bullet, a substantially cylindrical-shaped center portion, and a boattail-shaped rear portion including a tapered tail portion having a diameter that diminishes towards a rear end of the bullet, the cylindrical-shaped center portion having a diameter equivalent with a groove diameter of a particular rifle barrel, the cylindrical part extending between the ogive-shaped front portion and the boattail-shaped rear portion of the longitudinal body; a set of radially spaced, longitudinally extending helical grooves that match rifling of the barrel, the helical grooves extending at least partially over the length of the bullet, including in a rear part of ogive of the longitudinal body, in a bearing surface of the cylindrical part of the longitudinal body and at least partially in the boattail-shaped rear portion of the longitudinal body, the helical grooves diminishing in depth towards the front of the bullet as the diameter of the ogive reduces towards the front of the bullet; and at least one circumferential drive band being longitudinally positioned around the cylindrical-shaped center portion and having a same diameter as the cylindrical-shaped center portion, and which intersects the set of helical grooves, to define a pressure retaining formation when used with the cartridge case. a cartridge case; and a rifle bullet that fits within the cartridge case, the rifle bullet having: a longitudinal body comprised of an ogive-shaped front portion having a diameter that diminishes towards a front end of the bullet, a substantially cylindrical-shaped center portion, and a boattail-shaped rear portion including a tapered tail portion having a diameter that diminishes towards a rear end of the bullet, the cylindrical-shaped center portion having a diameter equivalent with a groove diameter of a particular rifle barrel, the cylindrical part extending between the ogive-shaped front portion and the boattail-shaped rear portion of the longitudinal body; a set of radially spaced, longitudinally extending helical grooves that match rifling of the barrel, the helical grooves extending at least partially over the length of the bullet, including in a rear part of ogive of the longitudinal body, in a bearing surface of the cylindrical part of the longitudinal body and at least partially in the boattail-shaped rear portion of the longitudinal body, the helical grooves diminishing in depth towards the front of the bullet as the diameter of the ogive reduces towards the front of the bullet; and at least one circumferential drive band being longitudinally positioned around the cylindrical-shaped center portion and having a same diameter as the cylindrical-shaped center portion, and which intersects the set of helical grooves, to define a pressure retaining formation when used with the cartridge case. a longitudinal body comprised of an ogive-shaped front portion having a diameter that diminishes towards a front end of the bullet, a substantially cylindrical-shaped center portion, and a boattail-shaped rear portion including a tapered tail portion having a diameter that diminishes towards a rear end of the bullet, the cylindrical-shaped center portion having a diameter equivalent with a groove diameter of a particular rifle barrel, the cylindrical part extending between the ogive-shaped front portion and the boattail-shaped rear portion of the longitudinal body; a set of radially spaced, longitudinally extending helical grooves that match rifling of the barrel, the helical grooves extending at least partially over the length of the bullet, including in a rear part of ogive of the longitudinal body, in a bearing surface of the cylindrical part of the longitudinal body and at least partially in the boattail-shaped rear portion of the longitudinal body, the helical grooves diminishing in depth towards the front of the bullet as the diameter of the ogive reduces towards the front of the bullet; and at least one circumferential drive band being longitudinally positioned around the cylindrical-shaped center portion and having a same diameter as the cylindrical-shaped center portion, and which intersects the set of helical grooves, to define a pressure retaining formation when used with the cartridge case.
Google Patents
https://patents.google.com/patent/US12359898
USPTO PDF
https://image-ppubs.uspto.gov/dirsearch-public/print/downloadPdf/12359898