US12601573 - Method and tool for producing a base piece of a multi-part cartridge case, base piece and cartridge case

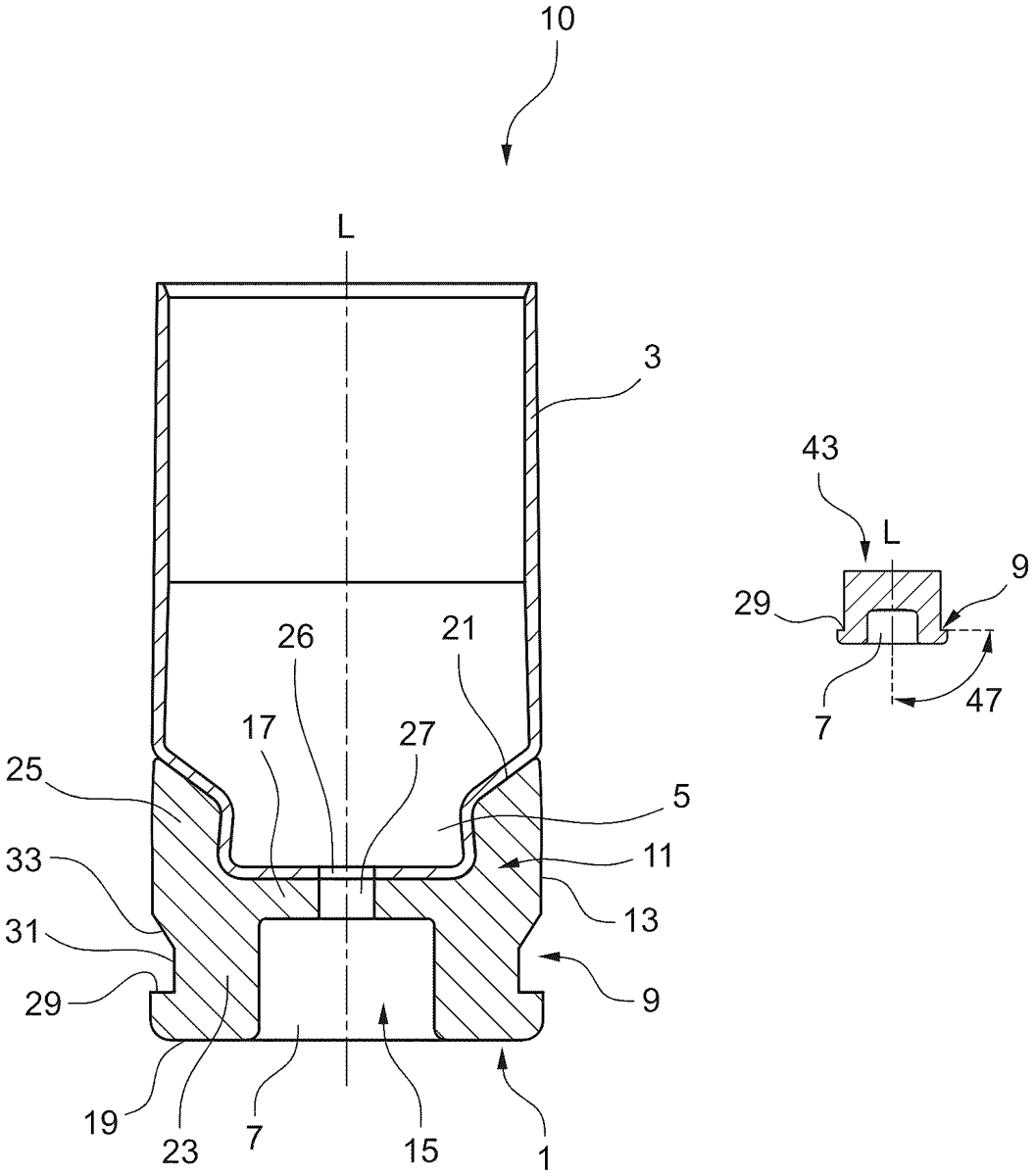
This patent describes a method for creating a base piece of a multi-part cartridge case that includes forming an extraction groove for firearm ejector engagement before producing a receptacle for the case jacket. A specialized tool arrangement is utilized to facilitate the production of this base piece.
Claim 1
1 . A method for producing a base piece adapted to receive a primer for a multi-part cartridge case, the method comprising: producing, by deforming a blank, an extraction groove adapted to engage with a firearm ejector; and producing, by deforming the blank and after production of the extraction groove, a receptacle for a case jacket of the multi-part cartridge case adapted to receive a projectile. producing, by deforming a blank, an extraction groove adapted to engage with a firearm ejector; and producing, by deforming the blank and after production of the extraction groove, a receptacle for a case jacket of the multi-part cartridge case adapted to receive a projectile.
Google Patents
https://patents.google.com/patent/US12601573
USPTO PDF
https://image-ppubs.uspto.gov/dirsearch-public/print/downloadPdf/12601573