Method

Patents tagged Method

Apr 14, 2026

US12601579 - Automatic uncoupled charging device and method

An automatic uncoupled charging device includes a control system, a power system, a charging system, and an auxiliary system. The control system is equipped with a programmable circuit to control a screw speed. Explosives are charged into a container through manual handling or flowing from a mixed explosive vehicle. Explosive bags with different diameters are installed at the bottom of a discharge port. The device is set to start with one click, and the screw drives the explosive into the bag, achieving uncoupled charging. An automatic uncoupled charging method applying to the automatic uncoupled charging device not only reduces labor intensity, achieves fast charging, improves labor efficiency, but also achieves the goal of “mechanization reducing personnel”, further advancing towards the essential safety of blasting construction.

Mar 31, 2026

US12591786 - Intelligent ammunition co-evolution task assignment method

An intelligent ammunition co-evolution task assignment method is disclosed. The method includes the following steps. A chromosome gene encoding of genetic algorithm for ammunition assignment scheme of multi-platform interception operation is performed. A fitness of chromosome individual function in a genetic population is calculated according to a threat degree of an intercepting target in the ammunition assignment scheme and an interception probability of the intercepting target by different ammunition launching platforms. A probability ranking sequence of effective interception of the intercepting target by different ammunition launching platforms is obtained, and a genetic algorithm selection operation is performed on the chromosome individuals according to probability values of effective interception in descending order of priority. Crossover and/or mutation are performed on the selected chromosome individuals to obtain a next generation genetic population and the above steps are repeated until termination conditions are met to obtain the final ammunition assignment scheme.

Feb 10, 2026

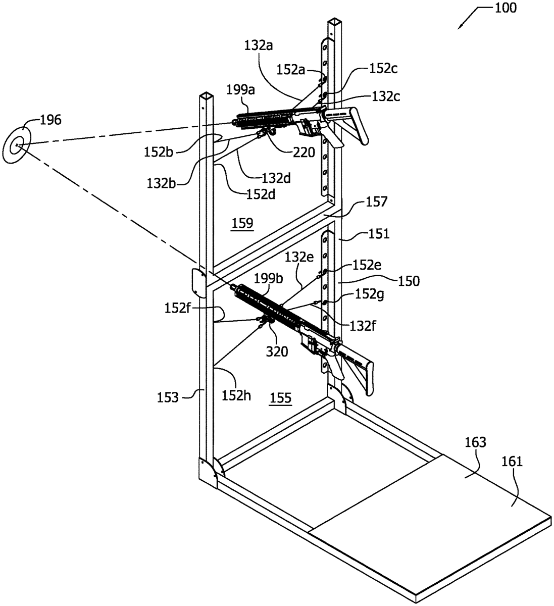
US12546568 - Firearm training apparatus and related methods of use

A method of firearm training includes the step of attaching a cord to a firearm and the step of attaching the cord to a frame. The frame may include two vertically oriented members oriented in parallel spaced relation. Several attachment points are disposed upon the vertical members, and the cord may be engaged with an attachment point selected from the several attachment points. The method of firearm training includes the step of tensioning the cord while aiming the firearm thereby applying a force to the firearm. In various aspects, the cord may be attached to the firearm by attaching the cord to a loop that is attached to a rail secured to the firearm. Related firearm training apparatus are also disclosed.

Feb 3, 2026

US12540791 - Method of making a gun holster

A method of making a holster for a gun includes selecting a starting polymer material, a starting leather material, and a gun model; preparing a first side of the polymer material by creating texture on the first side; adhering the polymer material and the leather material together to create a combined material; cutting the combined material into a specific shape as determined by the gun model and a desired holster model; stitching around a perimeter of the cut combined material with a pre-selected thread to render a stitched combined material; heating up the stitched combined material to above a predetermined temperature; forming the stitched combined material to a specific shape associated with the gun model and the holster model; and allowing the stitched combined material to cool into the specific shape associated with the gun model and the holster model to render the holster.

Oct 21, 2025

US12448889 - Raise caving method for mining deposits, and a mining infrastructure, monitoring system, machinery, control system and data medium therefor

The present invention relates to an integrated raise caving mining method for mining deposits in rock mass comprising: developing at least one raise ( 102,102 a - f, 202,302 a - g, 402 a - e ) in the rock mass ( 10 ), developing a drawbell ( 100,100 a - c, 200 a - g, 300 a - f, 400 a - e ) in the rock mass ( 10 ), wherein at least a portion of the drawbell is excavated from the at least one raise ( 102,102 a - f, 202,302 a - g, 402 a - e ), initiating caving through undercutting, wherein at least a part of an undercut is created by gradually expanding the drawbell ( 100,100 a - c, 200 a - g, 300 a - f, 400 a - e ) in upwards direction by excavation, developing at least two drawpoints ( 106,206,406 ) into the drawbell ( 100,100 a - c, 200 a - g, 300 a - f, 400 a - e ), wherein the drawpoints ( 106 ) are developed from drifts ( 115,207,407 ) arranged on different levels and progressively drawing fragmented rock ( 101 ) from the at least one drawbell through the drawpoints ( 106,206,406 ). The present invention also relates to use of an integrated raise caving mining method for mining deposits. The present invention also relates to an integrated raise caving mining infrastructure, a machinery, a control system of an integrated raise caving mining infrastructure, and a data medium.