US12601579 - Automatic uncoupled charging device and method

The patent describes an automatic uncoupled charging device designed for efficiently loading explosives into bags, featuring a programmable control system and a motor-driven screw mechanism. This innovation aims to enhance safety and labor efficiency in blasting operations by mechanizing the charging process and minimizing manual handling.
Claim 1
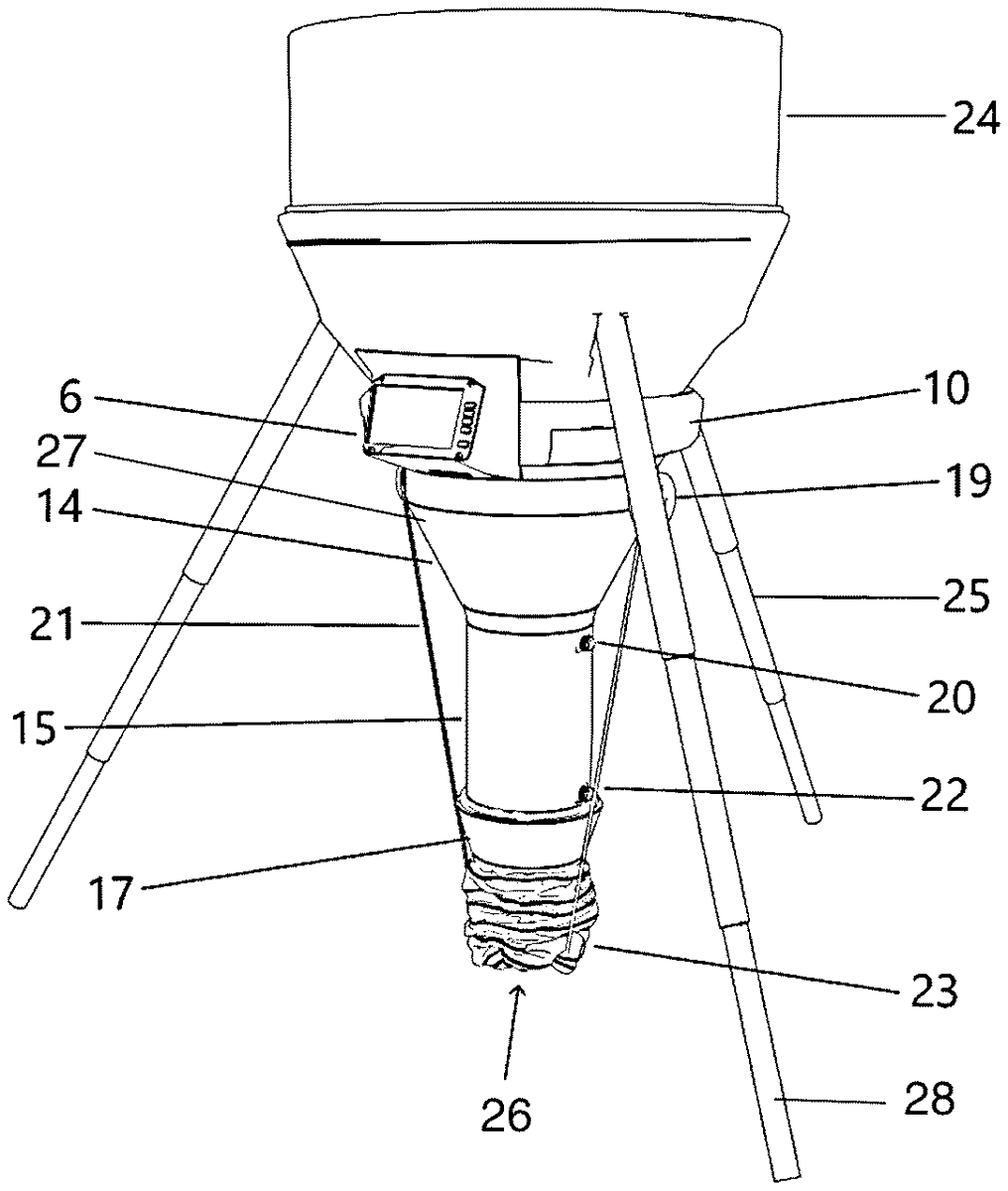
1 . An automatic uncoupled charging device, comprising: a container body, a controller, a power system, a charging system and an auxiliary system; wherein the container body comprises a container shell, a replaceable explosive bag holder, and a detachable explosive container; the detachable explosive container is located at a top of the container shell, two wire disks are respectively located at two sides of the top of the container shell; the replaceable explosive bag holder is located at a bottom of the container shell, an explosive bag is fixedly connected to a bottom of the replaceable explosive bag holder, and the explosive bag is connected to the two wire disks through pull ropes; and the power system comprises a motor, a working condition of the motor is controlled by the controller; a power output end of the motor is in transmission connection with two horizontally arranged transmission rods through a gear; the two transmission rods are configured to drive the two wire disks to rotate; the charging system comprises a screw, the replaceable explosive bag holder and the explosive bag; the screw is vertically connected to the power output end of the motor, and the screw is configured to transport explosives in the detachable explosive container from the replaceable explosive bag holder to the explosive bag; the auxiliary system comprises a cooling structure and a telescopic tripod, the cooling structure is configured to cool the explosives in the container shell, and the telescopic tripod is configured to support the automatic uncoupled charging device. wherein the container body comprises a container shell, a replaceable explosive bag holder, and a detachable explosive container; the detachable explosive container is located at a top of the container shell, two wire disks are respectively located at two sides of the top of the container shell; the replaceable explosive bag holder is located at a bottom of the container shell, an explosive bag is fixedly connected to a bottom of the replaceable explosive bag holder, and the explosive bag is connected to the two wire disks through pull ropes; and the power system comprises a motor, a working condition of the motor is controlled by the controller; a power output end of the motor is in transmission connection with two horizontally arranged transmission rods through a gear; the two transmission rods are configured to drive the two wire disks to rotate; the charging system comprises a screw, the replaceable explosive bag holder and the explosive bag; the screw is vertically connected to the power output end of the motor, and the screw is configured to transport explosives in the detachable explosive container from the replaceable explosive bag holder to the explosive bag; the auxiliary system comprises a cooling structure and a telescopic tripod, the cooling structure is configured to cool the explosives in the container shell, and the telescopic tripod is configured to support the automatic uncoupled charging device.
Google Patents
https://patents.google.com/patent/US12601579
USPTO PDF
https://image-ppubs.uspto.gov/dirsearch-public/print/downloadPdf/12601579