Lock

Patents tagged Lock

Mar 31, 2026

US12590775 - Trigger lock

A trigger lock provides a high retention force and a low reset force to secure, release and reset a translating member to a stationary member. A retention latch has a complementary shape to engage and resist axial translation of the translating member. The retention latch pivots downward to disengage from the translating member. A spring pack compresses to resist the downward pivot to set the high retention force. A trigger lock assembly restrains the compressed spring pack to allow the translating member to return and reset the trigger lock with the low reset force. A spring-loaded latch clearance cam is configured to push the translating member away from the retention latch as the translating member disengages and returns to reset the trigger lock.

Oct 28, 2025

US12453415 - Firearm holder including a stock lock and muzzle holder

In some embodiments, a device includes a firearm holder including a stock lock. The stock lock may include a first jaw, a second jaw, a pivot pin to couple the first jaw to the second jaw. The first jaw may pivot about the pivot pin relative to the second jaw and may open and close about a neck of a stock of a firearm. The stock lock may further include a rotatable element coupled to the first jaw to allow at least a portion of the first jaw to rotate about the rotatable element to move into and out of alignment with the first jaw. In some implementations, the stock lock may include a locking mechanism. In some aspects, the stock lock may include a cowl extending about at least a portion of the locking mechanism.

Oct 14, 2025

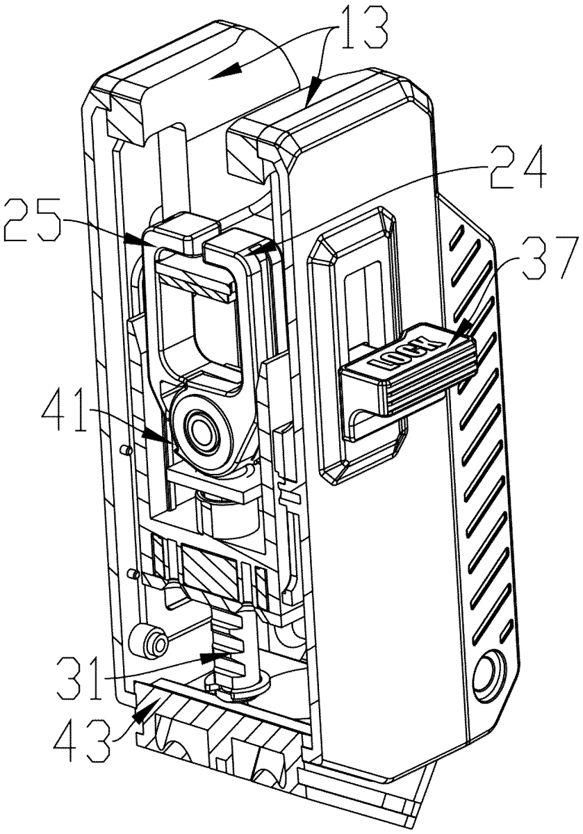
US12442606 - Lock for gun and multifunctional gun storage stand

The present disclosure relates to the technical field of gun locks, and particularly, to a lock for safety protection of a gun trigger and a multifunctional gun storage stand. The lock includes a base, a shell fixedly connected to the base, a stabilizer fixedly connected to the shell, and a locking device mounted inside the shell. The locking device is provided with a movably opened and closed lock catch assembly and a locking assembly restraining the lock catch assembly from being movably opened and closed; the lock catch assembly is movably connected to the locking assembly, and the lock catch assembly is provided with a lock catch post.

May 6, 2025

US12292247 - Systems and methods for locking and unlocking a gun

A lock apparatus for a gun, includes a magazine lock. The magazine lock is configured to fit into a magazine opening of the gun. The magazine lock further includes an interference member. The interference member is configured from a flexible material. The interference member is fastened to a first end of the magazine lock. The flexible material forms a loop. When the loop is inserted into the magazine opening the loop exits out of an open chamber of the gun thereby enabling an external lock to capture the loop placing the gun in a LOCKED state.

May 6, 2025

US12292248 - Biometric firearm chamber lock

The biometric firearm chamber lock is a biometric electro-mechanical locking system integrated firearm safety device. The device safely locks firearms by securing the firearm lock into the firearm chamber through the ejection port to prevent rounds from being fired. An electrical biometric sensor quickly unlocks the firearm lock from the firearm. A mechanical backup unlock mechanism is used if a replacement battery is unavailable or if the electrical components fail and cannot be used to unlock the firearm lock. The firearm lock is an independent structure requiring no installation process.