US12590775 - Trigger lock

The patent describes a trigger lock that utilizes a retention latch and a spring pack to secure and release a translating member in a firearm, ensuring high retention force and low reset force. The design includes a mechanism that allows the translating member to disengage and reset the trigger lock efficiently while maintaining safety and security.
Claim 1
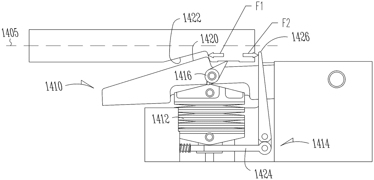
1 . A trigger lock configured to secure, release and reset a translating member that translates axially along an axis relative to a stationary member, the trigger lock comprising: a retention latch pivotably attached to the stationary member, said retention latch and said translating member having complementary shapes to engage and resist axial translation, said retention latch configured to pivot downward to disengage from said translating member in response to a first axial force (F 1 ) greater than a first threshold (TH 1 ), a spring pack coupled between the retention latch and the stationary member to provide a restraining force that compresses to resist the downward pivot of the retention latch to set TH 1 , a trigger lock assembly including a trigger latch configured to restrain the compressed spring pack to allow the translating member to return and, once the complementary shapes of the translating member and retention latch are aligned and a second axial force (F 2 ) provided by the translating member engaging a latch trigger exceeds a second threshold (TH 2 ), to disengage the trigger latch and release the compressed spring pack to engage the complementary shapes of the retention latch and translating member and reset the trigger lock, wherein TH 2 <TH 1 ; and a spring-loaded latch clearance cam configured to push the translating member away from the retention latch as the translating member disengages and returns to reset the trigger lock. a retention latch pivotably attached to the stationary member, said retention latch and said translating member having complementary shapes to engage and resist axial translation, said retention latch configured to pivot downward to disengage from said translating member in response to a first axial force (F 1 ) greater than a first threshold (TH 1 ), a spring pack coupled between the retention latch and the stationary member to provide a restraining force that compresses to resist the downward pivot of the retention latch to set TH 1 , a trigger lock assembly including a trigger latch configured to restrain the compressed spring pack to allow the translating member to return and, once the complementary shapes of the translating member and retention latch are aligned and a second axial force (F 2 ) provided by the translating member engaging a latch trigger exceeds a second threshold (TH 2 ), to disengage the trigger latch and release the compressed spring pack to engage the complementary shapes of the retention latch and translating member and reset the trigger lock, wherein TH 2 <TH 1 ; and a spring-loaded latch clearance cam configured to push the translating member away from the retention latch as the translating member disengages and returns to reset the trigger lock.
Google Patents
https://patents.google.com/patent/US12590775
USPTO PDF
https://image-ppubs.uspto.gov/dirsearch-public/print/downloadPdf/12590775