Adjustable

Patents tagged Adjustable

Mar 17, 2026

US12578164 - Firearm stock with adjustable length of pull

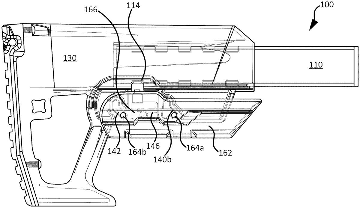
A firearm stock includes a stock body slidably mounted on a beam. A lever attached to the stock body can be moved between a locked position and at least one unlocked position, where operating the lever moves a locking mechanism between locked and unlocked positions. For example, when the lever is in a first unlocked position, the locking mechanism permits longitudinal adjustment of the stock body along the beam. When the lever is in a second unlocked position the locking mechanism permits the stock body to be slidably removed from the beam. In one example, the lower portion of the stock body defines a plurality of cam pathways for pins that secure the lever to the stock body. Forward cam pathways permit either a pivoting movement about the rear pin or a downward and forward shifting movement.

Dec 16, 2025

US12498191 - Adjustable trigger assembly and method of adjusting pre-travel distance

A trigger assembly apparatus for a firearm which allows adjustment of the pre-travel distance a trigger travels before initiating a firing sequence and method of making the pre-travel adjustment using the apparatus disclosed herein. The apparatus generally comprises a trigger and a trigger bow, with the trigger bow having at least one threaded receptacle in a front lateral portion thereof. The pre-travel adjustment can be achieved by rotating a threaded fastener within the threaded receptacle and the method of adjusting the pre-travel can be accomplished without complete disassembly of the firearm.

Oct 7, 2025

US12435948 - Adjustable, pivoting gun stock and method of use

An adjustable shoulder rest for a rear stock for a rifle or shotgun, with features to customize the shoulder to firearm interface, providing diverse adjustment options pursuant to user preference and/or circumstances of use. The present invention further provides a pivotal shoulder rest to facilitate customized position adjustment to the firearms orientation vis-a-vis the operator, including the option to provide a pivotal or swivel connection for adjustment of the firearm during operation as well as the option of providing haptic feedback or pivotal resistance with return-to-center capability to communicate to the user useful feedback, and/or facilitate line of sight alignment of the firearm at various angles relative to the longitudinal axis thereof in line with one or more sighting apparatus mounted thereto.

Aug 5, 2025

US12379186 - Adjustable sight assembly

In one example, the disclosure relates to adjustable flip up sight assembly that can be adjusted vertically and laterally in particular, for an automatic firearm, comprising a front sight support element that is supported by an axle on a mount, in particular such that they can pivot thereon, wherein the front sight support element has an adjustment element supported on a spring element and releasably connected to a front sight, which contains a keyhole type opening through which the axle is inserted, wherein the adjustment element can be moved in relation to the axle against the spring force between two positions inside the front sight support element such that the keyhole opening prevents a lateral movement of the front sight support element along the axle when engaged with the axle, and allows the lateral adjustment of the front sight support element in a released position.

Jul 29, 2025

US12372325 - Adjustable firearm butt assembly

An adjustable firearm butt assembly comprises a base plate selectively attached to a buttstock of a firearm. The base plate has a base slot. An adjustment nut is aligned with, and transversely movable relative to, the base slot. A pad plate is selectively attached to the base plate with the base plate being interposed longitudinally between the pad plate and the adjustment nut. The pad plate has a plate slot and a guide track. The plate slot is aligned with both the adjustment nut and the base slot. A guide pin has a portion selectively received in the guide track. An attachment fastener selectively extends through the plate slot and into engagement with the adjustment nut to selectively attach the pad plate to the base plate. The attachment fastener is laterally movable with respect to the plate slot. The attachment fastener is selectively movable between unclamped and clamped conditions.

Jun 17, 2025

US12332016 - Firearm stock or arm brace

This disclosure describes a firearm stock or arm brace with an adjustable length of pull. The stock or arm brace can include a body and lower stock, where the body includes a buffer tube receiving aperture and the lower stock includes a hollow cavity with a plunger and two concentric springs therein. One or more buttons can be affixed to sides of the plunger in the hollow cavity that can be used to depress the plunger against the force of one or both of the springs. One of the two springs may be shorter than the other and have a greater spring constant than the longer spring. Depressing the plunger against the taller spring may allow a user to adjust the length of pull while greater pressure and engagement of the second spring allows the stock or arm brace to be removed from a buffer tube or receiver extension.

Jun 17, 2025

US12332019 - Adjustable target sight

A target sight for a firearm includes a base for securing a body of the target sight to the firearm, a light source coupled to a carrier mount that is disposed within a carrier plate, a horizontal adjustment system for the carrier plate structured to cause the carrier plate to move horizontally within the body of the target sight, and a vertical adjustment system for the carrier mount structured to cause the carrier mount to move vertically relative to the carrier plate. Methods are also described.

May 27, 2025

US12313367 - Adjustable gas block with front adjustment access for firearm direct-impingement gas system

An adjustable gas system for a firearm includes a one-piece gas block body, configured to be fixed to a barrel of the firearm, and a partial annular gas regulator. The gas block includes a gas flow hole that receives a gas tube of the firearm. The gas block body also includes a gas block body bulge and a ring at one end of the gas flow hole. The gas block body clamps to a barrel of the firearm by: (i) set screw(s), and (ii) direct/physical contact of the gas block body bulge and the ring. The gas regulator, when installed on the barrel, rotatably and partially surrounds the barrel such that, as the gas regulator is rotated around the barrel from a first position to a second position, a diameter of a resultant gas port hole changes as controlled by allocation holes on the gas regulator.

May 6, 2025

US12292251 - Adjustable gas block for firearm

An adjustable gas block for a firearm comprises a housing adapted to be attached to a barrel of the firearm. The housing has a first passageway adapted to be aligned with a gas port in a barrel of the firearm and a second passageway adapted to receive a gas tube of the firearm, such that a bore of the barrel, the gas port of the barrel, the first passageway, and the gas tube are in fluid communication. A valve member is mounted in the housing for forward and rearward sliding movement and has a first portion and a second portion. The first portion has an upwardly facing surface having a radius of curvature that closely approximates a radius of curvature of an outer diameter of the gas tube, and the second portion has threads. A nut is carried by the housing for rotational movement and has threads mating with the threads on the second portion of the valve. Rotating the nut in a first direction translates the valve member forwardly and rotating the nut in a second opposite direction translates the valve member rearwardly. The axial position of the first portion of the valve member controls the amount of gas passing from the first passageway to the gas tube by completely opening, partially opening, or completely closing the first passageway.

May 6, 2025

US12292255 - Adjustable stock

A stock has a buttstock. The buttstock includes an adjustable comb. The comb is connected to a body of the buttstock via a rod extending into the body of the buttstock and movable along a first axis. The position of the rod and comb is locked and unlocked by a latch. The buttstock includes an adjustable recoil pad. The recoil pad is connected to the body via a threaded rod mated with a nut embedded within an end of the body. The threaded rod and recoil pad move a direction along a longitudinal axis of the body depending on the rotation of the nut.