US12601555 - Retaining magazine in magazine well

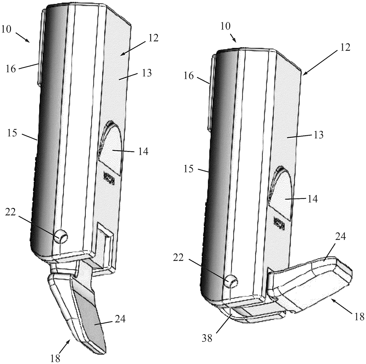
The patent describes a magazine retention device designed to secure a magazine within a firearm’s magazine well, featuring a movable stop lever that can block the magazine from dropping out. This device includes a housing, a firearm attachment member, and a biasing mechanism that maintains the stop lever in a locked position against the housing.
Claim 1
1 . An accessory for use with a firearm, the firearm having a frame, a slide, a trigger, and a grip, the grip having a magazine well and a hollow space formed in the grip, said accessory comprising: a magazine retention device insertable into said hollow space and comprising a movable stop lever which has an operative position which blocks a magazine from dropping out of said magazine well, wherein said magazine retention device comprises; a housing having a front surface and a back surface; a firearm attachment member for securing the magazine retention device to a portion of the firearm; wherein said movable stop lever comprises a tab extending from a base member, said base member comprising an abutment face; and a pushing member which is urged against said abutment face by a biasing device; wherein said movable stop lever has a locked position, in which said pushing member presses against said abutment face, which causes a portion of said movable stop lever to be pressed against a portion of said housing, such that said movable stop lever is sandwiched between said pushing member and said housing. a magazine retention device insertable into said hollow space and comprising a movable stop lever which has an operative position which blocks a magazine from dropping out of said magazine well, wherein said magazine retention device comprises; a housing having a front surface and a back surface; a firearm attachment member for securing the magazine retention device to a portion of the firearm; wherein said movable stop lever comprises a tab extending from a base member, said base member comprising an abutment face; and a pushing member which is urged against said abutment face by a biasing device; wherein said movable stop lever has a locked position, in which said pushing member presses against said abutment face, which causes a portion of said movable stop lever to be pressed against a portion of said housing, such that said movable stop lever is sandwiched between said pushing member and said housing.
Google Patents
https://patents.google.com/patent/US12601555
USPTO PDF
https://image-ppubs.uspto.gov/dirsearch-public/print/downloadPdf/12601555