US12601556 - Firearm suppressor

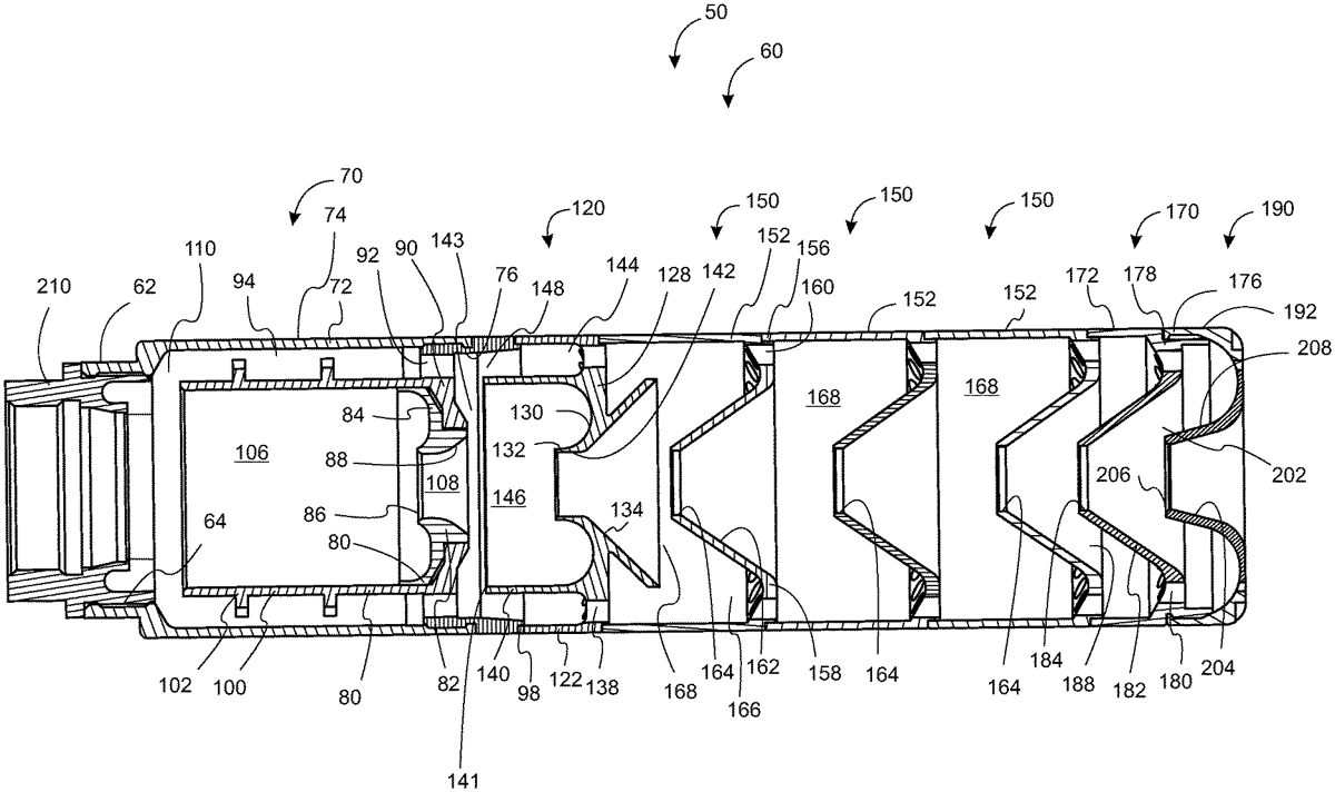
The patent describes a firearm suppressor featuring multiple baffle segments, each with distinct cylindrical and conical designs that optimize sound reduction and gas flow. The third baffle segment includes a blast chamber and protrusions to enhance performance while maintaining a clear path for gas expansion.
Claim 1
1 . A firearm suppressor configured to be mounted on a firearm, the firearm suppressor comprising: a first baffle segment comprising a first cylindrical outer wall and a first conical baffle core, wherein said first conical baffle core defines a first central opening and wherein a longitudinal length of the first cylindrical outer wall is greater than a longitudinal length of the first conical baffle core; a second baffle segment comprising a second cylindrical outer wall and a second conical baffle core, wherein said second conical baffle core defines a second central opening and wherein a longitudinal length of the second cylindrical outer wall is less than a longitudinal length of the second conical baffle core; a third baffle segment comprising a third cylindrical outer wall; a first cylindrical inner wall concentrically arranged within the third outer wall; a first inner wall that defines a third central opening; and a plurality of protrusions extending radially outwardly from said first cylindrical inner wall; wherein said third baffle segment defines a blast chamber within the first cylindrical inner wall that is free of obstructions and extends between a proximal end of said first cylindrical inner wall and said first inner wall; and wherein said third baffle segment defines a first outer flow passage between said third cylindrical outer wall and said first cylindrical inner wall. a first baffle segment comprising a first cylindrical outer wall and a first conical baffle core, wherein said first conical baffle core defines a first central opening and wherein a longitudinal length of the first cylindrical outer wall is greater than a longitudinal length of the first conical baffle core; a second baffle segment comprising a second cylindrical outer wall and a second conical baffle core, wherein said second conical baffle core defines a second central opening and wherein a longitudinal length of the second cylindrical outer wall is less than a longitudinal length of the second conical baffle core; a third baffle segment comprising a third cylindrical outer wall; a first cylindrical inner wall concentrically arranged within the third outer wall; a first inner wall that defines a third central opening; and a plurality of protrusions extending radially outwardly from said first cylindrical inner wall; wherein said third baffle segment defines a blast chamber within the first cylindrical inner wall that is free of obstructions and extends between a proximal end of said first cylindrical inner wall and said first inner wall; and wherein said third baffle segment defines a first outer flow passage between said third cylindrical outer wall and said first cylindrical inner wall.
Google Patents
https://patents.google.com/patent/US12601556
USPTO PDF
https://image-ppubs.uspto.gov/dirsearch-public/print/downloadPdf/12601556