US12600559 - Container with fire-resistant, explosion-withstanding, and heat-insulating capabilities

The patent describes a container designed for fire resistance, explosion protection, and heat insulation, featuring a composite plate assembly, reinforcing steel bars, and a heat-insulating layer. This innovative structure aims to enhance safety by effectively blocking heat conduction and maintaining lower internal temperatures.
Claim 1
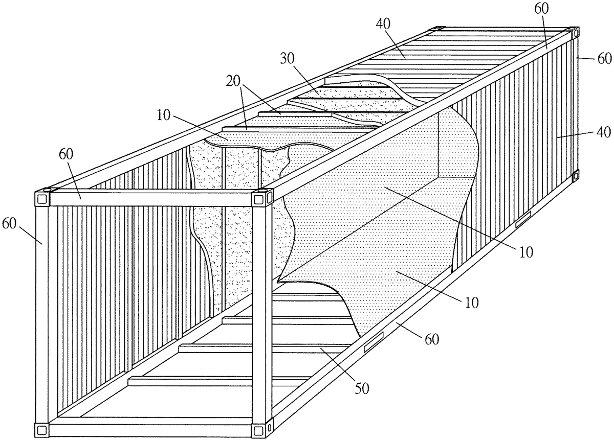
1 . A container with fire-resistant, explosion-withstanding, and heat-insulating capabilities, comprising: a plurality of structural steel bars end-to-end connected as edges of a rectangular structure; at least one composite fireproof and explosion-proof plate assembly comprising two coated and perforated steel plates and a reinforced fiberboard fixedly sandwiched in between; at least two cross-sectionally square-shaped reinforcing steel bars positioned on an outer side of the at least one plate assembly whose two ends are respectively connected to two parallel structural steel bars on a side of the rectangular structure; at least one external panel surrounded by the structural steel bars on a side of the rectangular structure; at least one heat-insulating fireproof layer positioned between the at least two adjacent reinforcing steel bars, and between the at least one plate assembly and the at least one external panel; and at least one cross-sectionally C-shaped supporting steel bar, whose two ends are respectively connected two parallel structural steel bars on a bottom side of the rectangular structure, laid beneath the at least one plate assembly. a plurality of structural steel bars end-to-end connected as edges of a rectangular structure; at least one composite fireproof and explosion-proof plate assembly comprising two coated and perforated steel plates and a reinforced fiberboard fixedly sandwiched in between; at least two cross-sectionally square-shaped reinforcing steel bars positioned on an outer side of the at least one plate assembly whose two ends are respectively connected to two parallel structural steel bars on a side of the rectangular structure; at least one external panel surrounded by the structural steel bars on a side of the rectangular structure; at least one heat-insulating fireproof layer positioned between the at least two adjacent reinforcing steel bars, and between the at least one plate assembly and the at least one external panel; and at least one cross-sectionally C-shaped supporting steel bar, whose two ends are respectively connected two parallel structural steel bars on a bottom side of the rectangular structure, laid beneath the at least one plate assembly.
Google Patents
https://patents.google.com/patent/US12600559
USPTO PDF
https://image-ppubs.uspto.gov/dirsearch-public/print/downloadPdf/12600559