US12600475 - Placement system

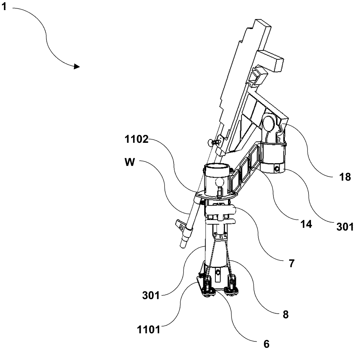
The invention describes a placement system for weapons mounted on an air vehicle, featuring a carrier that can be moved along a longitudinal rail. It includes a locking mechanism with a pin that secures the carrier in place or allows it to be repositioned by the user.
Claim 1
1 . A placement system comprising: a body located on an air vehicle; at least one weapon (W) located on said body to attack a target; a carrier that allows said at least one weapon (W) on said body to be moved and carried as desired by a user; at least one rail which extends longitudinally on said body and allows said carrier to move in a direction that said at least one rail extends; a plurality of housings located on said at least one rail; at least one pin located on said carrier so as to be form-fitted and opposite to said housings; said at least one pin having a locked position (I) in which said at least one pin contacts a housing of said plurality of housings, thereby fixing said carrier on said at least one rail, and a free position (II) in which said user triggers said at least one pin to cut contact of said at least one pin with said housing so that said carrier can be moved and brought on said at least one rail; an arm located on said carrier, wherein said arm allows said at least one pin to be moved from said locked position (I) to said free position (II) when triggered by said user, wherein when said carrier is brought to a desired position while said at least one pin is in said free position (II), said at least one pin is brought to said locked position (I) by said user releasing said arm, so that said at least one pin is held so as not to be disengaged from said at least one rail in a movement direction of said at least one pin from said locked position (I) to said free position (II).
Google Patents
https://patents.google.com/patent/US12600475
USPTO PDF
https://image-ppubs.uspto.gov/dirsearch-public/print/downloadPdf/12600475