Testing

Patents tagged Testing

Mar 10, 2026

US12571617 - Testing and data transfer to artillery guiding kits

Projectile guiding assemblies, caps and methods of delivering power for testing and optionally data over spring-mounted fin(s) of the guiding assembly are provided. The guiding assemblies are configured to have continuous electrically conductive path(s) from the fin(s), through the respective spring(s) on which the fin(s) are mounted, and into the electronics module, which may receive power for testing and guiding data from external source(s) over the electrically conductive path(s). In the testing state, cap mechanically secures the fin(s) to contact(s) thereupon to assure continuous power and data transfer, sparing surface area that was previously dedicated to power and data transfer and simplifying these processes, especially under field conditions.

Jul 29, 2025

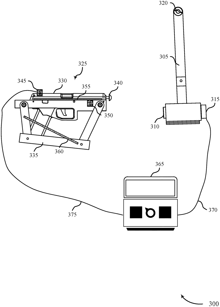
US12372320 - Systems and techniques for testing a gun

The present disclosure provides systems and techniques for testing guns by simulating firing a round of live ammunition. A striker may be used to apply force onto a gun, and one or more compressible rods may be used to modulate the application of force onto the gun. A system may include a striking mechanism configured for displacement along an arcuate path of travel that includes a first compressible rod, a second compressible rod coupled with a first component of the gun, an attachment mechanism coupled with a second component of the gun such that the second compressible rod is located in the arcuate path of travel, and a backstop mechanism coupled with the attachment mechanism. The attachment mechanism may stably hold the gun and the backstop mechanism may accommodate planar movement of the attachment mechanism, so as to simulate a shooter holding the gun.