Reloading

Patents tagged Reloading

Mar 10, 2026

US12571619 - Ammunition press and components thereof

An ammunition press for manufacturing or reloading ammunition cartridges. The ammunition press includes an adjustable shell holder for holding ammunition shells (sometimes called cases) of various sizes. A catch tray is provided for collecting spent primers or other debris. According to a user's preference, the ammunition press can be customized to provide an over-center actuated configuration or a non-over-center actuated configuration. A light is integrated with the press for illuminating the shell holder. Components of the press and associated methods are also disclosed.

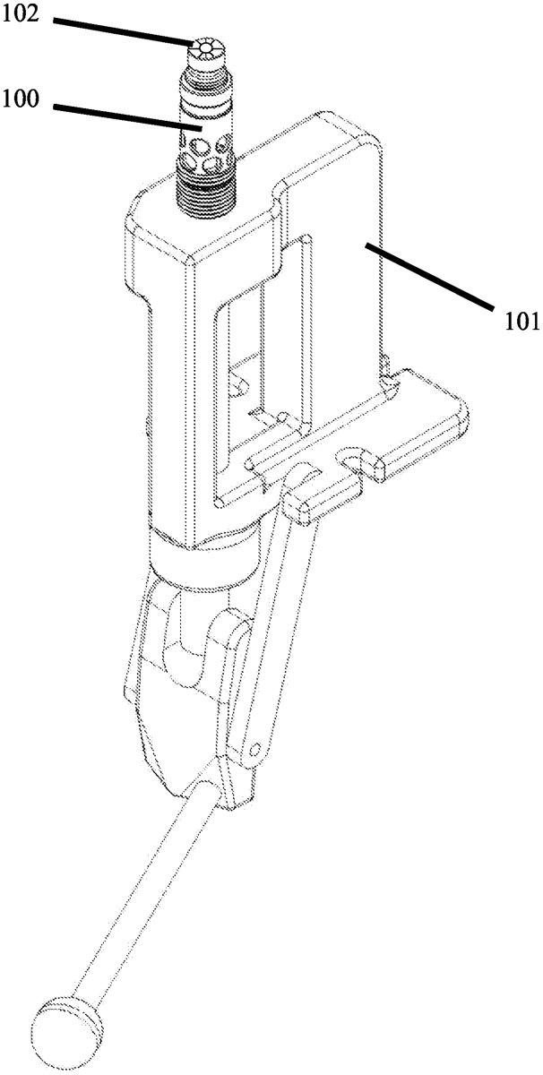
Mar 10, 2026

US12571620 - Ammunition press and components thereof

An ammunition press for manufacturing or reloading ammunition cartridges. The ammunition press includes a slide bearing about which the ram of the ammunition press moves to provide smooth operation of the ammunition press. A configurable spent primer system is provided to enable a user to select how they want to collect spent primers or other debris from the ammunition press. According to a user's preference, the ammunition press can also be customized to provide a cam-over or non-cam-over sensation as the user operates the ammunition press. A light is integrated with the ammunition press for illuminating a shell holder that holds the ammunition shells (sometimes called cases). Components of the ammunition press and associated methods are also disclosed.

Dec 30, 2025

US12510338 - Bullet feeder

The object of the invention is a bullet feeder for use in ammunition reloading devices. The bullet feeder of the invention comprises a static support ( 1 ), a rotary ring ( 2 ) provided with pockets ( 3 ) for receiving bullets ( 4 ), a container ( 5 ) for bullets ( 4 ), a sorting bridge ( 6 ), a guide ( 7 ) for conveying the correctly oriented bullets ( 4 ) to a die ( 40 ) for inserting bullets ( 4 ) into a cartridge case and a drive ( 8 ) of the rotary ring ( 2 ). The feeder of the invention, with its appropriately shaped pockets ( 3 ) and sorting bridge ( 6 ), exploits the shape of the bullet ( 4 ) to position it correctly in the position of insertion. Due to the specific shape and positioning of the sorting bridge ( 6 ), the bullet feeder of the invention can be easily adapted to different calibres and different shapes of bullets.

Nov 4, 2025

US12460911 - Progressive ammunition press system

Progressive ammunition press system, components thereof, and associated methods. The press system may include a press control system integrated with the press. The press may include a case carriage including a case carrier supported by a bearing. Case retainer gates may be provided for retaining cases in the case carrier. A bullet feeding system can be arranged to permit bullet feeding and seating in a single station of the press. A primer feeder can be self-contained, gear-driven, and/or recirculating.

Aug 26, 2025

US12398988 - Bullet seating die

A bullet seating die for use with an ammunition press to seat a bullet in a case includes a die housing having an ammunition press mount for mounting the bullet seating die on the ammunition press. The die housing defines a bullet receiving space having an open end and a side window in communication with the bullet receiving space. The side window sized and shaped to permit the bullet to be inserted therethrough to position the bullet in the bullet receiving space. A seating stem is supported by the die housing. The seating stem is arranged to engage the bullet to press the bullet into the case when the ammunition press is operated. A spring biases the seating stem away from the open end of the bullet receiving space to permit the bullet to be inserted through the side window and into the bullet receiving space.

Aug 26, 2025

US12398989 - Ammunition reloading device

An ammunition cartridge case reloading die has a die body defined by an interior bore and a bore opening, and a retention cap attachable to the die body. A cartridge case tool is fixed to the retention cap in axial alignment with the interior bore, and a tip of the cartridge case tool is at a proscribed distance relative to the bore opening. A centering shuttle is in sliding engagement in the interior bore of the die body, and defines a shuttle bore through which the cartridge case tool passes, and a reverse taper opening receptive to the cartridge case. The die may has a biasing element disposed within the interior bore between the centering shuttle and the retention cap, with movement of the centering shuttle within interior bore of the die body being dampened by the biasing element.

Aug 12, 2025

US12385725 - Multifunction primer pocket correction tool and method of using same

A multifunction primer pocket correction tool that combines three cutting features in a single hand tool for use in ammunition reloading. The tool operates to cut the primer pocket depth, removes the military crimp and chamfers the leading edge of the flash hole in a single process. This combined tool includes a new technology in an external flash hole chamfer. This adds another level of safety and consistency with each casing, while still chamfering, and end milling the primer pocket, all while using the base of the casing as a backstop for consistent depth of cut.

Apr 22, 2025

US12281887 - Ported press adapter press mandrel system and method of using same

A Ported Press Adapter Expand Mandrel System (PPAEMS) includes a Ported Press Adapter (PPA) as a significant advancement beyond the Expand Mandrel Window Riser (EMWR) by adding multiple radial holes to provide increased light intrusion, full 360° visibility, and balanced stress distribution with a pattern of port holes, slots, or other openings. Additional clarity is provided by an ancillary light source directed into the working area. Utilizing a small diameter Mandrel Holder (MH) allows for a wide range of mandrel diameters for installation in tight working areas (coax and progressive presses) and improves axially precision with a fine thread pitch.