Receiver

Patents tagged Receiver

Mar 24, 2026

US12584702 - Grip module for handgun

A grip module system for a handgun or other firearm may include a lower receiver, a pistol grip affixed to the lower receiver, a buffer tube attachment point affixed to a rear portion of the lower receiver, and an accessory rail removably attached to a top of the buffer tube attachment point. The grip module system may be configured to accept and engage the firing components of various semi-automatic and automatic pistols or rifles.

Mar 3, 2026

US12566036 - Firearm receiver

Apparatuses, systems, and methods are disclosed for use in or with firearms. A firearm receiver includes an elongated channel machined or 3D printed from a metallic material, and has a front end and a rear end. The firearm also includes a front trunnion having a rear portion coupled to the front end of the elongated channel and having a front portion configured to couple to a handguard. Also includes is a rear trunnion coupled to the rear end and configured to receive an accessory adapter.

Feb 10, 2026

US12546547 - Firearm platform and method of connecting upper and lower receivers

A firearm platform and method of connecting an upper receiver to a lower receiver. The upper receiver has a pivot lug and a takedown lug with perimeter openings in opposite directions. The lower receiver has a locking member that pushes against the takedown lug which causes the upper receiver to displace forward. As a result of the forward displacement, a pivot pin in the lower receiver exerts an opposing force against the pivot lug. The locking member is displaced between a locked and unlocked position through a lever located on an exterior surface of the lower receiver. When the locking member is in the locked position, the lower receiver and uppers receiver form a connection that is tight and free from slop.

Feb 3, 2026

US12540789 - Firearm receiver cover and closure assembly

A firearm receiver cover and closure assembly that allows the cover to be moved between respective open and closed positions relative to an underlying receiver. The closure assembly includes a latch that defines a latch button that cooperates with a latch button opening formed in the cover. Cooperation of the latch with the receiver and the cooperation of the latch button with the latch opening formed in the cover provide fixed and repeatable vertical and lateral positioning of the cover relative to the underlying receiver, without adjustment or operation of a centering mechanism or structure, during each closing of the cover relative to the underlying receiver.

Jan 27, 2026

US12535281 - Polymer firearm receiver

A receiver blank includes a receiver body with a magazine well and an insert. The insert is located internal to the receiver body, and the insert is manufactured before the receiver body. The insert must be removed from the receiver body to convert the receiver blank to a firearm receiver.

Jan 20, 2026

US12529535 - Ammunition convertible firearm

A firearm as disclosures herein comprises a main receiver body, a barrel, a breech bolt structure, a buffer assembly, a trigger group assembly, a bolt catch and at least one of an auto-sear, a magazine adapter and a breech bolt anti-rotation structure. The main receiver body is preferably of a monolithic construction whereby the handguard and breech bolt carrying bore can be manufactured from a single piece of material. The auto-sear is tripped by engagement with a buffer of the buffer assembly. The magazine adapter has an exterior surface structure engaged with a mating interior surface structure of a magazine well space of the main receiver body. A distal end portion of the breech bolt anti-rotation structure is engageable by the buffer for limiting forward travel of the buffer when the barrel is detached from the main receiver body.

Dec 30, 2025

US12510316 - Box magazine fed firearm receiver with pinch tabs

A box magazine fed firearm includes pinch tabs in the receiver of the firearm. In one embodiment, the pinch tabs are opposing pieces of spring steel extending upwardly and inwardly from opposing lateral sides of the receiver. In one embodiment, the pinch tabs are sections of flat spring steel bent into an arcuate shape and secured to the receiver by screws. In one embodiment, tension screws are used to adjust an inward bias of each of the pinch tabs.

Dec 30, 2025

US12510327 - Equipment rail attachment

The invention discloses a hand guard connecting structure of a firearm, which has the advantages of simple structure, convenience in processing, quickness in disassembly and assembly, firmness in connection, reliability in positioning and good part assembly consistency. The utility model provides a hand protector section of thick bamboo connection structure of firearms, includes hand protector section of thick bamboo, lower case body, the polygon is personally submitted to hand protector section of thick bamboo transversal, is equipped with the rectangular channel on each face of hand protector section of thick bamboo respectively, still includes the connecting plate, the connecting plate is located the hand protector section of thick bamboo, and the lower surface of connecting plate is equipped with the boss, and the rectangular channel on boss and the hand protector section of thick bamboo bottom surface corresponds, and each boss joint is fixed in the rectangular channel that corresponds, is equipped with normal direction last screw hole on each boss respectively, it is equipped with down the screw hole to correspond on the case body down, and lower case body passes through screw, screw hole fixed connection with each boss, forms the fixed connection of hand protector section of thick bamboo, lower case body.

Dec 23, 2025

US12504245 - Firearm receiver systems offering a fixed-barrel arrangement and pressure relief capability

A firearm receiver system comprises a receiver and a handguard. The receiver includes a front mounting body and a central bore configured for having a bolt carrier slidably disposed therein. The central bore includes a barrel-receiving receptacle at least partially located within the front mounting body. The handguard includes a handguard mounting body receptacle at a first end portion thereof. The front mounting body includes a plurality of interior surfaces each matingly engaged with a corresponding one of a plurality of exterior surfaces of the handguard mounting body receptacle. The receiver and the handguard may unitarily-formed body. The receiver may be configured for accommodating a barrel extension. The front mounting body may be configured for providing a fixed-barrel receiver system. The receiver may accommodate a pressure relief body for enabling the receiver to exhibit pressure relief functionality in the event of an over-pressure event within the receiver.

Nov 25, 2025

US12480729 - Firearms, systems, and methods for quick connection of a barrel to a firearm

Firearms, components, systems and methods to quickly connect or remove a barrel to or from an upper receiver, the receiver including an elongated body defining a central bore and configured to receive a barrel of a firearm, a cam positioned within the receiver and oriented transverse the central axis where turning the cam locks a barrel into the receiver, and in aspects includes a spring which straddles the barrel and applies a force to a hand guard which in turn applies force to a rim of the barrel to lock the barrel within the upper receiver.

Nov 25, 2025

US12480733 - Firearm lower receiver extension vise fixture

An apparatus implementable on a firearm includes a fixture base and a fixture neck. The fixture base is configured to be attached to a location on a lower receiver of the firearm where a pistol grip is mounted when the firearm is in operation. The fixture neck is configured to be slidingly received by the fixture base while an extension portion of the firearm traverses through a through hole or hollow of the fixture neck.

Nov 18, 2025

US12474131 - Frame assembly for a firearm

A receiver assembly for a handgun. The receiver assembly includes an upper receiver portion, a lower receiver portion, and a locking mechanism. The upper receiver portion includes i) a guide rail for receiving a slide assembly and ii) a magazine compartment for receiving a magazine. The magazine compartment defines a magazine insertion direction, and the magazine is pushable into the magazine compartment in the magazine insertion direction. The lower receiver portion is slidable onto the upper receiver portion in the magazine insertion direction. The locking mechanism is configured to couple the lower receiver portion to the upper receiver portion. The locking mechanism includes a locking element that is structurally independent. The locking element includes a contact projection and a locking projection. The contact projection form-fittingly engages with the lower receiver portion and the locking projection form-fittingly engages with the upper receiver portion.

Oct 28, 2025

US12455134 - Quick take-down firearm

Quick take-down firearms and methods of using quick-take down firearms. The quick-take down includes an upper receiver coupling and a barrel coupling. The quick take-down can be unlocked by sliding a sliding lock collar in a translational motion to an unlocked position to release locking elements from a locked configuration. In the unlocked position, a barrel and handguard may be installed onto and removed from the upper receiver of the firearm. Releasing the sliding lock collar returns it to a locked position, securing the barrel and handguard to the upper receiver.

Oct 28, 2025

US12455136 - Quick take-down firearm

Quick take-down firearms and methods of using quick-take down firearms. The quick-take down includes an upper receiver coupling and a barrel coupling. The quick take-down can be unlocked by sliding a sliding lock collar in a translational motion to an unlocked position to release locking elements from a locked configuration. In the unlocked position, a barrel and handguard may be installed onto and removed from the upper receiver of the firearm. Releasing the sliding lock collar returns it to a locked position, securing the barrel and handguard to the upper receiver.

Oct 21, 2025

US12449214 - Hybrid ambidextrous receiver

A firearm receiver assembly includes a receiver body, a threaded mount at a rear portion of the receiver body, a magazine release assembly including a magazine release portion on at least one side of the receiver body, a bolt release assembly including a bolt release central portion and a bolt release portion on at least one side of the receiver body, and a safety selector assembly including a safety portion on at least one side of the receiver body. The bolt release central portion translates vertically within a cavity of the receiver body.

Oct 21, 2025

US12449221 - Assembly of a receiver with a barrel

An assembly of a receiver ( 1 ) with a barrel ( 4 ) wherein the barrel ( 4 ) is inserted into a barrel hole ( 7 ) in the receiver ( 1 ) and is attached in a replaceable manner by means of a clamping connection that comprises a longitudinal slot ( 2 ) that longitudinally divides the receiver ( 1 ) wall in the insertion location of the barrel ( 4 ). In the location of the longitudinal slot ( 2 ) at least two transversal screws ( 3 ) pass through the receiver ( 1 ). In the location of the longitudinal slot ( 2 ), a transversal hole ( 5 ) extends into the receiver ( 1 ) and a transversal pin ( 10 ) passes through the transversal hole ( 5 ) in such a way that the transversal pin ( 10 ) reaches into a corresponding transversal recess ( 9 ) in the barrel ( 4 ). Perpendicularly to the longitudinal axis of the transversal pin ( 10 ) a threaded hole ( 11 ) with a connecting screw ( 12 ) passes through the transversal pin ( 10 ). The connecting screw ( 12 ) further passes through a straight-through hole ( 6 ) in the receiver ( 1 ) and through a stock/frame ( 13 ) of the firearm to connect the receiver ( 1 ) to the stock/frame ( 13 ) of the firearm.

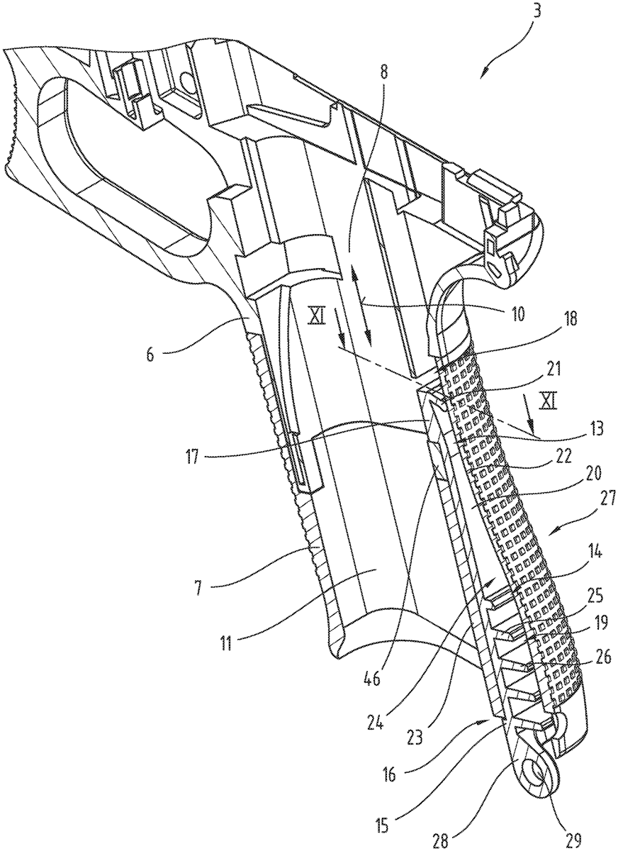
Sep 16, 2025

US12416460 - Receiver assembly for a handgun

A receiver assembly for a handgun. The receiver assembly includes a receiver having a magazine well, a locking device having a locking lever for actuating the locking device, a control block accommodated in the receiver, a trigger pivotable in the receiver and about a trigger axis, a sear bar coupled to the trigger, a locking bar having a guide lug, and a lowering component accommodated in the control block, which has a bar guide slot formed therein. The sear bar extends to the control block and includes a guide bracket. The locking bar interacts with the locking device. The lowering component is displaceable for removing the slide assembly from the receiver assembly. The lowering component includes a control window and a guide link. The guide bracket is guided in the control window. The guide lug protrudes into the guide link and through a bar guide slot of the control block.

Jun 24, 2025

US12339084 - Firearm platform and method of connecting upper and lower receivers

A firearm platform and method of connecting an upper receiver to a lower receiver. The upper receiver has a pivot lug and a takedown lug with perimeter openings in opposite directions. The lower receiver has a locking member that pushes against the takedown lug which causes the upper receiver to displace forward. As a result of the forward displacement, a pivot pin in the lower receiver exerts an opposing force against the pivot lug. The locking member is displaced between a locked and unlocked position through a lever located on an exterior surface of the lower receiver. When the locking member is in the locked position, the lower receiver and uppers receiver form a connection that is tight and free from slop.

Apr 15, 2025

US12276470 - Firearm receiver assembly

An upper receiver assembly for a firearm having an upper receiver with an integral barrel nut, a handguard assembly and a barrel nut assembly with a barrel and lock nut is provided. The barrel is received by the upper receiver and is secured directly to the upper receiver using the lock nut. The upper receiver also includes an integral handguard mounting member to which the handguard assembly may be directly attached. The upper receiver assembly allows the user to attach both the barrel and handguard assemblies directly to the upper receiver, independently of one another.