US12510316 - Box magazine fed firearm receiver with pinch tabs

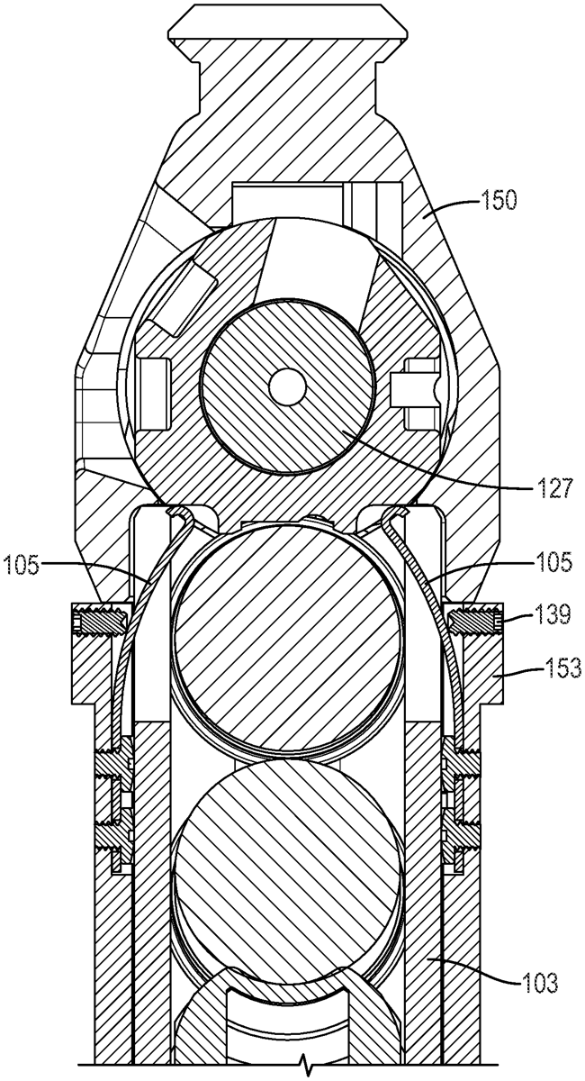
The patent describes a firearm receiver designed to accommodate a box magazine, featuring pinch tabs that help retain the ammunition round in alignment with the chamber. These pinch tabs, made from spring steel, provide downward force on the round as the bolt moves forward, ensuring proper feeding from the magazine.
Claim 1
1 . A firearm comprising: a receiver configured to receive a box magazine containing a round of ammunition, receive the round from the box magazine, and provide the round to a chamber of the firearm, wherein the chamber extends along a longitudinal axis of the firearm; and a pair of pinch tabs extending laterally inward from opposing sides of the receiver, said pinch tabs configured to contact the round and cooperate with rear feed lips of the box magazine to retain the round generally parallel to the longitudinal axis when a bolt of the firearm is in a rear position of the bolt and the box magazine is in the receiver with the round in the box magazine, wherein: as the bolt moves from the rear position of the bolt to a forward position of the bolt, the bolt pushes a rear end of the round forward of the rear feed lips of the box magazine such that only the pair of pinch tabs are exerting downward force on the round. a receiver configured to receive a box magazine containing a round of ammunition, receive the round from the box magazine, and provide the round to a chamber of the firearm, wherein the chamber extends along a longitudinal axis of the firearm; and a pair of pinch tabs extending laterally inward from opposing sides of the receiver, said pinch tabs configured to contact the round and cooperate with rear feed lips of the box magazine to retain the round generally parallel to the longitudinal axis when a bolt of the firearm is in a rear position of the bolt and the box magazine is in the receiver with the round in the box magazine, wherein: as the bolt moves from the rear position of the bolt to a forward position of the bolt, the bolt pushes a rear end of the round forward of the rear feed lips of the box magazine such that only the pair of pinch tabs are exerting downward force on the round.
Google Patents
https://patents.google.com/patent/US12510316
USPTO PDF
https://image-ppubs.uspto.gov/dirsearch-public/print/downloadPdf/12510316