Muzzleloader

Patents tagged Muzzleloader

Jul 8, 2025

US12352530 - Muzzle loading system

A muzzleloader includes a shot holding member having a first end configured to receive an object to be loaded into the muzzle and a second end; the shot holding member including a hollow shot holding chamber; and an actuator located at the first end of the shot holding member. The actuator includes a plunger having a head portion, a connector configured to connect the actuator to the first end of the shot holding member, a first O-ring configured to encircle the connector and located between the connector and the first end of the shot holding member, and a second O-ring configured to encircle the plunger and located between a head portion of the plunger and the connector.

Jun 24, 2025

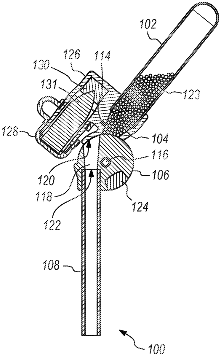
US12339096 - Apparatus for storing and dispensing propellant, a bullet, and a primer for a muzzleloader

A quick loader includes a propellant tube, a main loader body, a funnel valve, and a funnel tube. The funnel valve features a channel that connects the main loader body to the funnel tube, allowing propellant to flow therethrough when open. The funnel valve is coupled to the main loader body by a hinge on a metal pin that enables free rotation around a fixed axis. The funnel valve further features a gasket that covers an outlet of the main loader body when not in use and prevents water from entering the propellant tube. In some embodiments, the quick loader further includes a bullet compartment and a primer holder, configured respectively to hold a bullet and a primer that are accessible with one hand for quick and silent use in the field.