Forcedreset

Patents tagged Forcedreset

Mar 17, 2026

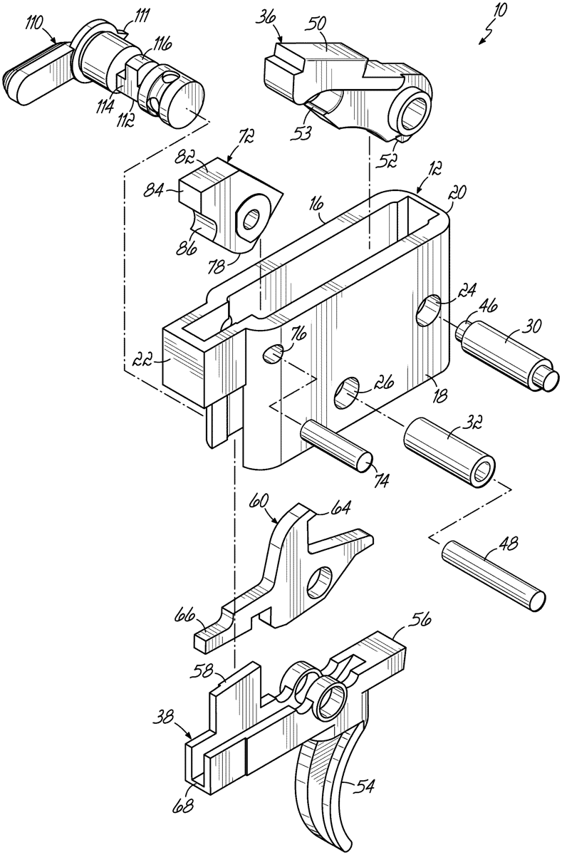
US12578159 - Firearm trigger mechanism

A trigger mechanism that can be used in AR-pattern firearms has a hammer, a trigger member, a disconnector, a cam, and a “three position” safety selector having safe, standard semi-automatic, and forced reset semi-automatic positions. In the standard semi-automatic position, rearward movement of the bolt carrier causes rearward pivoting of the hammer and pivoting of the cam from a first position to a second position such that a cam lobe forces the trigger member towards the set position, but prior to reaching the set position the disconnector hook catches the hammer hook, at which time a user must manually release the trigger member to free the hammer from the disconnector to permit the hammer and trigger member to pivot to their set positions so that the user can pull the trigger member to fire the firearm. In the forced reset semi-automatic position, rearward movement of the bolt carrier causes rearward pivoting of the hammer and pivoting of the cam from the first position to the second position such that the cam lobe forces the trigger member to the set position, the safety selector preventing the disconnector hook from catching the hammer hook, at which time the user can pull the trigger member to fire the firearm without manually releasing the trigger member.