Cover

Patents tagged Cover

Mar 24, 2026

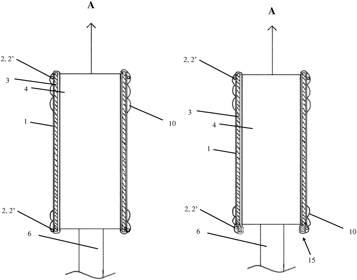
US12584707 - Firearm suppressor cover

A firearm suppressor cover ( 1 ), comprising a thermal insulator ( 3 ) which is, in use, configured to surround a firearm suppressor ( 4 ); and a curved spring ( 2 ) which is located at a first end of the cover and pre-bent into a shape of a ring, which is open at one point, the spring ( 2 ) being, in use, configured to tighten around the firearm suppressor ( 4 ) in order to tighten said thermal insulator ( 3 ) around the firearm suppressor ( 4 ) and to prevent the longitudinal movement of said thermal insulator ( 3 ) in relation to said suppressor ( 4 ).