US12607428 - Blast attenuation device

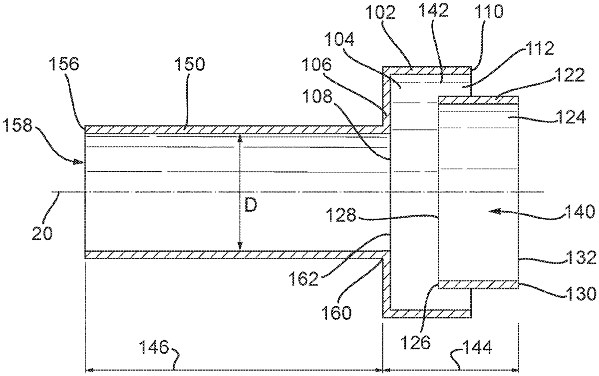
The patent describes a blast attenuation device designed for gun tubes, consisting of two coaxial wall sections that create separate chambers for gas flow, enhancing safety and performance. The device features a support hub that connects the chambers, allowing for controlled gas flow dynamics between an outer and a central region at the outlet.
Claim 1
1 . A blast attenuation device for a gun tube, the blast attenuation device having a longitudinal axis and comprising: a first wall section which defines a first chamber, the first chamber extending from an inlet end having an inlet aperture to an outlet end having an outlet aperture coaxial with the longitudinal axis, the first wall section having a continuous uninterrupted constant internal diameter between the inlet aperture of the first chamber and the outlet aperture of the first chamber; a second wall section which defines a second chamber, the second chamber extending from an inlet end having an inlet aperture to an outlet end having an outlet aperture being coaxial with the longitudinal axis; and the second wall section has a continuous uninterrupted constant internal diameter between the inlet aperture of the second chamber and the outlet aperture of the second chamber, the second wall section being spaced apart from the first wall section to define a flow passage between the first wall section and second wall section, the first wall section and second wall section defining a first region of a bore of the blast attenuation device, the first wall section and the second wall section being coaxial with the longitudinal axis; and a support hub defining a second region of the bore of the blast attenuation device, the support hub having an inlet end having an inlet aperture and an outlet end having an outlet aperture, wherein the outlet end of the support hub extends to/from the inlet end of the first wall section, the support hub being coaxial with the longitudinal axis, wherein a portion of the first chamber is between the outlet aperture of the support hub and the inlet aperture of the second chamber, such that gas flow through the flow passage between the first wall section and the second wall section forms an outer gas flow region, gas flow through the second wall section outlet aperture forms a central gas flow region, and the outer gas flow region bounds the central gas flow region at the outlet aperture of the second chamber. a first wall section which defines a first chamber, the first chamber extending from an inlet end having an inlet aperture to an outlet end having an outlet aperture coaxial with the longitudinal axis, the first wall section having a continuous uninterrupted constant internal diameter between the inlet aperture of the first chamber and the outlet aperture of the first chamber; a second wall section which defines a second chamber, the second chamber extending from an inlet end having an inlet aperture to an outlet end having an outlet aperture being coaxial with the longitudinal axis; and the second wall section has a continuous uninterrupted constant internal diameter between the inlet aperture of the second chamber and the outlet aperture of the second chamber, the second wall section being spaced apart from the first wall section to define a flow passage between the first wall section and second wall section, the first wall section and second wall section defining a first region of a bore of the blast attenuation device, the first wall section and the second wall section being coaxial with the longitudinal axis; and a support hub defining a second region of the bore of the blast attenuation device, the support hub having an inlet end having an inlet aperture and an outlet end having an outlet aperture, wherein the outlet end of the support hub extends to/from the inlet end of the first wall section, the support hub being coaxial with the longitudinal axis, wherein a portion of the first chamber is between the outlet aperture of the support hub and the inlet aperture of the second chamber, such that gas flow through the flow passage between the first wall section and the second wall section forms an outer gas flow region, gas flow through the second wall section outlet aperture forms a central gas flow region, and the outer gas flow region bounds the central gas flow region at the outlet aperture of the second chamber.
Google Patents
https://patents.google.com/patent/US12607428
USPTO PDF
https://image-ppubs.uspto.gov/dirsearch-public/print/downloadPdf/12607428