US12601574 - Foldable moveable member for an air vehicle with fold region having a plurality of holes

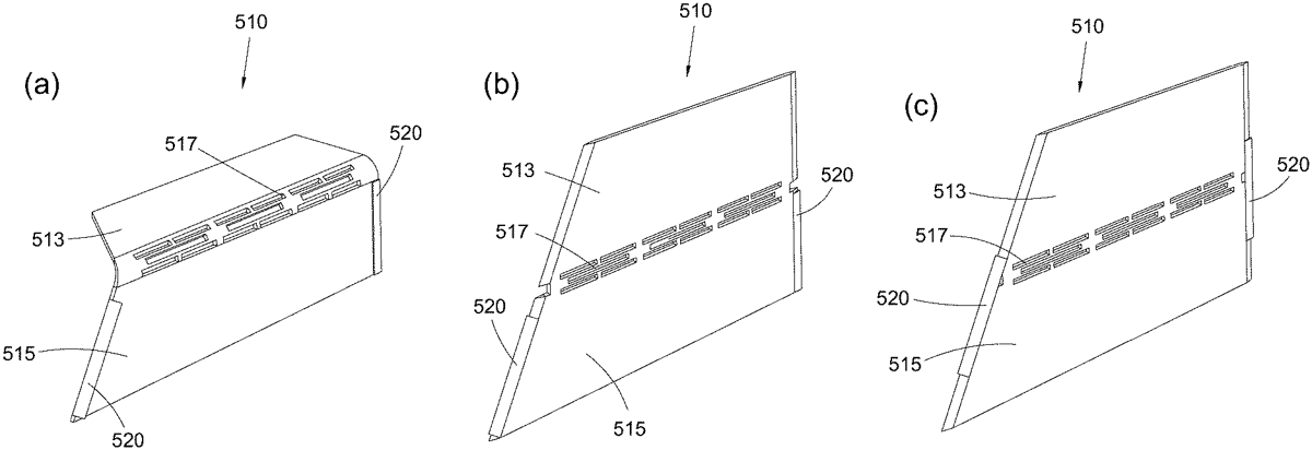
The patent describes a foldable flight control member for air vehicles, featuring a sheet with a first portion, a second portion, and a fold region that includes multiple elongate holes to reduce stiffness. This design allows for relative movement between the first and second portions while maintaining a continuous surface.
Claim 1
1 . A foldable flight control member comprising a sheet, the sheet comprising: a first portion, a second portion, and a fold region, wherein: the first portion is connected to the second portion via the fold region, wherein the fold region comprises a fold line, such that when the foldable moveable member folds, the first portion moves relative to the second portion about the fold line, the fold region defining a plurality of elongate holes such that the stiffness of the fold region is lower than the first or second portion, wherein each elongate hole is resolved into a first length component parallel to the fold line and a second length component orthogonal to the fold line, wherein the first length component parallel to the fold line is greater than the second length component orthogonal to the fold line, and the fold region, the first portion and the second portion form a continuous surface. a first portion, a second portion, and a fold region, wherein: the first portion is connected to the second portion via the fold region, wherein the fold region comprises a fold line, such that when the foldable moveable member folds, the first portion moves relative to the second portion about the fold line, the fold region defining a plurality of elongate holes such that the stiffness of the fold region is lower than the first or second portion, wherein each elongate hole is resolved into a first length component parallel to the fold line and a second length component orthogonal to the fold line, wherein the first length component parallel to the fold line is greater than the second length component orthogonal to the fold line, and the fold region, the first portion and the second portion form a continuous surface.
Google Patents
https://patents.google.com/patent/US12601574
USPTO PDF
https://image-ppubs.uspto.gov/dirsearch-public/print/downloadPdf/12601574