US12601565 - Electronic reduction of parallax errors in direct-view rifle scopes without ranging

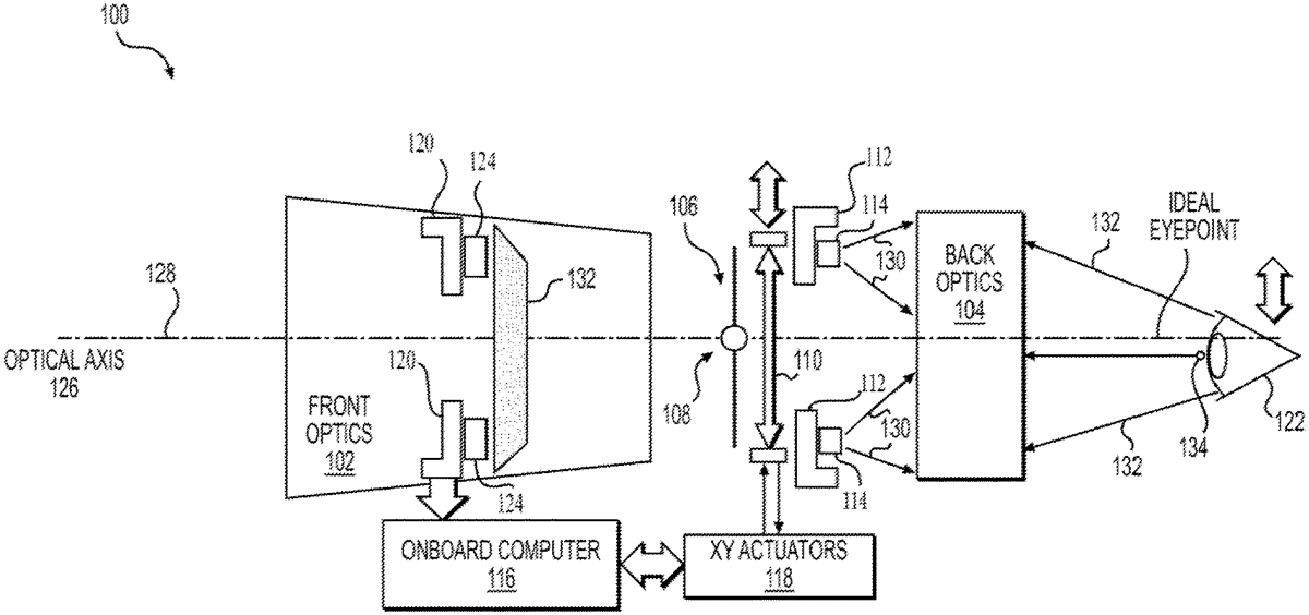
The patent describes a rifle scope that utilizes light emitting devices and optical detectors to eliminate parallax errors by adjusting the position of a field lens based on detected reflected light. A processor analyzes the data from the optical detectors to ensure the eyepoint aligns with the optical axis, enhancing accuracy for the user.
Claim 1
1 . A rifle scope comprising: a plurality of light emitting devices for sending illuminations directed to a distal end of the rifle scope; a plurality of optical detectors for detecting reflected light received from the disyal distal end of the rifle scope, each of the optical detectors producing data regarding the reflected light each optical detector observed; and a processor device for receiving the data on the reflected light from the optical detectors and adjusting a position of a field lens so an eyepoint projected in a target space of the rifle scope coincides with an optical axis of the rifle scope removing parallax errors due to misalignment. a plurality of light emitting devices for sending illuminations directed to a distal end of the rifle scope; a plurality of optical detectors for detecting reflected light received from the disyal distal end of the rifle scope, each of the optical detectors producing data regarding the reflected light each optical detector observed; and a processor device for receiving the data on the reflected light from the optical detectors and adjusting a position of a field lens so an eyepoint projected in a target space of the rifle scope coincides with an optical axis of the rifle scope removing parallax errors due to misalignment.
Google Patents
https://patents.google.com/patent/US12601565
USPTO PDF
https://image-ppubs.uspto.gov/dirsearch-public/print/downloadPdf/12601565