US12601561 - Recoil damping system for high pressure gas firearms

The patent describes a recoil damping system designed for firearms that fire high-pressure, heavy-weight cartridges, featuring easily attachable and detachable spring tubes with variable stiffness to absorb recoil. This innovative system minimizes the impact on the shooter’s shoulder, reducing pain and potential injuries associated with severe recoil.
Claim 1
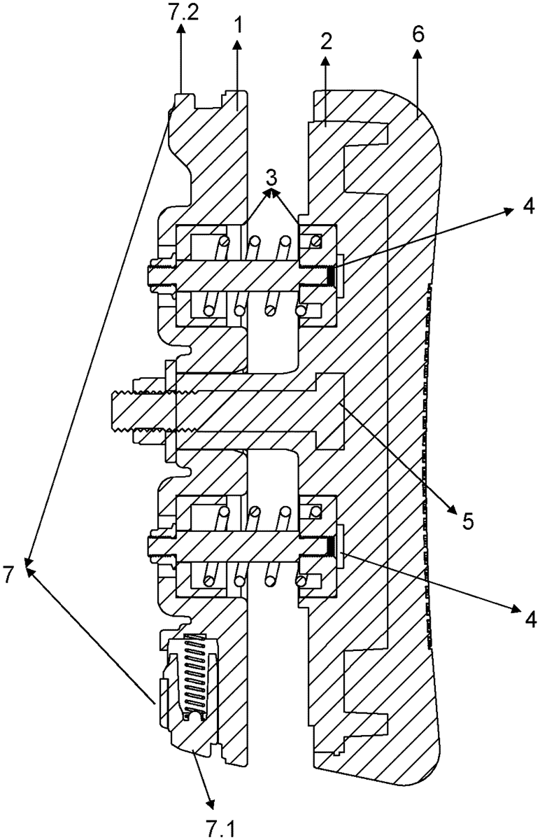
1 . A recoil dampening system for firearms with high gas pressure and heavy-weight cartridges/bullets, comprising: an inner body forming a contact surface with a rifle butt, an outer body containing a pad and a spring tube channel, wherein the spring tube channel forms a bearing for spring tubes, wherein the spring tubes are connected to the inner body with a connecting cam, at least one spring tube channel on the inner body and the outer body, wherein the at least one spring tube channel forms the bearing for the spring tubes, wherein at least one spring tube comprises a tubular housing enclosing an internal compression spring, at least one spring tube, wherein the at least one spring tube provides damping by transmitting a recoil force, wherein the inner body is subjected to the recoil force, the connecting cam, wherein the connecting cam allows the inner body to move towards the outer body at a compression ratio of the spring tubes when the inner body is subjected to the recoil force, and a locking system, wherein the locking system enables a recoil damping assembly set, wherein the recoil damping assembly set is formed by the spring tubes placed in the at least one spring tube channel on the inner body and the outer body on both sides of the connecting cam, to be connected to the rifle butt in a manner to have a distance between the inner body and the outer body so that the inner body is allowed to move back and forth on the connecting cam. an inner body forming a contact surface with a rifle butt, an outer body containing a pad and a spring tube channel, wherein the spring tube channel forms a bearing for spring tubes, wherein the spring tubes are connected to the inner body with a connecting cam, at least one spring tube channel on the inner body and the outer body, wherein the at least one spring tube channel forms the bearing for the spring tubes, wherein at least one spring tube comprises a tubular housing enclosing an internal compression spring, at least one spring tube, wherein the at least one spring tube provides damping by transmitting a recoil force, wherein the inner body is subjected to the recoil force, the connecting cam, wherein the connecting cam allows the inner body to move towards the outer body at a compression ratio of the spring tubes when the inner body is subjected to the recoil force, and a locking system, wherein the locking system enables a recoil damping assembly set, wherein the recoil damping assembly set is formed by the spring tubes placed in the at least one spring tube channel on the inner body and the outer body on both sides of the connecting cam, to be connected to the rifle butt in a manner to have a distance between the inner body and the outer body so that the inner body is allowed to move back and forth on the connecting cam.
Google Patents
https://patents.google.com/patent/US12601561
USPTO PDF
https://image-ppubs.uspto.gov/dirsearch-public/print/downloadPdf/12601561