US12601560 - Buffer tube apparatus

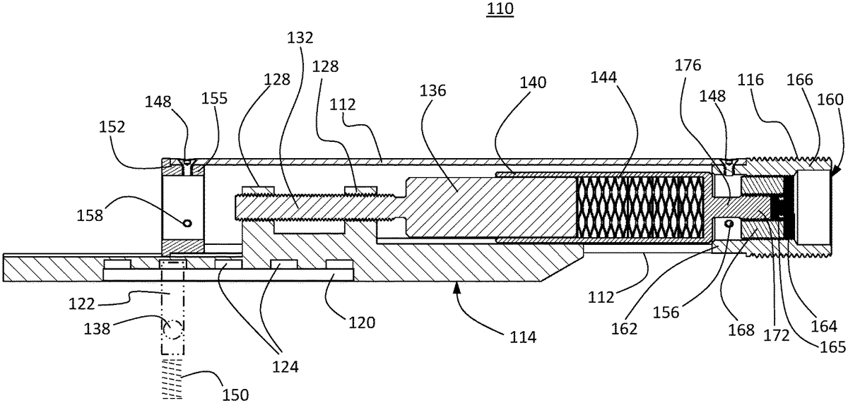
The patent describes a buffer tube apparatus for firearms that includes an outer tube, a shock-absorbing buffer assembly, and an adjustable bar for modifying the stock’s length of pull. The design allows the adjustment bar to move in conjunction with the buffer assembly during recoil, enhancing stability and comfort for the user.
Claim 1
1 . A buffer tube apparatus for a weapon, comprising: an outer tube defining a longitudinal axis, the outer tube having a first end configured to be coupled to the weapon and a second end opposite the first end, the second end configured to be coupled to a stock; a buffer assembly including a shock absorber, the buffer assembly disposed within the outer tube, the buffer assembly configured to absorb an impact of recoil generated by the weapon; and an adjustment bar configured to interact with the stock to adjust a length of pull of the stock, the adjustment bar coupled to the buffer assembly and slidable with respect to the outer tube along the longitudinal axis, wherein the adjustment bar is rigidly coupled to the buffer assembly such that the adjustment bar moves together with the buffer assembly during recoil relative to the outer tube. an outer tube defining a longitudinal axis, the outer tube having a first end configured to be coupled to the weapon and a second end opposite the first end, the second end configured to be coupled to a stock; a buffer assembly including a shock absorber, the buffer assembly disposed within the outer tube, the buffer assembly configured to absorb an impact of recoil generated by the weapon; and an adjustment bar configured to interact with the stock to adjust a length of pull of the stock, the adjustment bar coupled to the buffer assembly and slidable with respect to the outer tube along the longitudinal axis, wherein the adjustment bar is rigidly coupled to the buffer assembly such that the adjustment bar moves together with the buffer assembly during recoil relative to the outer tube.
Google Patents
https://patents.google.com/patent/US12601560
USPTO PDF
https://image-ppubs.uspto.gov/dirsearch-public/print/downloadPdf/12601560