US12492887 - Miniature electronic safe arm device

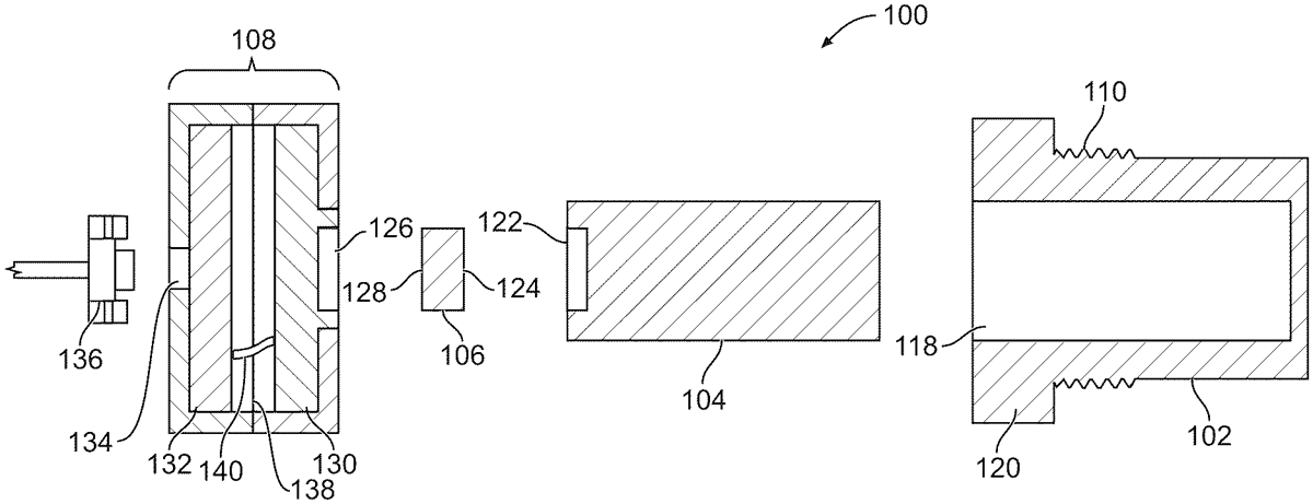
The Miniature Electronic Safe Arm Device (MESAD) kit allows for the conversion of legacy munitions into unmanned aerial system (UAS) payloads by replacing traditional fuzes with an electronic assembly. It includes a specialized munition adapter, a high explosive booster charge, a low energy exploding foil initiator, and a warhead initiation module.
Claim 1
1 . A miniature electronic safe arm device (MESAD) kit comprising: a unitary T-shape munition adapter, wherein the unitary T-shape munition adapter is configured to mate with a female portion of a munition shell, wherein the unitary T-shape munition adapter has a bolt portion and a T-portion, wherein the T-portion is perpendicular to the bolt portion, wherein the bolt portion has integral threads thereon configured to mate directly with integral threads of the female portion of the munition shell; a high explosive booster charge; a low energy exploding foil initiator (LEEFI) detonator; and a warhead initiation module (WIM). a unitary T-shape munition adapter, wherein the unitary T-shape munition adapter is configured to mate with a female portion of a munition shell, wherein the unitary T-shape munition adapter has a bolt portion and a T-portion, wherein the T-portion is perpendicular to the bolt portion, wherein the bolt portion has integral threads thereon configured to mate directly with integral threads of the female portion of the munition shell; a high explosive booster charge; a low energy exploding foil initiator (LEEFI) detonator; and a warhead initiation module (WIM).
Google Patents
https://patents.google.com/patent/US12492887
USPTO PDF
https://image-ppubs.uspto.gov/dirsearch-public/print/downloadPdf/12492887