US12492886 - Non-lethal projectile construction and launcher

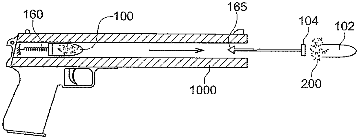
The patent describes a non-lethal projectile system that includes a launcher and a projectile containing a debilitating material, which opens after a specified distance to release the material. The system features a tether and capture pin that ensure the projectile remains connected to the launcher even after the material is released.
Claim 1
1 . A launcher and projectile system, the system comprising a launcher, a projectile, said projectile comprising a debilitating material contained within at least a portion of said projectile and a capture pin, and a tether, said tether having a length dimension and said tether operatively coupled to said launcher and said projectile, wherein after said projectile is launched, said projectile travels a distance equal to the length of the tether, and upon reaching said distance, an opening is facilitated in the projectile, the opening allowing the debilitating material to be released from the projectile, and wherein said capture pin causes said projectile to remain coupled to said tether after said opening is facilitated in said projectile. a launcher, a projectile, said projectile comprising a debilitating material contained within at least a portion of said projectile and a capture pin, and a tether, said tether having a length dimension and said tether operatively coupled to said launcher and said projectile, said tether having a length dimension and said tether operatively coupled to said launcher and said projectile, wherein after said projectile is launched, said projectile travels a distance equal to the length of the tether, and upon reaching said distance, an opening is facilitated in the projectile, the opening allowing the debilitating material to be released from the projectile, and wherein said capture pin causes said projectile to remain coupled to said tether after said opening is facilitated in said projectile.
Google Patents
https://patents.google.com/patent/US12492886
USPTO PDF
https://image-ppubs.uspto.gov/dirsearch-public/print/downloadPdf/12492886