US12480736 - Pneumatic rifle for alternative ammunition

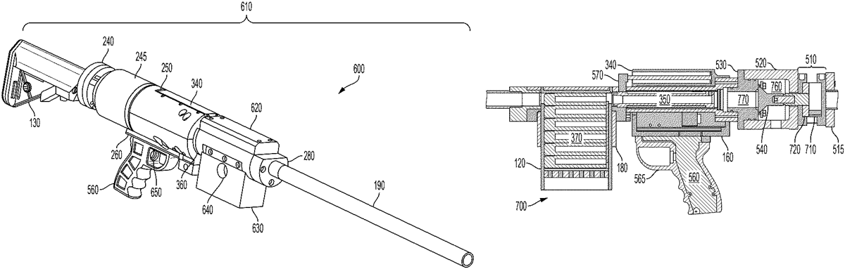
The patent describes a hand-held pneumatic rifle designed to interchangeably fire solid and liquid ammunition using a gas actuator to propel the rounds. Key components include a firing module, magazine, loader, and barrel, all arranged to facilitate the efficient ejection and direction of the projectiles.
Claim 1
1 . A hand-held long-gun for interchangeably propel a round, said gun comprising: a gas actuator for storing and releasing compressed gas; a firing module that includes a chamber for receiving said gas to push forward a bolt in response to actuation by a trigger, said module disposed forward of said actuator; a magazine for containing ammunition that constitutes the round that constitutes one of a elongated axisymmetric solid and a volumetrically constrained liquid, wherein said magazine includes a fill port for receiving a liquid supply; a loader for laterally receiving the round from said magazine and longitudinally receiving said bolt to eject the round, said loader disposed forward of said module; and a barrel for directing the round ejected from said loader, said barrel disposed forward of said loader. a gas actuator for storing and releasing compressed gas; a firing module that includes a chamber for receiving said gas to push forward a bolt in response to actuation by a trigger, said module disposed forward of said actuator; a magazine for containing ammunition that constitutes the round that constitutes one of a elongated axisymmetric solid and a volumetrically constrained liquid, wherein said magazine includes a fill port for receiving a liquid supply; a loader for laterally receiving the round from said magazine and longitudinally receiving said bolt to eject the round, said loader disposed forward of said module; and a barrel for directing the round ejected from said loader, said barrel disposed forward of said loader.
Google Patents
https://patents.google.com/patent/US12480736
USPTO PDF
https://image-ppubs.uspto.gov/dirsearch-public/print/downloadPdf/12480736