US12480737 - Portable pneumatic throwline launcher

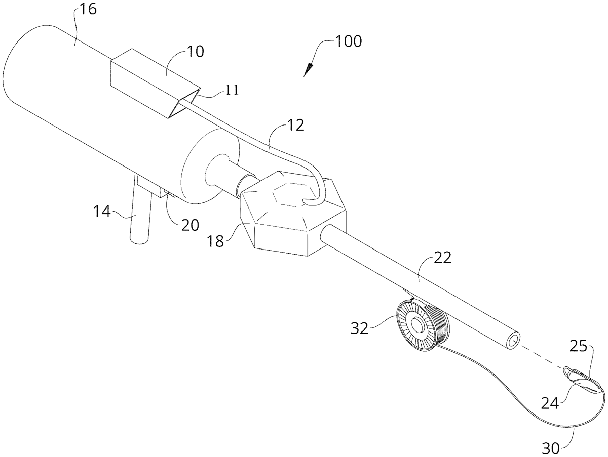
The patent describes a portable pneumatic throwline launcher that features a barrel connected to an air compressor and an air tank, allowing for efficient operation. It includes a battery for power control, ensuring the device remains portable while maintaining functionality through an external electrical connection.
Claim 1
1 . A pneumatic throwline launcher comprising: a barrel fluidly coupled to an air compressor; an air tank fluidly coupled to the air compressor; a pressure release valve fluidly coupled to the barrel and the air tank; a battery electrically connected to the air compressor for selectively controlling power to the air compressor; a compressor bracket physically connecting the air compressor to the air tank; an electrical connection extending between the air compressor to the pressure release valve, wherein the electrical connection is entirely external as it spans from the air compressor to the pressure release valve so as to not contact the compressor bracket, whereby the battery being physically connected to the air tank enables portability of the pneumatic throwline launcher. a barrel fluidly coupled to an air compressor; an air tank fluidly coupled to the air compressor; a pressure release valve fluidly coupled to the barrel and the air tank; a battery electrically connected to the air compressor for selectively controlling power to the air compressor; a compressor bracket physically connecting the air compressor to the air tank; an electrical connection extending between the air compressor to the pressure release valve, wherein the electrical connection is entirely external as it spans from the air compressor to the pressure release valve so as to not contact the compressor bracket, whereby the battery being physically connected to the air tank enables portability of the pneumatic throwline launcher.
Google Patents
https://patents.google.com/patent/US12480737
USPTO PDF
https://image-ppubs.uspto.gov/dirsearch-public/print/downloadPdf/12480737