US12474149 - Blasting system

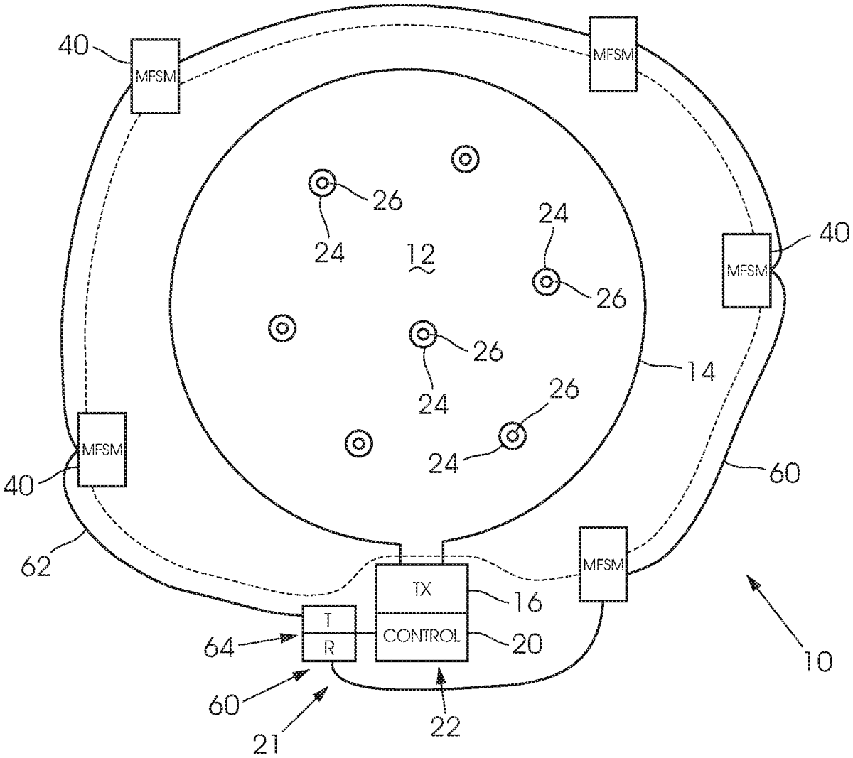
The patent describes a blasting system that utilizes a control device to transmit a magnetic signal to detonator assemblies positioned in boreholes, with magnetic field strength meters (MFSMs) placed around the perimeter to assess the reliability of the signal. Each MFSM generates a data signal based on the strength of the detected magnetic signal, which is then communicated to a data collection point for analysis.
Claim 1
1 . A blasting system ( 10 ) comprising: a blast site ( 12 ) with a perimeter ( 36 ) which surrounds the blast site ( 12 ), an antenna ( 14 ), a transmitter ( 16 ) at a control device ( 20 ) which, via the antenna ( 14 ), transmits a magnetic signal, a plurality of spaced apart boreholes ( 24 ) at the blast site, a plurality of detonator assemblies ( 26 ), each detonator assembly ( 26 ) being positioned in a respective borehole ( 24 ), each detonator assembly ( 26 ) including a respective receiver ( 28 ) which is responsive to the magnetic signal transmitted from the control device ( 20 ) and received by the receiver ( 28 ), a plurality of magnetic field strength meters (MFSMs) ( 40 ) respectively positioned at spaced apart locations on the perimeter ( 36 ), each MFSM ( 40 ) including a transmitter ( 42 ), a detector ( 46 ) and a respective unique identifier ( 48 ), each MFSM ( 40 ), in response to a magnetic signal detected by the respective detector ( 46 ) which was transmitted directly from the control device ( 20 ) and which is sent via the antenna ( 14 ), producing a respective data signal ( 44 ), the respective data signal ( 44 ) is dependent, at least, on the strength of the magnetic signal as determined by the detector ( 46 ), and includes said unique identifier ( 48 ), and a communication arrangement ( 60 ), for transmitting said data signals ( 44 ) from respective transmitters ( 42 ) of said MFSMs ( 40 ) to a data collection point ( 21 ) thereby to allow for assessment of the reliability of the magnetic signal transmitted from the control device ( 20 ) to the detonator assemblies ( 26 ). a blast site ( 12 ) with a perimeter ( 36 ) which surrounds the blast site ( 12 ), an antenna ( 14 ), a transmitter ( 16 ) at a control device ( 20 ) which, via the antenna ( 14 ), transmits a magnetic signal, a plurality of spaced apart boreholes ( 24 ) at the blast site, a plurality of detonator assemblies ( 26 ), each detonator assembly ( 26 ) being positioned in a respective borehole ( 24 ), each detonator assembly ( 26 ) including a respective receiver ( 28 ) which is responsive to the magnetic signal transmitted from the control device ( 20 ) and received by the receiver ( 28 ), a plurality of magnetic field strength meters (MFSMs) ( 40 ) respectively positioned at spaced apart locations on the perimeter ( 36 ), each MFSM ( 40 ) including a transmitter ( 42 ), a detector ( 46 ) and a respective unique identifier ( 48 ), each MFSM ( 40 ), in response to a magnetic signal detected by the respective detector ( 46 ) which was transmitted directly from the control device ( 20 ) and which is sent via the antenna ( 14 ), producing a respective data signal ( 44 ), the respective data signal ( 44 ) is dependent, at least, on the strength of the magnetic signal as determined by the detector ( 46 ), and includes said unique identifier ( 48 ), and a transmitter ( 42 ), a detector ( 46 ) and a respective unique identifier ( 48 ), each MFSM ( 40 ), in response to a magnetic signal detected by the respective detector ( 46 ) which was transmitted directly from the control device ( 20 ) and which is sent via the antenna ( 14 ), producing a respective data signal ( 44 ), the respective data signal ( 44 ) is dependent, at least, on the strength of the magnetic signal as determined by the detector ( 46 ), and includes said unique identifier ( 48 ), and a communication arrangement ( 60 ), for transmitting said data signals ( 44 ) from respective transmitters ( 42 ) of said MFSMs ( 40 ) to a data collection point ( 21 ) thereby to allow for assessment of the reliability of the magnetic signal transmitted from the control device ( 20 ) to the detonator assemblies ( 26 ).
Google Patents
https://patents.google.com/patent/US12474149
USPTO PDF
https://image-ppubs.uspto.gov/dirsearch-public/print/downloadPdf/12474149