US12465093 - Uniform kits and methods thereof

The patent describes a customizable vest cover kit that includes separate components such as front and back covers, linings, epaulets, and side straps, allowing users to personalize their vests. Each lining features pre-installed closure mechanisms for inserting additional inserts, enhancing the vest’s functionality and adaptability.
Claim 1
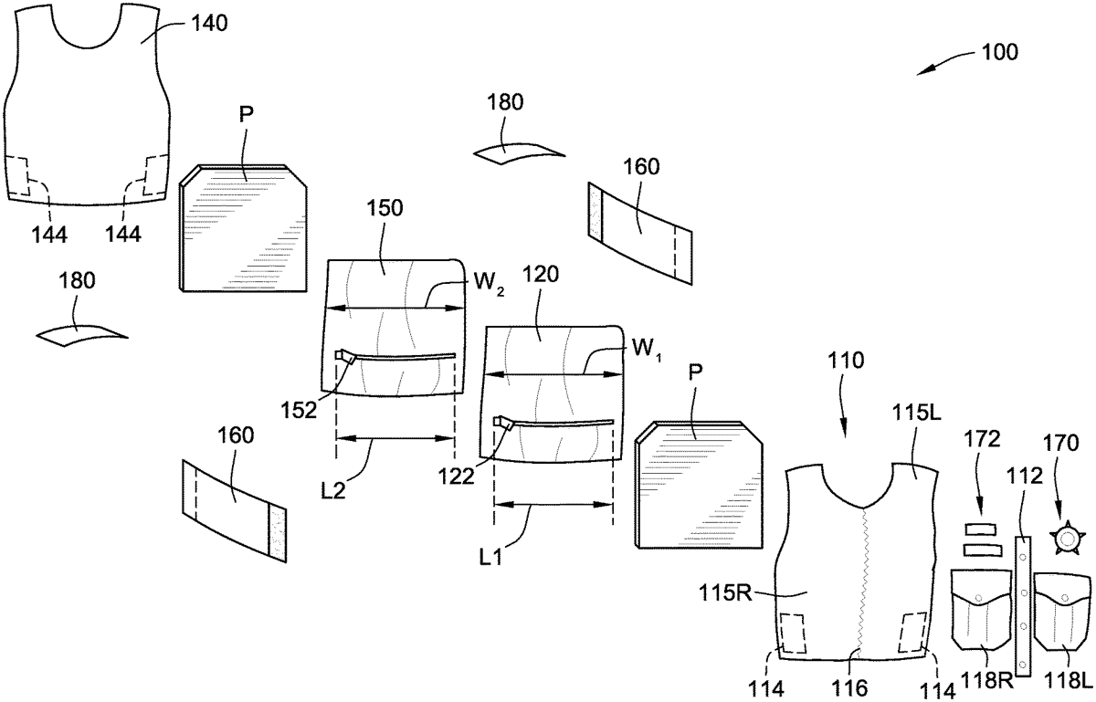
1 . A vest cover kit for making a customizable vest cover, the vest cover kit comprising: a front cover configured to cover at least a portion of a user’s chest, the front cover having at least one pre-installed internal pocket; a front lining configured to be coupled to an inner surface of the front cover, the front lining being a unitary piece of fabric, the front lining including a first pre-installed closure mechanism, the first pre-installed closure mechanism defining a first opening, wherein a length of the first opening is less than a width of the front lining, wherein the first pre-installed closure mechanism extends substantially horizontally across the front lining such that the first pre-installed closure mechanism divides the front lining into an upper portion and a lower portion, wherein the first pre-installed closure mechanism allows for insertion of a first insert when the front lining is coupled to the inner surface of the front cover, wherein a top edge of the front lining is coupled to the inner surface of the front cover above the first insert and a bottom edge of the front lining is coupled to the inner surface of the front cover below the first insert when the first insert is inserted through the first pre-installed closure mechanism; a back cover configured to cover at least a portion of the user’s back; a back lining configured to be coupled to an inner surface of the back cover, the back lining being a unitary piece of fabric, the back lining including a second pre-installed closure mechanism, the second pre-installed closure mechanism defining a second opening, wherein a length of the second opening is less than a width of the back lining, wherein the second pre-installed closure mechanism extends substantially horizontally across the back lining such that the second pre-installed closure mechanism divides the back lining into an upper portion and a lower portion, wherein the second pre-installed closure mechanism allows for insertion of a second insert when the back lining is coupled to the inner surface of the back cover, wherein a top edge of the back lining is coupled to the inner surface of the back cover above the second insert and a bottom edge of the back lining is coupled to the inner surface of the back cover below the second insert when the second insert is inserted through the second pre-installed closure mechanism; a pair of epaulets configured to be secured to one or more of the front cover and the back cover; and at least one side strap, wherein the at least one side strap is configured to be removably secured to the front cover and the back cover to secure the customizable vest cover on the user; wherein the front cover, the front lining, the back cover, the back lining, the pair of epaulets, and the at least one side strap are provided as separate pieces in the vest cover kit. a front cover configured to cover at least a portion of a user’s chest, the front cover having at least one pre-installed internal pocket; a front lining configured to be coupled to an inner surface of the front cover, the front lining being a unitary piece of fabric, the front lining including a first pre-installed closure mechanism, the first pre-installed closure mechanism defining a first opening, wherein a length of the first opening is less than a width of the front lining, wherein the first pre-installed closure mechanism extends substantially horizontally across the front lining such that the first pre-installed closure mechanism divides the front lining into an upper portion and a lower portion, wherein the first pre-installed closure mechanism allows for insertion of a first insert when the front lining is coupled to the inner surface of the front cover, wherein a top edge of the front lining is coupled to the inner surface of the front cover above the first insert and a bottom edge of the front lining is coupled to the inner surface of the front cover below the first insert when the first insert is inserted through the first pre-installed closure mechanism; a back cover configured to cover at least a portion of the user’s back; a back lining configured to be coupled to an inner surface of the back cover, the back lining being a unitary piece of fabric, the back lining including a second pre-installed closure mechanism, the second pre-installed closure mechanism defining a second opening, wherein a length of the second opening is less than a width of the back lining, wherein the second pre-installed closure mechanism extends substantially horizontally across the back lining such that the second pre-installed closure mechanism divides the back lining into an upper portion and a lower portion, wherein the second pre-installed closure mechanism allows for insertion of a second insert when the back lining is coupled to the inner surface of the back cover, wherein a top edge of the back lining is coupled to the inner surface of the back cover above the second insert and a bottom edge of the back lining is coupled to the inner surface of the back cover below the second insert when the second insert is inserted through the second pre-installed closure mechanism; a pair of epaulets configured to be secured to one or more of the front cover and the back cover; and at least one side strap, wherein the at least one side strap is configured to be removably secured to the front cover and the back cover to secure the customizable vest cover on the user; wherein the front cover, the front lining, the back cover, the back lining, the pair of epaulets, and the at least one side strap are provided as separate pieces in the vest cover kit.
Google Patents
https://patents.google.com/patent/US12465093
USPTO PDF
https://image-ppubs.uspto.gov/dirsearch-public/print/downloadPdf/12465093