US12465030 - Speargun for underwater fishing

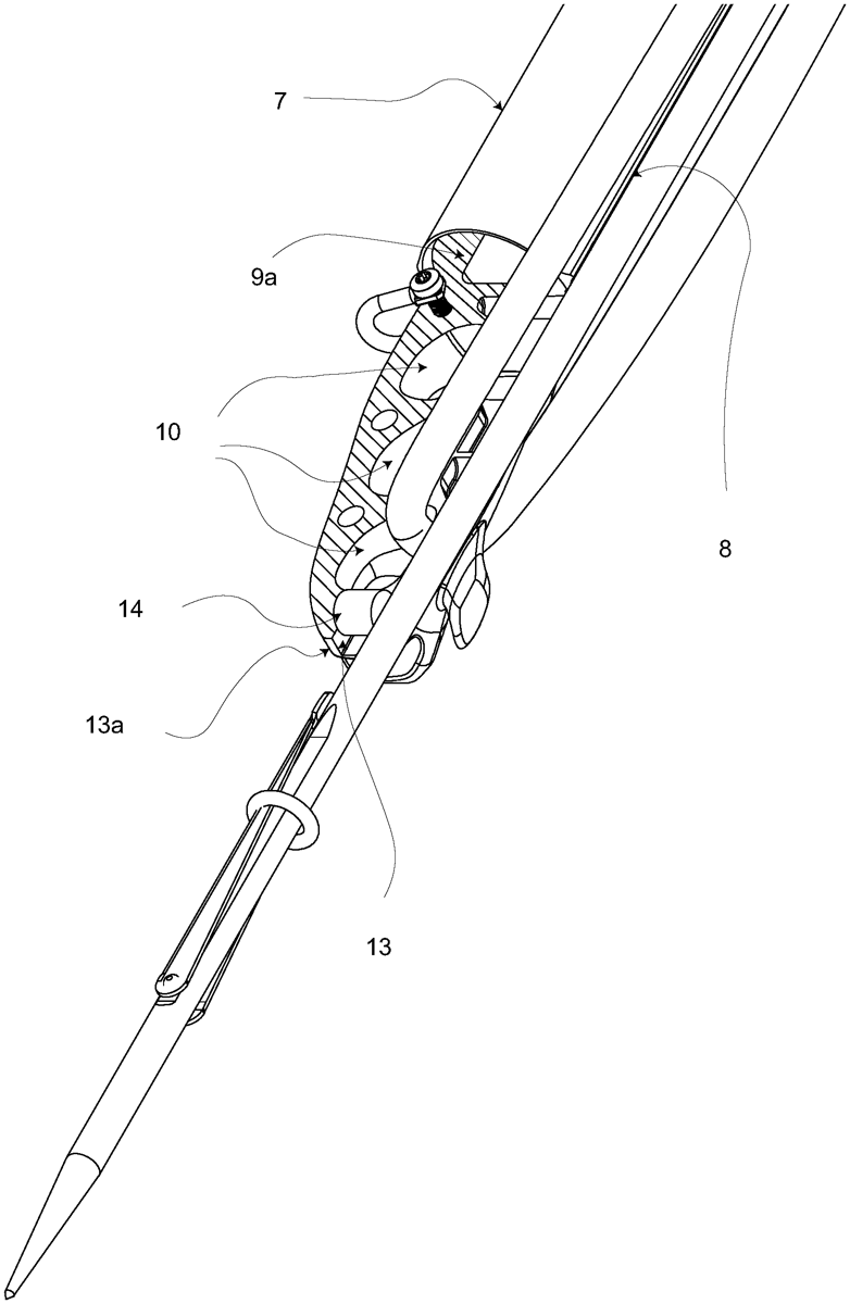
The patent describes a speargun designed for underwater fishing, featuring a metal spear with engagement heels, a hand grip with a trigger mechanism, and a barrel that supports the spear while utilizing rubber bands for propulsion. Additionally, the terminal head includes a permanent magnet to attract the spear and lateral guiding projections to enhance stability during operation.
Claim 1
- A speargun for underwater fishing comprising a metal spear provided with one or more engagement heels, a hand grip having a retaining mechanism retaining said spear—and provided with a trigger—releasing said spear, a barrel formed by a tubular element and having an upper longitudinal guide that slidingly supports said spear, and a terminal head engaging at least one rubber band providing the propulsive thrust of the spear, said terminal head comprising a rear end connecting to said barrel, a front end with a front recess where at least one permanent magnet attracting said spear is positioned, and two lateral guiding projections extending vertically above the terminal head and above opposite longitudinal edges of the upper longitudinal guide, wherein said terminal head comprises a plurality of holes engaging corresponding circular rubber bands providing the propulsive thrust of the spear, said holes being interposed between said rear end of said head and said permanent magnet, wherein each lateral guiding projection is substantially L-shaped, having a vertical leg extending upwardly above the spear’s topmost surface when positioned in the speargun, and a horizontal leg extending outwardly away from a central longitudinal axis of the speargun; wherein each lateral guiding projection is aligned along an axial extension of a corresponding edge of the opposite longitudinal edges of the upper longitudinal guide; wherein each lateral guiding projection is closest to the front end than the rear end of the terminal head; and wherein each lateral guiding projection is in a backward position than the permanent magnet. a terminal head engaging at least one rubber band providing the propulsive thrust of the spear, said terminal head comprising a rear end connecting to said barrel, a front end with a front recess where at least one permanent magnet attracting said spear is positioned, and two lateral guiding projections extending vertically above the terminal head and above opposite longitudinal edges of the upper longitudinal guide, wherein said terminal head comprises a plurality of holes engaging corresponding circular rubber bands providing the propulsive thrust of the spear, said holes being interposed between said rear end of said head and said permanent magnet, wherein each lateral guiding projection is substantially L-shaped, having a vertical leg extending upwardly above the spear’s topmost surface when positioned in the speargun, and a horizontal leg extending outwardly away from a central longitudinal axis of the speargun; wherein each lateral guiding projection is aligned along an axial extension of a corresponding edge of the opposite longitudinal edges of the upper longitudinal guide; wherein each lateral guiding projection is closest to the front end than the rear end of the terminal head; and wherein each lateral guiding projection is in a backward position than the permanent magnet.
Google Patents
https://patents.google.com/patent/US12465030
USPTO PDF
https://image-ppubs.uspto.gov/dirsearch-public/print/downloadPdf/12465030