US12372333 - Inflatable ballistic shield device

The patent describes an inflatable ballistic shield device that features multiple ballistic panels and an inflatable bladder, allowing it to be compactly stored when not in use. Upon inflation, the device rapidly transforms into a rigid shield, enhancing its protective capabilities.
Claim 1
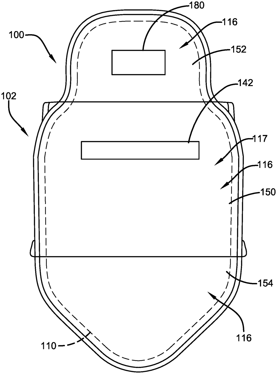
- An inflatable ballistic shield device comprising: a body comprised of a front surface and a rear surface comprised of a strap; a shield ballistic insert sandwiched within the body between the front and rear surfaces; and an inflatable bladder comprised of a valve; and wherein the bladder is sandwiched within the body between the front and rear surfaces and behind the shield ballistic insert; and wherein the front surface of the body comprises a magnetic fastener. a body comprised of a front surface and a rear surface comprised of a strap; a shield ballistic insert sandwiched within the body between the front and rear surfaces; and an inflatable bladder comprised of a valve; and wherein the bladder is sandwiched within the body between the front and rear surfaces and behind the shield ballistic insert; and wherein the front surface of the body comprises a magnetic fastener.
Google Patents
https://patents.google.com/patent/US12372333
USPTO PDF
https://image-ppubs.uspto.gov/dirsearch-public/print/downloadPdf/12372333