US12372332 - Additively manufactured armor and method for making the same

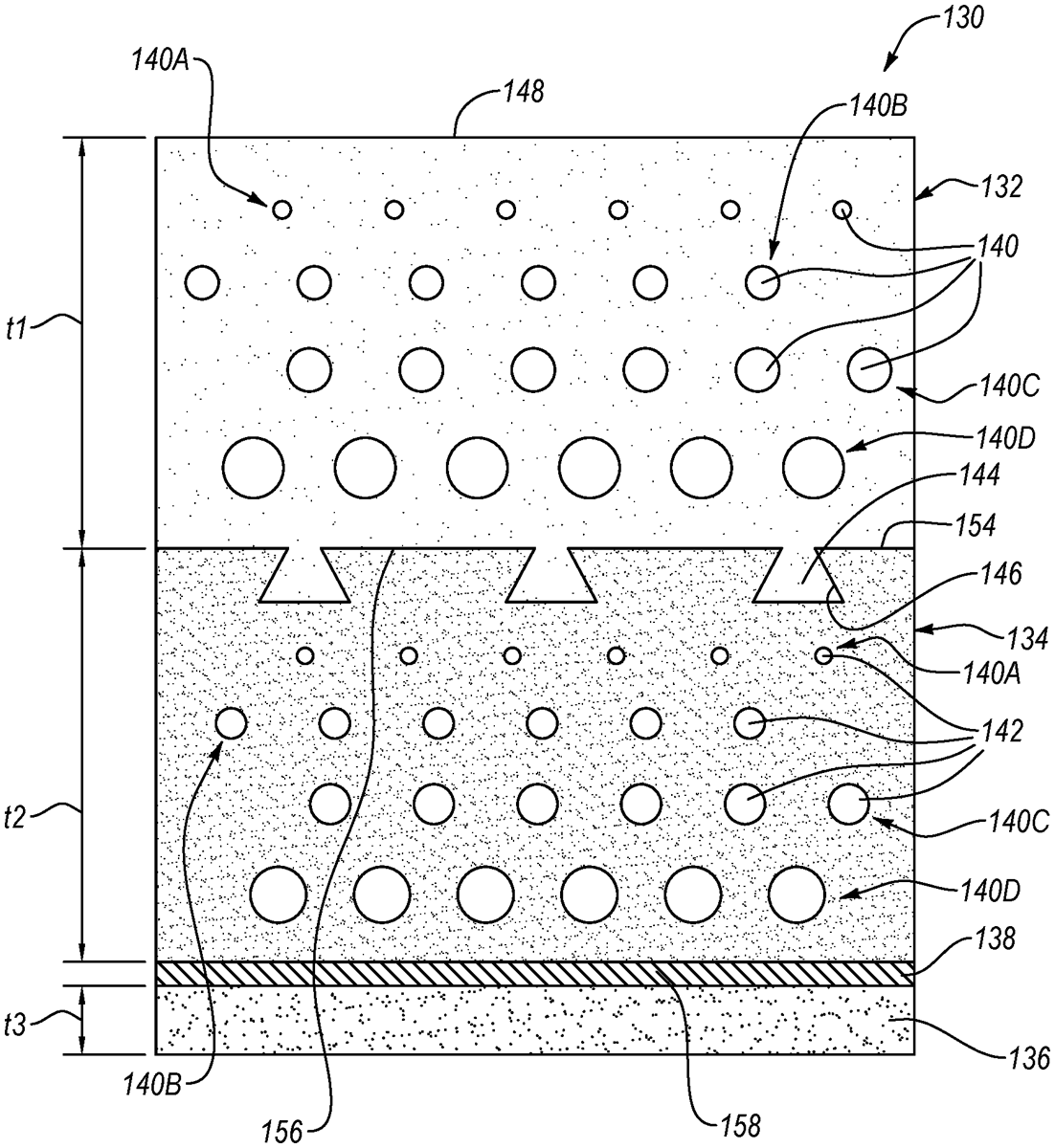
The patent describes a multi-layered ballistic armor made through additive manufacturing, consisting of a metal layer with mechanical interconnection features and a ceramic layer that interconnects with the metal layer. Both layers have varying densities due to strategically placed pores, enhancing their ballistic performance.
Claim 1
- A ballistic armor comprising: a metal layer, comprising: first mechanical interconnection features; and a plurality of first pores; and a ceramic layer, comprising: second mechanical interconnection features, configured to mechanically interconnect with the first mechanical interconnection features; and a plurality of second pores; wherein: the plurality of first pores is configured such that a density of the metal layer varies across a thickness of the metal layer; and the plurality of second pores is configured such that a density of the ceramic layer varies across a thickness of the ceramic layer. a metal layer, comprising: first mechanical interconnection features; and a plurality of first pores; and first mechanical interconnection features; and a plurality of first pores; and a ceramic layer, comprising: second mechanical interconnection features, configured to mechanically interconnect with the first mechanical interconnection features; and a plurality of second pores; second mechanical interconnection features, configured to mechanically interconnect with the first mechanical interconnection features; and a plurality of second pores; wherein: the plurality of first pores is configured such that a density of the metal layer varies across a thickness of the metal layer; and the plurality of second pores is configured such that a density of the ceramic layer varies across a thickness of the ceramic layer. the plurality of first pores is configured such that a density of the metal layer varies across a thickness of the metal layer; and the plurality of second pores is configured such that a density of the ceramic layer varies across a thickness of the ceramic layer.
Google Patents
https://patents.google.com/patent/US12372332
USPTO PDF
https://image-ppubs.uspto.gov/dirsearch-public/print/downloadPdf/12372332