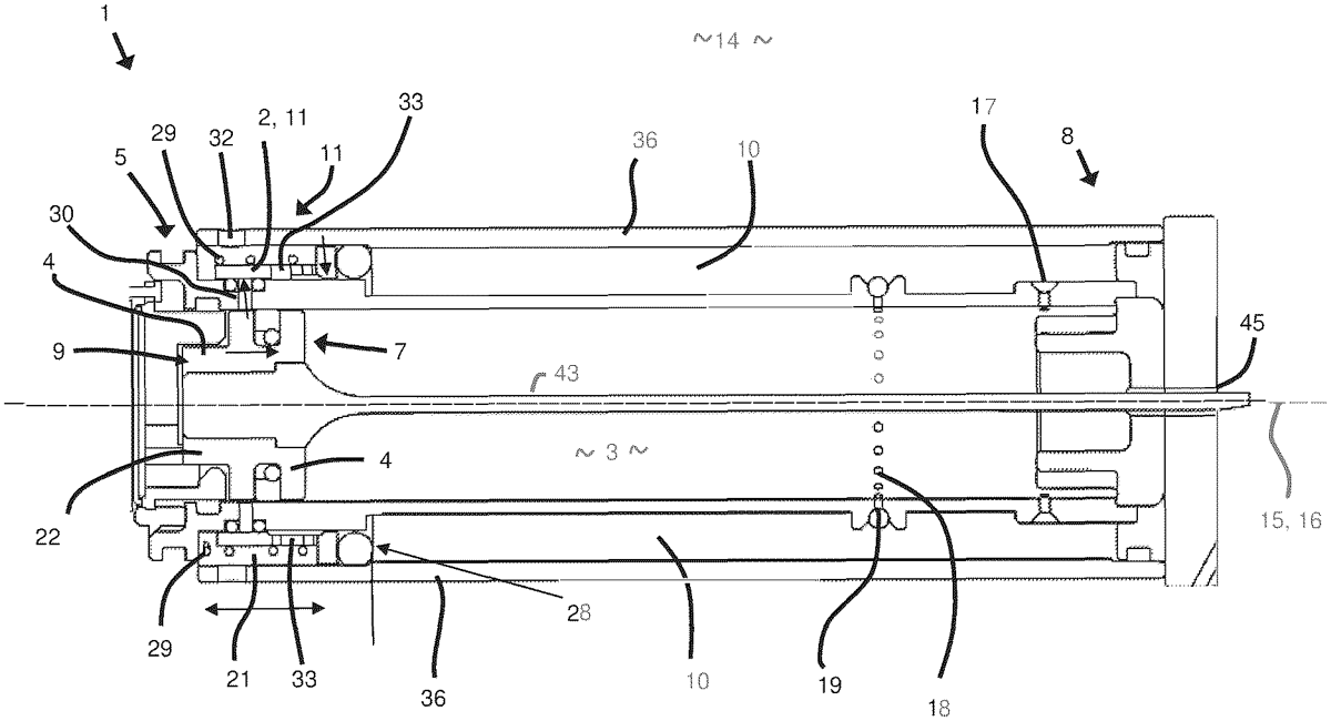
US12365070 - Exhaust valves for pressurised fluid operated devices

The patent describes a device featuring an exhaust valve that operates using pressurized fluid to manage the movement of a workload within a working chamber. This device includes mechanisms to reduce pressure buildup on the rear surface of the workload, allowing for efficient operation as the workload is propelled between two ends of the chamber.
Claim 1
- A device including an exhaust valve, that operates on a pressurised working fluid, comprising: a working chamber, defined at least in part by a side wall, which working chamber can hold a workload to or toward a first end thereof, the working chamber to receive the working fluid to act on a rear surface of the workload to propel the workload to or towards a second end, opposite the first, of the working chamber; a return chamber to receive fluid under pressure from a front surface of the workload, the pressure developed at least in part by the movement of the workload towards the second end; and an exhaust valve fluidly connected to the return chamber, the exhaust valve normally biased closed preventing working fluid from exiting the working chamber, but on receipt of, and action by, the fluid under pressure from the return chamber, will open to allow the working fluid to exhaust the working chamber to a lower pressure location, the working fluid exhausting via the side wall of the working chamber through to the exhaust valve, wherein the device provided removes or reduces pressure building on the rear surface of the workload when moved from the second end to the first end. a working chamber, defined at least in part by a side wall, which working chamber can hold a workload to or toward a first end thereof, the working chamber to receive the working fluid to act on a rear surface of the workload to propel the workload to or towards a second end, opposite the first, of the working chamber; a return chamber to receive fluid under pressure from a front surface of the workload, the pressure developed at least in part by the movement of the workload towards the second end; and an exhaust valve fluidly connected to the return chamber, the exhaust valve normally biased closed preventing working fluid from exiting the working chamber, but on receipt of, and action by, the fluid under pressure from the return chamber, will open to allow the working fluid to exhaust the working chamber to a lower pressure location, the working fluid exhausting via the side wall of the working chamber through to the exhaust valve, wherein the device provided removes or reduces pressure building on the rear surface of the workload when moved from the second end to the first end.
Google Patents
https://patents.google.com/patent/US12365070
USPTO PDF
https://image-ppubs.uspto.gov/dirsearch-public/print/downloadPdf/12365070