US12364947 - Aeration rod

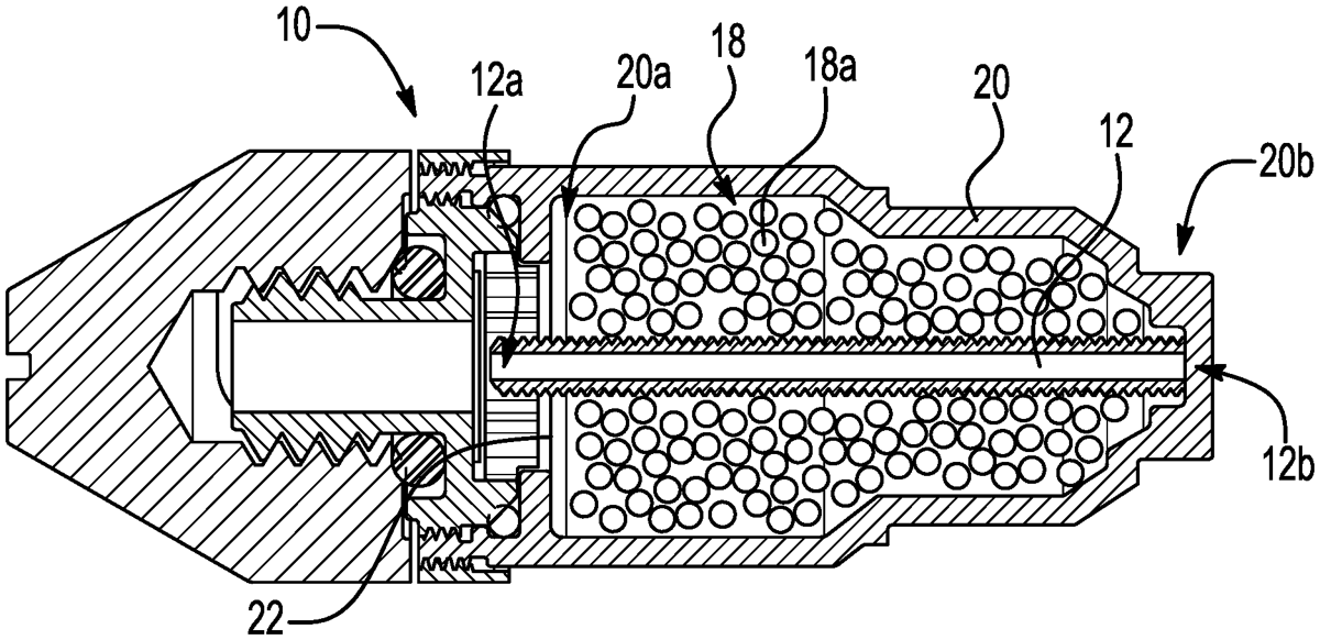
The aeration assembly features an aeration rod with longitudinal grooves designed to distribute air to an adjacent air-activated material. This configuration enhances the efficiency of air distribution along the rod’s length.
Claim 1
- An aeration assembly, comprising: an aeration rod extending along a longitudinal axis between a first end and a second end and having a plurality of longitudinal grooves extending along the longitudinal axis from the first end at least partially to the second end around at least a portion of a circumference of the aeration rod; and an air-activated material adjacent the aeration rod at least along the plurality of longitudinal grooves; wherein the plurality of longitudinal grooves are configured to distribute air from the first end of the aeration rod to the air-activated material adjacent the aeration rod. an aeration rod extending along a longitudinal axis between a first end and a second end and having a plurality of longitudinal grooves extending along the longitudinal axis from the first end at least partially to the second end around at least a portion of a circumference of the aeration rod; and an air-activated material adjacent the aeration rod at least along the plurality of longitudinal grooves; wherein the plurality of longitudinal grooves are configured to distribute air from the first end of the aeration rod to the air-activated material adjacent the aeration rod.
Google Patents
https://patents.google.com/patent/US12364947
USPTO PDF
https://image-ppubs.uspto.gov/dirsearch-public/print/downloadPdf/12364947