US12305958 - Illuminated sighting system

firearmsightingillumination
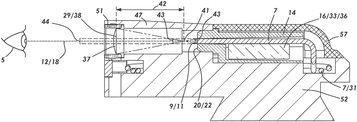
The patent describes an illuminated sighting system for firearms that utilizes two light conductive members to provide visual indicators for alignment and misalignment with a target. The system includes a lens that is positioned axially apart from the viewing ends of both light conductive members, enhancing the aiming process.
Claim 1
- An illuminated sighting system for a firearm, comprising: a first light conductive member having a first light conductive member first end which provides a first light conductive member viewing end; said first light conductive member configured to (i) receive light from one or more light sources, and (ii) transmit at least a portion of said light internally toward said first light conductive member viewing end for emission as a first amount of emitted light which provides a first viewable aiming indicium that indicates alignment of said firearm with a target; a second light conductive member having a second light conductive member first end which provides a second light conductive member viewing end; said second light conductive member configured to (i) receive light from one or more light sources, and (ii) transmit at least a portion of said light internally toward said second light conductive member viewing end for emission as a second amount of emitted light which provides a second viewable aiming indicium that indicates misalignment of said firearm with said target; wherein said second light conductive member viewing end disposes about said first light conductive member viewing end; and a lens operably coupled to said first and second light conductive member viewing ends; wherein said lens disposes in axially spaced-apart relation to said first and second light conductive member viewing ends. a first light conductive member having a first light conductive member first end which provides a first light conductive member viewing end; said first light conductive member configured to (i) receive light from one or more light sources, and (ii) transmit at least a portion of said light internally toward said first light conductive member viewing end for emission as a first amount of emitted light which provides a first viewable aiming indicium that indicates alignment of said firearm with a target; a second light conductive member having a second light conductive member first end which provides a second light conductive member viewing end; said second light conductive member configured to (i) receive light from one or more light sources, and (ii) transmit at least a portion of said light internally toward said second light conductive member viewing end for emission as a second amount of emitted light which provides a second viewable aiming indicium that indicates misalignment of said firearm with said target; wherein said second light conductive member viewing end disposes about said first light conductive member viewing end; and a lens operably coupled to said first and second light conductive member viewing ends; wherein said lens disposes in axially spaced-apart relation to said first and second light conductive member viewing ends.
Google Patents
https://patents.google.com/patent/US12305958
USPTO PDF
https://image-ppubs.uspto.gov/dirsearch-public/print/downloadPdf/12305958