US12305957 - Aiming apparatus

aimingsightfirearm
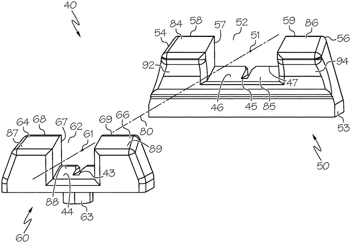
The patent describes an aiming apparatus for shooting devices, consisting of two aligned bodies each featuring sight windows and central indicators to enhance aiming precision. The design includes specific dimensions and angles for the sight windows and channels, optimizing the user’s line of sight towards the muzzle.
Claim 1
- An apparatus comprising: a shooting device comprising a muzzle, a front and a rear, the muzzle located at the front; a first body and a second body attached to the device, the first body and the second body aligned upon an axis; the first body comprising a first base, a first raised portion and a second raised portion, the first base comprising a first base upper surface and a first base edge, the first raised portion comprising a first side edge, the second raised portion comprising a second side edge; a first sight window defined by the first side edge, the second side edge, and the first base edge; the first body comprising a first central indicator comprising a first channel extending into the first base edge, the first channel centered across a width of the first sight window; the second body comprising a second base, a third raised portion and a fourth raised portion, the second base comprising a second base edge, the third raised portion comprising a third side edge, the fourth raised portion comprising a fourth side edge; a second sight window defined by the third side edge, the fourth side edge, and the second base edge; the second body comprising a second central indicator comprising a second channel extending into the second base edge, the second channel centered across a width of the second sight window; the axis extending through a center of the first sight window and a center of the second sight window, wherein a width of the first channel is less than ⅓ of the width of the first sight window and wherein the first base upper surface declines in angle away from the axis from the first base edge towards the muzzle. a shooting device comprising a muzzle, a front and a rear, the muzzle located at the front; a first body and a second body attached to the device, the first body and the second body aligned upon an axis; the first body comprising a first base, a first raised portion and a second raised portion, the first base comprising a first base upper surface and a first base edge, the first raised portion comprising a first side edge, the second raised portion comprising a second side edge; a first sight window defined by the first side edge, the second side edge, and the first base edge; the first body comprising a first central indicator comprising a first channel extending into the first base edge, the first channel centered across a width of the first sight window; the second body comprising a second base, a third raised portion and a fourth raised portion, the second base comprising a second base edge, the third raised portion comprising a third side edge, the fourth raised portion comprising a fourth side edge; a second sight window defined by the third side edge, the fourth side edge, and the second base edge; the second body comprising a second central indicator comprising a second channel extending into the second base edge, the second channel centered across a width of the second sight window; the axis extending through a center of the first sight window and a center of the second sight window, wherein a width of the first channel is less than ⅓ of the width of the first sight window and wherein the first base upper surface declines in angle away from the axis from the first base edge towards the muzzle.
Google Patents
https://patents.google.com/patent/US12305957
USPTO PDF
https://image-ppubs.uspto.gov/dirsearch-public/print/downloadPdf/12305957